siete capaci :
0) a capire come funziona (o dovrebbe funzionare)
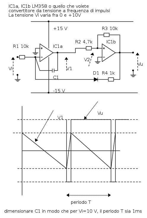
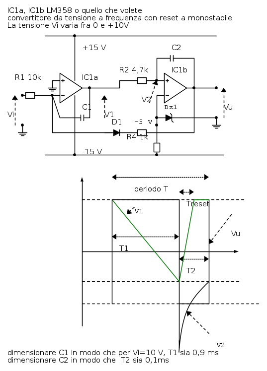
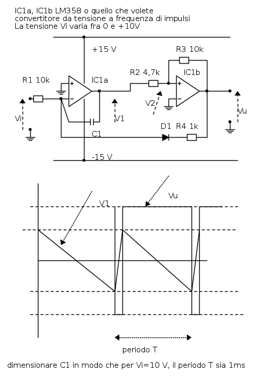
1) a dimensionare C1 in modo che per Vi = 10 V la frequenza in uscita sia di 1 kHz
2) individuare i valori numerici delle forme d'onda V1 ,V2, Vu
2) a simulare il tutto per vertificare il funzionamento (non è detto che funzioni)
3) magari a costruire (montare) il circuito su una breadboard per vefificare se effettivamente funziona
come progettato.
(Magari prima di montarlo discutiamo come semplifcarlo alimentandolo con una sola tensione)

Elettrotecnica e non solo (admin)
Un gatto tra gli elettroni (IsidoroKZ)
Esperienza e simulazioni (g.schgor)
Moleskine di un idraulico (RenzoDF)
Il Blog di ElectroYou (webmaster)
Idee microcontrollate (TardoFreak)
PICcoli grandi PICMicro (Paolino)
Il blog elettrico di carloc (carloc)
DirtEYblooog (dirtydeeds)
Di tutto... un po' (jordan20)
AK47 (lillo)
Esperienze elettroniche (marco438)
Telecomunicazioni musicali (clavicordo)
Automazione ed Elettronica (gustavo)
Direttive per la sicurezza (ErnestoCappelletti)
EYnfo dall'Alaska (mir)
Apriamo il quadro! (attilio)
H7-25 (asdf)
Passione Elettrica (massimob)
Elettroni a spasso (guidob)
Bloguerra (guerra)








L'altro valore +7,05 V.








