venexian ha scritto:Nel ramo principale cosa passa? Continua, alternata? A che frequenza? Con che corrente? Che dinamica Vmax/Vmin?
Continua, la dinamica e i valori delle correnti nelle resistenze ancora non la so, devo dimensionare ancora.
Ora mi ci metto a pensare.
venexian ha scritto:Che settling time serve dal cambiamento della corrente di controllo?
Diciamo che per ora non mi servono requisiti stringenti sulla velocità.
venexian ha scritto:Che dinamica ha la resistenza controllata? Rmax/Rmin?
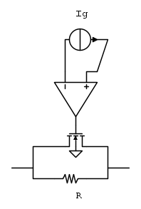
Avendo in mente il circuito in [11], l'ideale potrebbe essere da 0 a R, quindi nella realtà quanto più il MOS riesce a farla scendere, il che significherebbe scegliere un valore minimo scaricando la dipendenza sui parametri del transistor (non so quanto sia giusto fare questo, forse non lo è affatto). Ad ogni modo, la resistenza offerta dal MOS in triodo sarebbe (per

) questa:

, con

.
venexian ha scritto:Che precisione (generale, compresa accuratezza, isteresi ecc.)?
Non so rispondere per adesso a questa domanda, sto ancora nella fase "vediamo se questo circuito in teoria funziona".
venexian ha scritto:Pezzo singolo o produzione?
Non devo realizzarlo, per adesso.
Nel circuito comunque, di queste resistenze controllate ce ne saranno tante e non una sola.
MarcoD ha scritto:Si comanda da un uC tramite bus SPI.
Marco quanto sarebbe attuabile una scelta come questa con, ad esempio, centinaia di questi elementi in un solo circuito?
elfo ha scritto:Se utilizzi un VCA...
Nello schema che mi hai proposto serve comunque l'amplificatore di transresistenza per farlo funzionare in corrente, giusto?
MarcoD ha scritto:Mi limito a ridisegnare lo schema elettrico di lanero in modo un poco più approfondito (forse quasi funzionante) Nello schema ho lasciato lo schema del MOS a 4 piedini ( non sono solo tre?)
L'ho usato a 4 terminali poiché il Source non sarà in generale connesso al riferimento e in più così facendo il MOS non dovrebbe distinguere la polarità della tensione tra Source e Drain. Ad ogni modo questo problema si dovrebbe risolvere con il consiglio di Bruno.
MarcoD ha scritto:l'operazionale
Nello schema in [15] quello è veramente un operazionale o sempre un transresistenza?