Cos'è ElectroYou | Login Iscriviti

ElectroYou - la comunità dei professionisti del mondo elettrico

Valvole doppio triodo Nutube 6P1 17 Pin

Elettronica lineare e digitale: didattica ed applicazioni

Moderatori: Foto Utentecarloc, Foto Utenteg.schgor, Foto UtenteBrunoValente, Foto UtenteIsidoroKZ

1
voti

[11] Re: Valvole doppio triodo Nutube 6P1 17 Pin

Messaggioda Foto UtenteBrunoValente » 26 gen 2024, 15:10

ThEnGi ha scritto:Gli amplificatori misti (pre Valvola + finale solido) che trovi su aliexpress sono una trappola per allodole ?

Ma dipende da cosa vuoi: se sei interessato solo alla qualità audio e se per qualità audio intendi "segnale di uscita con minima distorsione" cioè praticamente identico al segnale in ingresso e non sei uno che si lascia suggestionare dal contorno estetico allora direi che quegli amplificatori non vanno bene, se invece sei disposto a tollerare una qualità del segnale di uscita non eccelsa, che spesso non significa che sia facilmente distinguibile da una eccelsa, e sei attratto dall'innegabile fascino delle valvole come lo siamo un po' tutti, allora quegli amplificatori vanno bene... credo che l'importante sia essere consapevoli di come stanno le cose senza lasciarsi condizionare.
Se siano specchietti per le allodole o meno non lo so, non li conosco ma certamente se vengono descritti come amplificatori dal suono paradisiaco allora sono destinati a chi non è consapevole di cosa sia un amplificatore ma ciò non toglie che una persona consapevole li possa comunque acquistare perché, oltre a suonare dignitosamente o quasi, sono molto belli... se è vero che lo sono... ma bello non è oggettivo, è bello quel che piace, la distorsione invece è misurabile quindi oggettiva, non dipende dai gusti
Avatar utente
Foto UtenteBrunoValente
39,6k 7 11 13
G.Master EY
G.Master EY
 
Messaggi: 7796
Iscritto il: 8 mag 2007, 14:48

0
voti

[12] Re: Valvole doppio triodo Nutube 6P1 17 Pin

Messaggioda Foto Utentestandardoil » 26 gen 2024, 15:26

Io sbaglierò di certo
Ma secondo me il "bel suono caldo delle valvole" è dato dal finale, non dal pre

Anche perché si tratta (come già detto) di distorsione
E non è il pre che distorce (salvo effetti voluti dall'esecutore, in quel caso comunque non è distorsione, ma post-trattamento)
Avatar utente
Foto Utentestandardoil
547 2 4
Stabilizzato
Stabilizzato
 
Messaggi: 424
Iscritto il: 15 lug 2022, 19:14

0
voti

[13] Re: Valvole doppio triodo Nutube 6P1 17 Pin

Messaggioda Foto Utentegianniniivo » 26 gen 2024, 22:42

Credevo che questo thread fosse finito nel dimenticatoio invece è ancora attivo. :D
Avatar utente
Foto Utentegianniniivo
9.045 7 11 13
No Rank
 
Messaggi: 2875
Iscritto il: 5 feb 2019, 23:50

2
voti

[14] Re: Valvole doppio triodo Nutube 6P1 17 Pin

Messaggioda Foto UtenteIsidoroKZ » 28 feb 2024, 8:40

Mentre stavo cercando altra roba, sono finito su questo articolo che illustra in dettaglio un amplificatore realizzato con questo componente. Ovviamente valgono sempre tutte le riserve espresse da Foto UtenteBrunoValente!
Per usare proficuamente un simulatore, bisogna sapere molta più elettronica di lui
Plug it in - it works better!
Il 555 sta all'elettronica come Arduino all'informatica! (entrambi loro malgrado)
Se volete risposte rispondete a tutte le mie domande
Avatar utente
Foto UtenteIsidoroKZ
121,2k 1 3 8
G.Master EY
G.Master EY
 
Messaggi: 21059
Iscritto il: 17 ott 2009, 0:00

1
voti

[15] Re: Valvole doppio triodo Nutube 6P1 17 Pin

Messaggioda Foto UtenteKagliostro » 7 mar 2024, 16:51

Per chi volesse ulteriormente mischiare le carte in tavola e complicare le idee a qualcuno :mrgreen: ;-)

https://www.chipsetc.com/the-fetron.html

http://www.philbrickarchive.org/fetron,%20solid%20state%20vacuum%20tube%20replacement%20teledyne.pdf

https://www.worldphaco.com/uploads/WORLDFETRON.pdf

https://www.qsl.net/kh6grt/page4/tubesters/Fsht7.pdf

---

pl802.png
pl802.png (3.5 KiB) Osservato 2077 volte


pl802t.png
pl802t.png (15.31 KiB) Osservato 2077 volte


---

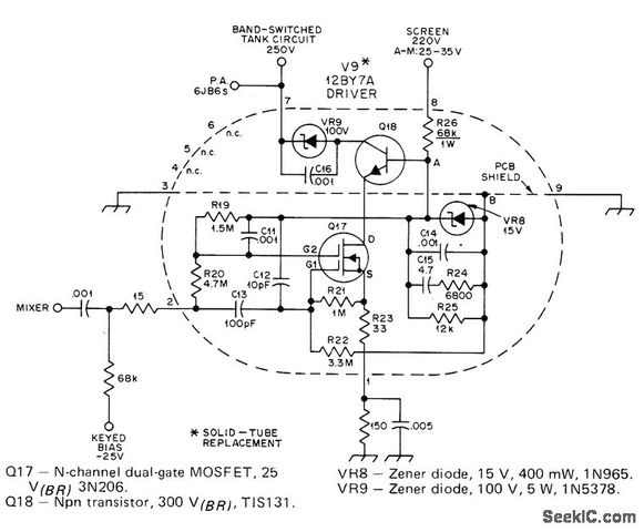
12 BY7 A.jpg
12 BY7 A.jpg (40.07 KiB) Osservato 2077 volte


BIG_0010600549.jpg



K
Avatar utente
Foto UtenteKagliostro
6.396 4 5 7
Master
Master
 
Messaggi: 4832
Iscritto il: 19 set 2012, 11:32

2
voti

[16] Re: Valvole doppio triodo Nutube 6P1 17 Pin

Messaggioda Foto Utenteclaudiocedrone » 8 mar 2024, 0:03

Nel pl802t a che serve il resistore da 56 ohm nei pin del filamento :?: ...
Ah ci sono :idea: a riscaldare i due transistor per ottenere lo stesso suono caldo della valvola!
"Non farei mai parte di un club che accettasse la mia iscrizione" (G. Marx)
Avatar utente
Foto Utenteclaudiocedrone
21,3k 4 7 9
Master EY
Master EY
 
Messaggi: 15303
Iscritto il: 18 gen 2012, 13:36

Precedente

Torna a Elettronica generale

Chi c’è in linea

Visitano il forum: Nessuno e 41 ospiti