Ciao a tutti,
sto girovagando per la rete in cerca di sensori ad effetto Hall e ne ho trovato un modello abbastanza singolare: sensore Hall.
Da quanto ho per il momento capito non sarebbe richiesto alcun nucleo ma soltanto due piazzole di connessione sul PCB dal quale far passare il ramo di potenza, mi sembra una buona alternativa, se non altro non sarebbero richieste tarature o studi particolari...... Cosa ne dite ?
David
Progetto elettroutensile a batteria
Moderatori:
carloc,
g.schgor,
BrunoValente,
IsidoroKZ
1
voti
non è richiesto un nucleo aggiuntivo esterno, in linea di massima i parametri di questo componente sono affini al mio progetto.
Un grosso limite che ho riscontrato nella selezione del più idoneo sensore di Hall è la tensione di alimentazione; nel mio caso è di soli 3,3V e di modelli che scendono al di sotto dei 5V ce ne sono veramente pochi; questo componente invece può essere alimentato fino a 3V e quindi sembra avere tutti i presupposti per essere impiegato..... questa sera studio bene il datasheet e se non riscontro controindicazioni ne acquisto alcuni per fare le prove.
Ciao
David
Un grosso limite che ho riscontrato nella selezione del più idoneo sensore di Hall è la tensione di alimentazione; nel mio caso è di soli 3,3V e di modelli che scendono al di sotto dei 5V ce ne sono veramente pochi; questo componente invece può essere alimentato fino a 3V e quindi sembra avere tutti i presupposti per essere impiegato..... questa sera studio bene il datasheet e se non riscontro controindicazioni ne acquisto alcuni per fare le prove.
Ciao
David
1
voti
Ciao a tutti, rieccomi qua con nuove ed interessanti domandine !
Ho radicalmente ricostruito la parte di potenza ed introdotto tante modifiche, vi faccio vedere com' é ora il circuito:
Qui, se interessa, ci cono le immagini più definite.
Le modifiche sono :
1- Il PIC18F24J10 è stato sostituito con il PIC18F2420 che mi permette di alimentare la parte di logica del circuito con una tensione di 5V.
2- Ho deciso di eliminare il relè da 40A (come consigliatomi) e di rimpiazzarlo con un modello più piccolo che si occupa soltanto dell' alimentazione della parte logica. Il ramo di potenza infatti sembra più che affidabile già con un solo mosfet, quando ci sarà anche l' altro dovrei essere al sicuro, vedremo....
3- Il cavo che unisce il circuito al riscaldatore è stato sostituito secondo i vostri consigli, ora c'è un coassiale con 7 conduttori più calza. Per realizzare i due cavi di potenza ho collegato 5 conduttori (da 1,5mm² l' uno) per il positivo, mentre il negativo l' ho realizzato unendo alla calza un conduttore interno per bilanciare le sezioni (la calza soltanto non è sufficiente). In questo modo si ottiene una sezione di circa 6mm² cadauno. Questa è stata la modifica più interessante, la semplice sostituzione del cavo ha completamente stravolto le dinamiche di funzionamento....... non avrei mai pensato potesse essere così determinante!
4- Ho portato la frequenza di switching fino a 50Kz ed ho visto che è eccessiva perché la regolazione del PWM diventa molto grossolana ed i transitori di commutazione troppo influenti. Sono quindi sceso per gradi fino ad arrivare a 20Khz dove la regolazione del PWM è sufficientemente fine e non si sente comunque nessun fischio. A me è sembrata la soluzione migliore.
5- Ho aggiuto un sensore di corrente ad effetto Hall (ACS752SCA-100) con fondoscala a ±100A e sensibilità d' uscita 20 mV/A, a riposo l' uscita è a Valim/2 quindi 2,5V. Sembra funzionare benino ma devo ancora approfondire......
6- Questo è lo schema attuale del ramo di potenza (considerate che dei due mosfet che si vedono nelle foto uno è cortocircuitato tra drain e source quindi non partecipa):
Il circuito così come disegnato ha evidenti problemi, i mosfet autooscillano durante la fase di interdizione e si creano dei picchi molto evidenti e piuttosto difficoltosi da smorzare. Ho provato prima di tutto a tosarli con svariati zener da 5W ma la potenza da dissipare è eccessiva e si distruggono in pochi secondi. Allora sono tornato allo snubber con resistenza condensatore e diodo ma anche questi scaldicchiano e non mi sembrano eccellere.
Il Problema fondamentale è che mi mancano termini di confronto, non riesco a capire se sto esagerando oppure se sbaglio qualcosa. Mi farebbe piacere discuterne con voi ora che la situazione è aggiornata e sono state eliminate tutte le limitazioni della precedente versione.
In poche parole la mia domanda sarebbe questa: di fronte ad un circuito come quello sopra quali sono le soluzioni da adottare per tosare i picchi durante la fase di turn-off e per rendere meno influente il rumore generato dallo switching dei mosfet ? Da dove devo partire con le considerazioni? Il diodo di ricircolo che si vede nello schema attenua il fenomeno ma non a sufficienza. Io per il momento l' ho lasciato lì ma non è detto che debba restarci.
Per il momento non ho aggiunto oscillogrammi per evitare di confondervi e sopratutto perché preferirei capire da voi come si osserva e corregge un circuito del genere.
Come sempre vi ringrazio tanto e vi saluto.... a presto!
David
Ho radicalmente ricostruito la parte di potenza ed introdotto tante modifiche, vi faccio vedere com' é ora il circuito:
Qui, se interessa, ci cono le immagini più definite.
Le modifiche sono :
1- Il PIC18F24J10 è stato sostituito con il PIC18F2420 che mi permette di alimentare la parte di logica del circuito con una tensione di 5V.
2- Ho deciso di eliminare il relè da 40A (come consigliatomi) e di rimpiazzarlo con un modello più piccolo che si occupa soltanto dell' alimentazione della parte logica. Il ramo di potenza infatti sembra più che affidabile già con un solo mosfet, quando ci sarà anche l' altro dovrei essere al sicuro, vedremo....
3- Il cavo che unisce il circuito al riscaldatore è stato sostituito secondo i vostri consigli, ora c'è un coassiale con 7 conduttori più calza. Per realizzare i due cavi di potenza ho collegato 5 conduttori (da 1,5mm² l' uno) per il positivo, mentre il negativo l' ho realizzato unendo alla calza un conduttore interno per bilanciare le sezioni (la calza soltanto non è sufficiente). In questo modo si ottiene una sezione di circa 6mm² cadauno. Questa è stata la modifica più interessante, la semplice sostituzione del cavo ha completamente stravolto le dinamiche di funzionamento....... non avrei mai pensato potesse essere così determinante!
4- Ho portato la frequenza di switching fino a 50Kz ed ho visto che è eccessiva perché la regolazione del PWM diventa molto grossolana ed i transitori di commutazione troppo influenti. Sono quindi sceso per gradi fino ad arrivare a 20Khz dove la regolazione del PWM è sufficientemente fine e non si sente comunque nessun fischio. A me è sembrata la soluzione migliore.
5- Ho aggiuto un sensore di corrente ad effetto Hall (ACS752SCA-100) con fondoscala a ±100A e sensibilità d' uscita 20 mV/A, a riposo l' uscita è a Valim/2 quindi 2,5V. Sembra funzionare benino ma devo ancora approfondire......
6- Questo è lo schema attuale del ramo di potenza (considerate che dei due mosfet che si vedono nelle foto uno è cortocircuitato tra drain e source quindi non partecipa):
Il circuito così come disegnato ha evidenti problemi, i mosfet autooscillano durante la fase di interdizione e si creano dei picchi molto evidenti e piuttosto difficoltosi da smorzare. Ho provato prima di tutto a tosarli con svariati zener da 5W ma la potenza da dissipare è eccessiva e si distruggono in pochi secondi. Allora sono tornato allo snubber con resistenza condensatore e diodo ma anche questi scaldicchiano e non mi sembrano eccellere.
Il Problema fondamentale è che mi mancano termini di confronto, non riesco a capire se sto esagerando oppure se sbaglio qualcosa. Mi farebbe piacere discuterne con voi ora che la situazione è aggiornata e sono state eliminate tutte le limitazioni della precedente versione.
In poche parole la mia domanda sarebbe questa: di fronte ad un circuito come quello sopra quali sono le soluzioni da adottare per tosare i picchi durante la fase di turn-off e per rendere meno influente il rumore generato dallo switching dei mosfet ? Da dove devo partire con le considerazioni? Il diodo di ricircolo che si vede nello schema attenua il fenomeno ma non a sufficienza. Io per il momento l' ho lasciato lì ma non è detto che debba restarci.
Per il momento non ho aggiunto oscillogrammi per evitare di confondervi e sopratutto perché preferirei capire da voi come si osserva e corregge un circuito del genere.
Come sempre vi ringrazio tanto e vi saluto.... a presto!
David
1
voti
Dunque, volevo soltanto dire alcune cose riguardanti il cavo, poi prima di discutere il resto aspettiamo i commenti di Bruno.
Contrariamente a quanto pensavo inizialmente il cavo è essenziale per permettere alla corrente di salire istantaneamente.
Appena finito il circuito avevo collegato il riscaldatore utilizzando due semplici cavi da 10mm², pensavo che il solo aumento di sezione avrebbe sensibilmente migliorato la situazione. Niente di più sbagliato! La corrente saliva ugualmente molto lentamente presentando la stessa curvatura degli oscillogrammi eseguiti con il cavo da 4mm².
Per chiarire il concetto ti posto un paio di misure della corrente nel ramo di potenza effettuate ai capi di uno shunt da 5mohm.
Questa si riferisce alla forma d' onda della corrente quando l' unione tra circuito e riscaldatore è eseguita con cavi da 10mm²:
Questo invece è l' andamento della corrente quando il riscaldatore viene collegato direttamente al circuito (cioè senza cavi):
Visto che roba?...... io ci sono rimasto male!
Attualmente utilizzando il cavo schermato la situazione è buona, la corrente presenta una forma d' onda molto più simile a quella del secondo oscillogramma. Credo che la miglioria sia legata alla riduzione degli elementi parassiti del cavo e forse l' aver frazionato i due conduttori principali in tanti piccoli conduttori ha favorito anche l' attenuazione dell' effetto pelle.
Ora mi chiedo, utilizzando il cavo coassiale non è che peggioro nuovamente le cose, i conduttori rimarrebbero comunque due, uno interno e lo schermo. L' effetto pelle perciò dovrebbe nuovamente tornare a farsi sentire.......
Ciao
David
P.S. Una ultima cosa: la soluzione che ha dato in assoluto i risultati migliori è quella di intrecciare tanti fili di piccola sezione come consigliò Bruno, purtroppo però non la vedo molto adatta a livello produttivo poiché in commercio non ho trovato nulla e quindi bisognerebbe costruirli artigianalmente con tutte le complicazioni (sopratutto economiche) che questo può comportare.
Contrariamente a quanto pensavo inizialmente il cavo è essenziale per permettere alla corrente di salire istantaneamente.
Appena finito il circuito avevo collegato il riscaldatore utilizzando due semplici cavi da 10mm², pensavo che il solo aumento di sezione avrebbe sensibilmente migliorato la situazione. Niente di più sbagliato! La corrente saliva ugualmente molto lentamente presentando la stessa curvatura degli oscillogrammi eseguiti con il cavo da 4mm².
Per chiarire il concetto ti posto un paio di misure della corrente nel ramo di potenza effettuate ai capi di uno shunt da 5mohm.
Questa si riferisce alla forma d' onda della corrente quando l' unione tra circuito e riscaldatore è eseguita con cavi da 10mm²:
Questo invece è l' andamento della corrente quando il riscaldatore viene collegato direttamente al circuito (cioè senza cavi):
Visto che roba?...... io ci sono rimasto male!
Attualmente utilizzando il cavo schermato la situazione è buona, la corrente presenta una forma d' onda molto più simile a quella del secondo oscillogramma. Credo che la miglioria sia legata alla riduzione degli elementi parassiti del cavo e forse l' aver frazionato i due conduttori principali in tanti piccoli conduttori ha favorito anche l' attenuazione dell' effetto pelle.
Ora mi chiedo, utilizzando il cavo coassiale non è che peggioro nuovamente le cose, i conduttori rimarrebbero comunque due, uno interno e lo schermo. L' effetto pelle perciò dovrebbe nuovamente tornare a farsi sentire.......
Ciao
David
P.S. Una ultima cosa: la soluzione che ha dato in assoluto i risultati migliori è quella di intrecciare tanti fili di piccola sezione come consigliò Bruno, purtroppo però non la vedo molto adatta a livello produttivo poiché in commercio non ho trovato nulla e quindi bisognerebbe costruirli artigianalmente con tutte le complicazioni (sopratutto economiche) che questo può comportare.
0
voti
Ciao ragazzi,
vi chiedo scusa ma ora sono un po' impegnato e preferirei aspettare un attimo di tranquillità per poter intervenire dedicando all'argomento tutto il tempo e l'attenzione che merita evitando la fretta che per queste cose è la prima nemica.
Mi faccio vivo appena posso.
Bruno
vi chiedo scusa ma ora sono un po' impegnato e preferirei aspettare un attimo di tranquillità per poter intervenire dedicando all'argomento tutto il tempo e l'attenzione che merita evitando la fretta che per queste cose è la prima nemica.
Mi faccio vivo appena posso.
Bruno
-

BrunoValente
39,6k 7 11 13 - G.Master EY

- Messaggi: 7797
- Iscritto il: 8 mag 2007, 14:48
1
voti
Ciao Bruno !!!
Come sempre massima tranquillità e assoluta precedenza agli impegni e, come sempre, grazie per la disponibilità.........ti aspettiamo a braccia aperte !
A presto e buon lavoro.
David
Come sempre massima tranquillità e assoluta precedenza agli impegni e, come sempre, grazie per la disponibilità.........ti aspettiamo a braccia aperte !
A presto e buon lavoro.
David
0
voti
David, La butto lì: sarebbe possibile montare un mosfet ed il condensatore elettrolitico e gli altri eventuali condensatori ceramici in prossimità del riscaldatore? In questo modo, utilizzando l'altro mosfet soltanto come interruttore (che quindi potresti montare in serie all'induttanza in prossimità del controllore e della batteria), confineresti il circuito ad alta frequenza all'interno della pinza con tutti i vantaggi che ne deriverebbero. L'unica complicazione sarebbe trasferire il segnale dai circuiti di pilotaggio al mosfet nella pinza ma sarebbe sufficiente un cavetto schermato di piccola sezione.
O, meglio ancora, perché non valuti anche la possibilità di integrare tutti i circuiti all'interno della pinza lasciando fuori solo la batteria?
Che ne pensi?
O, meglio ancora, perché non valuti anche la possibilità di integrare tutti i circuiti all'interno della pinza lasciando fuori solo la batteria?
Che ne pensi?
-

BrunoValente
39,6k 7 11 13 - G.Master EY

- Messaggi: 7797
- Iscritto il: 8 mag 2007, 14:48
1
voti
Bruno, vedo con piacere che non abbiamo dovuto attendere a lungo
.
Scherzi a parte, l' idea di integrare tutto il circuito nel manico è sicuramente valida e sarebbe l' ideale, purtroppo però ho paura che anche mettendocela tutta non ci sia spazio a sufficienza. Inoltre ho appurato che senza i cavi, oppure anche nella situazione attuale cioè con cavo schermato, i mosfet scaldano di più e se le cose non migliorano serviranno dissipatori più grandi. Forse si potrebbe trovare lo spazio per mosfet e condensatori però avrei poi il problema di dover rendere stagno lo scompartimento dedicato ai componenti. A livello costruttivo questo comporterebbe qualche complicazione che se possibile cercherei di evitare. Se ci si riesce la pinza diventa piuttosto semplice e realizzabile attraverso lavorazioni al controllo numerico. Questo è importante poiché per la produzione non sarebbero richiesti costosi stampi che mal si prestano a lotti produttivi così esigui.
Questo è soltanto il mio punto di vista attuale perché ovviamente si staranno a vedere le esigenze dell' elettronica che a quanto pare sembrerebbero prioritarie....
Credo di aver capito; per quanto riguarda i cavi invece le ho provate tutte e ti assicuro che con quelli da 10mm²non c'è nulla da fare, accoppiandoli un po' migliora ma la corrente rimane lenta.
L' idea di provare vari modelli di cavo per vedere le differenze di comportamento è interessante anche secondo me, adesso se riesco a trovare quelli coassiali faccio qualche prova poi vediamo quale sia la soluzione migliore.
Dalle vostre considerazioni appare comunque chiaro che il circuito deve essere ridotto di dimensioni e costruito seguendo strette regole. Cosa ne dite, provo a disegnarlo al cad in modo da miniaturizzarlo poi vi faccio vedere il risultato ?
Ciao
David
Scherzi a parte, l' idea di integrare tutto il circuito nel manico è sicuramente valida e sarebbe l' ideale, purtroppo però ho paura che anche mettendocela tutta non ci sia spazio a sufficienza. Inoltre ho appurato che senza i cavi, oppure anche nella situazione attuale cioè con cavo schermato, i mosfet scaldano di più e se le cose non migliorano serviranno dissipatori più grandi. Forse si potrebbe trovare lo spazio per mosfet e condensatori però avrei poi il problema di dover rendere stagno lo scompartimento dedicato ai componenti. A livello costruttivo questo comporterebbe qualche complicazione che se possibile cercherei di evitare. Se ci si riesce la pinza diventa piuttosto semplice e realizzabile attraverso lavorazioni al controllo numerico. Questo è importante poiché per la produzione non sarebbero richiesti costosi stampi che mal si prestano a lotti produttivi così esigui.
Questo è soltanto il mio punto di vista attuale perché ovviamente si staranno a vedere le esigenze dell' elettronica che a quanto pare sembrerebbero prioritarie....
Credo di aver capito; per quanto riguarda i cavi invece le ho provate tutte e ti assicuro che con quelli da 10mm²non c'è nulla da fare, accoppiandoli un po' migliora ma la corrente rimane lenta.
L' idea di provare vari modelli di cavo per vedere le differenze di comportamento è interessante anche secondo me, adesso se riesco a trovare quelli coassiali faccio qualche prova poi vediamo quale sia la soluzione migliore.
Dalle vostre considerazioni appare comunque chiaro che il circuito deve essere ridotto di dimensioni e costruito seguendo strette regole. Cosa ne dite, provo a disegnarlo al cad in modo da miniaturizzarlo poi vi faccio vedere il risultato ?
Ciao
David
0
voti
Ho seguito questa discussione sin dalle prime volte in cui ho visitato il forum, e in tutta sincerità vi dico che qui dentro c'è il succo di quanto studiato a lungo sui libri di Elettronica di potenza: circuiti a commutazione, induttanze e capacità parassite, effetto pelle, etc.. Complimenti a davidde per l'intraprendenza e l'entusiasmo, e congratulazionei di cuore a tutti gli altri, che mettono a disposizione la propria competenza in modo gratuito e genuino. A trovarne, di persone così!
E' un onore per me poter aggiungere i miei due cent: segnalo un paio di link che possono interessare a davidde:
http://www.elektrisola.com/it/filo-litz.html
Elektrisola Atesina III
Via Friuli, 5
20046 Biassono(Mi)
Italy
Tel: +39-039-2491501
Fax: +39-039-2491533
sales@elektrisola.it
oppure:
http://www.litz-wire.com/
Utilizzando un cavo "litz" di generosa sezione dovresti riuscire a ridurre notevolmente l'influenza dell'effetto pelle (mi pare che tu stesso ne abbia parlato, qualche post fa..).
Per ridurre l'induttanza parassita del collegamento, io personalmente farei così: due conduttori Litz appiattiti ed affacciati, separati da un foglietto di materiale isolante; la capacità parassita sarà sicuramente più elevata rispetto a quella offerta da un cavo coassiale, ma con il pilotaggio di cui disponi non penso sia un problema..
Voi che ne pensate?
E' un onore per me poter aggiungere i miei due cent: segnalo un paio di link che possono interessare a davidde:
http://www.elektrisola.com/it/filo-litz.html
Elektrisola Atesina III
Via Friuli, 5
20046 Biassono(Mi)
Italy
Tel: +39-039-2491501
Fax: +39-039-2491533
sales@elektrisola.it
oppure:
http://www.litz-wire.com/
Utilizzando un cavo "litz" di generosa sezione dovresti riuscire a ridurre notevolmente l'influenza dell'effetto pelle (mi pare che tu stesso ne abbia parlato, qualche post fa..).
Per ridurre l'induttanza parassita del collegamento, io personalmente farei così: due conduttori Litz appiattiti ed affacciati, separati da un foglietto di materiale isolante; la capacità parassita sarà sicuramente più elevata rispetto a quella offerta da un cavo coassiale, ma con il pilotaggio di cui disponi non penso sia un problema..
Voi che ne pensate?
Alberto.
1
voti
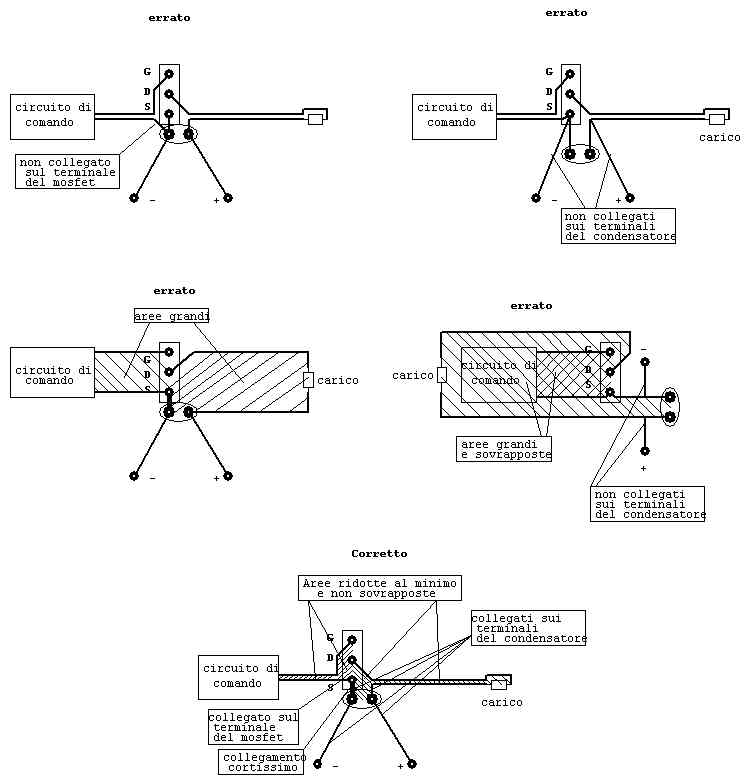
David,
questi sono vari esempi di cablaggio del circuito tipico di un mosfet di potenza con evidenziati alcuni errori tipici. Spero possano esserti utili.
questi sono vari esempi di cablaggio del circuito tipico di un mosfet di potenza con evidenziati alcuni errori tipici. Spero possano esserti utili.
-

BrunoValente
39,6k 7 11 13 - G.Master EY

- Messaggi: 7797
- Iscritto il: 8 mag 2007, 14:48
Chi c’è in linea
Visitano il forum: Nessuno e 87 ospiti

Elettrotecnica e non solo (admin)
Un gatto tra gli elettroni (IsidoroKZ)
Esperienza e simulazioni (g.schgor)
Moleskine di un idraulico (RenzoDF)
Il Blog di ElectroYou (webmaster)
Idee microcontrollate (TardoFreak)
PICcoli grandi PICMicro (Paolino)
Il blog elettrico di carloc (carloc)
DirtEYblooog (dirtydeeds)
Di tutto... un po' (jordan20)
AK47 (lillo)
Esperienze elettroniche (marco438)
Telecomunicazioni musicali (clavicordo)
Automazione ed Elettronica (gustavo)
Direttive per la sicurezza (ErnestoCappelletti)
EYnfo dall'Alaska (mir)
Apriamo il quadro! (attilio)
H7-25 (asdf)
Passione Elettrica (massimob)
Elettroni a spasso (guidob)
Bloguerra (guerra)
