comunque la mia non era disattenzione ma Alzhaimer ed è molto più triste... il tuo post l'avevo letto e quasi dimenticato.
Diciamo che ci siamo abbastanza intrippati andando un po' fuori tema.
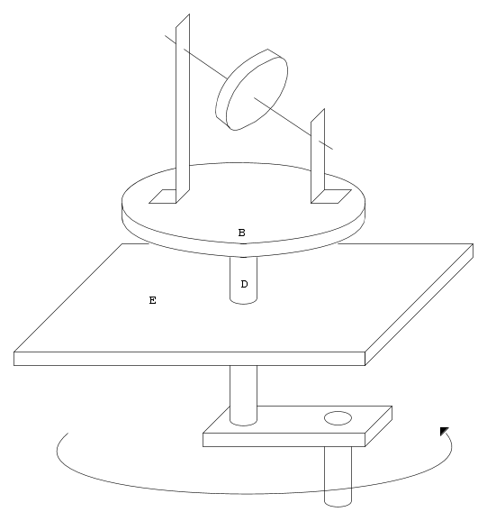
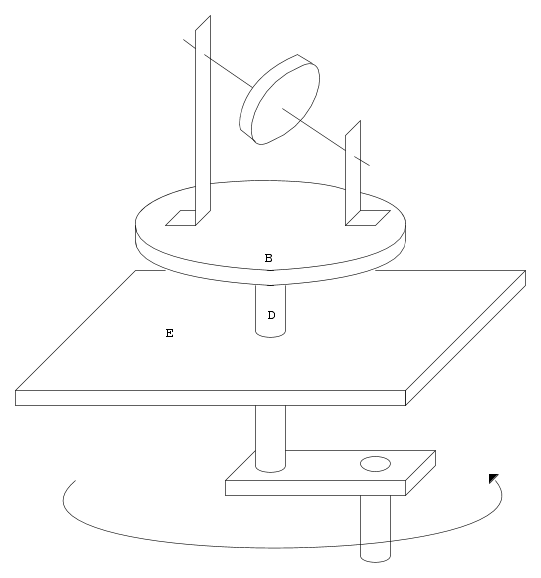
Aggiungo che poi nella pratica subentrano gli attriti, quindi per esempio nel tuo marchingegno quella coppia torcente aumenterebbe, anche se di poco, gli attriti nei cuscinetti.
Inoltre l'effetto giroscopico esisterebbe anche nello spazio, lontano dai pianeti (chiedo conferma ma direi di si), quello che cambia con una attrazione gravitazionale è solo l'innesco dei movimenti di precessione e nutazione.
Ma non c'è "scambio" col pianeta, direi che ci sarebbe (infinitesima) una variazione della velocità angolare del pianeta durante la messa in rotazione del giroscopio, ma questa variazione verrebbe "restituita" col suo arresto, per conservare il momento angolare totale
Tornando un attimo al miracoloso generatore credo sia evidente a questo punto come non possa funzionare, ma come comunque (anche leggendo velocemente i link di admin) sarebbe molto complicato dimostrare questa impossibilità anche a chi ha fiducia nei principi della Fisica (per la complessità dei conti).
figuriamoci convincere chi pretende di rimettere tutto in discussione, o peggio chi cerca di "vendere" un qualcosa che non funziona...

Elettrotecnica e non solo (admin)
Un gatto tra gli elettroni (IsidoroKZ)
Esperienza e simulazioni (g.schgor)
Moleskine di un idraulico (RenzoDF)
Il Blog di ElectroYou (webmaster)
Idee microcontrollate (TardoFreak)
PICcoli grandi PICMicro (Paolino)
Il blog elettrico di carloc (carloc)
DirtEYblooog (dirtydeeds)
Di tutto... un po' (jordan20)
AK47 (lillo)
Esperienze elettroniche (marco438)
Telecomunicazioni musicali (clavicordo)
Automazione ed Elettronica (gustavo)
Direttive per la sicurezza (ErnestoCappelletti)
EYnfo dall'Alaska (mir)
Apriamo il quadro! (attilio)
H7-25 (asdf)
Passione Elettrica (massimob)
Elettroni a spasso (guidob)
Bloguerra (guerra)




