@venexian, se vai avanti così coi "pistolotti" mi batti di sicuro.venexian ha scritto:m_dalpra, ho pensato alle parole del tuo ultimo post e (...)
Saluti
Moderatori:
IsidoroKZ,
PietroBaima,
Ianero
m_dalpra ha scritto:PietroBaima ha scritto:..... Il nocciolo è che quella non è affatto una spiegazione.
La tua spiegazione è stata molto pratica, immediata (per chi di fisica ha un minimo di rudimenti !)
Mi dà la possibilità di capire in linea di massima come stanno le cose, e di spiegarla a terze persone.
Potevi fare anche una trattazione fisica/matematica/vettoriale, ma una volta che ci siamo capiti, non è necessario andare oltre.
Perché subentra una altro fattore : la questione di fiducia.
Il fondamentalista/ambientalista (magari anche ignorante) non si fida di nessuno, quindi, per quanto tu possa spiegargli qualcosa, la vedrà sempre e comunque con sospetto.




... e si spiegherebbe pure come sia possibile riuscire a frenare la terra senza l'ausilio di un punto di appoggio esterno ad essa: in effetti la terra rallenterebbe ma contemporaneamente il volano accelererebbe e così l'energia cinetica rotazionale complessiva si conserverebbe ... ecco quindi inventato il generatore 

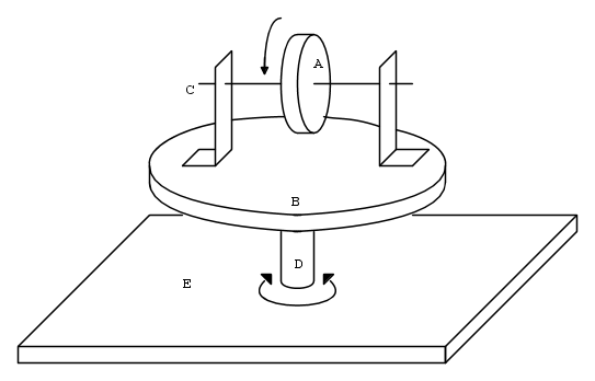
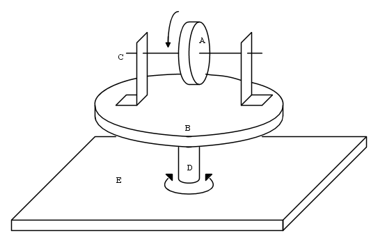
BrunoValente ha scritto:Cosa capiterebbe se vincolassimo il disco B al piano E bloccando l'asse D?
Secondo me l'asse D vincolato al piano E, quindi non più in grado di girare, produrrebbe su di esso una coppia orientata in senso inverso rispetto al verso di rotazione della terra.
EcoTan ha scritto:se continuiamo uniformemente a deviarlo lui continua a resistere o si adegua?


Visitano il forum: Nessuno e 14 ospiti