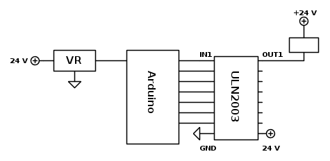
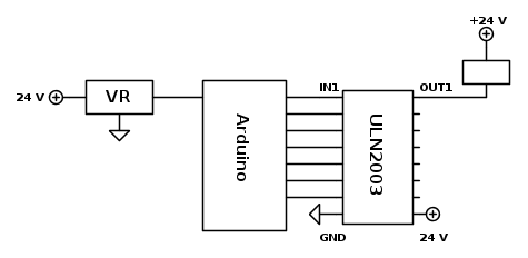
simon77blitz ha scritto:Ora in pratica devo mettere il GND di arduino collegato con il negativo dell'ingresso 24 V
Non hai risposto alla mia domanda. Quale scheda Arduino usi?
Poi io rispondo alla tua
Ciao
Moderatore:
Paolino
simon77blitz ha scritto:Ora in pratica devo mettere il GND di arduino collegato con il negativo dell'ingresso 24 V
marco438 ha scritto:Input Voltage (limits) 6-20V
. Dell'LM317 sono sicuro che li sopporta, non ricordo quali della serie 78xx. Il 7815 mi sembra di si, ma non sono sicuro sull'7809..
gohan ha scritto:Grazie.marco438 ha scritto:Input Voltage (limits) 6-20V
Immagino siano quelli del regolatore, lo stesso che ho linkato io. In ogni caso serve un regolatore in grado di sopportare una. Dell'LM317 sono sicuro che li sopporta, non ricordo quali della serie 78xx. Il 7815 mi sembra di si, ma non sono sicuro sull'7809..
Ciao
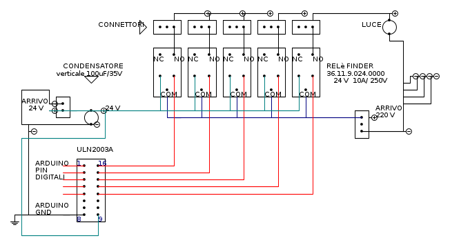
simon77blitz ha scritto:Eccomi qua ho fatto un altro disegno con tutti i collegamenti penso che questa volta ho finito e posso procedere con la realizzazione della scheda potete dare uno sguardo e controllare se è tutto ok
quindi ci sono pochi problemi già in principio.
Torna a Realizzazioni, interfacciamento e nozioni generali.
Visitano il forum: Nessuno e 10 ospiti