Un esempio minimo di computer analogico. :)
Pensa che prima dell’elettronica li facevano meccanici.
Avevano anche sistemi per derivare, per integrare, sommare, sottrarre, tutto fatto con leve, piatti girevoli e amplificatori di coppia…
Trasformata di Clarke in modo analogico.
Moderatori:
SandroCalligaro,
mario_maggi,
fpalone
20 messaggi
• Pagina 2 di 2 • 1, 2
4
voti
-

PietroBaima
90,7k 7 12 13 - G.Master EY

- Messaggi: 12207
- Iscritto il: 12 ago 2012, 1:20
- Località: Londra
0
voti
Ciao Lunacod, ho visto oggi il tuo post.
Beh direi di sì, l'immagine che hai pubblicato è quella di un trasformatore di Scott realizzato con degli operazionali, è un esempio classico (secondo me preso da una pubblicazione della DDC). Se guardi l'immagine che ti metto è quella di un'applicazione pratica di un circuito molto simile realizzato in un controllo di vettore per motori ad induzione. Gli amplificatori indicati con i numeri 51 e 59, fanno la conversione di Clarke e precisamente il 51 per la tensione e 59 per la corrente. Se vuoi capirci di più guarda il brevetto US3909687.
Ciao e buon divertimento.
Beh direi di sì, l'immagine che hai pubblicato è quella di un trasformatore di Scott realizzato con degli operazionali, è un esempio classico (secondo me preso da una pubblicazione della DDC). Se guardi l'immagine che ti metto è quella di un'applicazione pratica di un circuito molto simile realizzato in un controllo di vettore per motori ad induzione. Gli amplificatori indicati con i numeri 51 e 59, fanno la conversione di Clarke e precisamente il 51 per la tensione e 59 per la corrente. Se vuoi capirci di più guarda il brevetto US3909687.
Ciao e buon divertimento.

1
voti
Che post interessante, compresa la risposta di
Meiko!
Non molto tempo fa parlavo di questa cosa con dei colleghi, che hanno messo in servizio o manutentato azionamenti (anche per motori brushless) degli scorsi decenni, che io non ho mai avuto occasione di vedere, nemmeno in fotografia.
Sarebbe molto bello raccogliere schemi ed immagini dei circuiti, per capire come si realizzavano! Non credo che fosse già tutto digitale, piuttosto mixed-signal, considerando che la serie C2000 di Texas Instruments è uscita negli anni '90, ma già si realizzavano azionamenti con FOC.
La trasformata di Clarke è un'operazione lineare (somma pesata di 2 o 3 segnali), si può fare con operazionali.
Quella di Park, necessaria per il FOC (anche negli anni '70), richiede anche la moltiplicazione tra segnali.
I moltiplicatori analogici si sono sempre realizzati, ma in molte applicazioni (ad es. nelle telecomunicazioni) non serve precisione, mentre nel caso del controllo motore sì.
In ogni caso, di circuiti analogici per la moltiplicazione di segnali mi pare ce ne siano in giro, anche se io non saprei farne uno che funzioni
...
N.B.: Il calcolo del seno e del coseno della posizione (necessari per la trasformazione di Park) credo proprio che non fosse necessario, visto che come sensori si potevano usare i resolver (ovviamente, dopo averne demodulato il segnale di uscita).
Non molto tempo fa parlavo di questa cosa con dei colleghi, che hanno messo in servizio o manutentato azionamenti (anche per motori brushless) degli scorsi decenni, che io non ho mai avuto occasione di vedere, nemmeno in fotografia.
Sarebbe molto bello raccogliere schemi ed immagini dei circuiti, per capire come si realizzavano! Non credo che fosse già tutto digitale, piuttosto mixed-signal, considerando che la serie C2000 di Texas Instruments è uscita negli anni '90, ma già si realizzavano azionamenti con FOC.
La trasformata di Clarke è un'operazione lineare (somma pesata di 2 o 3 segnali), si può fare con operazionali.
Quella di Park, necessaria per il FOC (anche negli anni '70), richiede anche la moltiplicazione tra segnali.
I moltiplicatori analogici si sono sempre realizzati, ma in molte applicazioni (ad es. nelle telecomunicazioni) non serve precisione, mentre nel caso del controllo motore sì.
In ogni caso, di circuiti analogici per la moltiplicazione di segnali mi pare ce ne siano in giro, anche se io non saprei farne uno che funzioni
N.B.: Il calcolo del seno e del coseno della posizione (necessari per la trasformazione di Park) credo proprio che non fosse necessario, visto che come sensori si potevano usare i resolver (ovviamente, dopo averne demodulato il segnale di uscita).
-

SandroCalligaro
2.970 2 4 5 - G.Master EY

- Messaggi: 1181
- Iscritto il: 6 ago 2015, 19:25
1
voti
SandroCalligaro ha scritto:circuiti analogici per la moltiplicazione di segnali mi pare ce ne siano in giro, anche se io non saprei farne uno che funzioni
Gilbert cell
Gilbert cell is a type of mixer. It produces output signals that are proportional to the product of two input signals
https://en.wikipedia.org/wiki/Gilbert_cell
Gilbert, B. (December 1968). "A precision four-quadrant multiplier with subnanosecond response"
https://web.archive.org/web/20200218182 ... dcdfc9.pdf
2
voti
Salve a tutti. Grazie per le belle risposte che mi avete dato. e adesso voglio raccontarvi una cosa:
Durante queste feste natalizie ho fatto un giro con il mio capo in Germania. Mi ha portato ad Aquisgrana da un suo amico, un tipico ing. tedesco anni 60 che ripara strumentazione avionica.
Parlando con questo ingegnere di questo argomento, mi hanno tirato fuori una cosa stranissima, mi ha detto che la trasformata di Clarke + Park possono essere eseguite contemporaneamente da un trasformatore elettromeccanico chiamato "TRANSOLVER".
L'Ing. tedesco mi ha spiegato che il transolver è un synchro resolver speciale il quale ha uno statore con avvolgimenti trifase e un rotore con avvolgimento bifase.
Sempre a detta del Ing. Tedesco: se sul avvolgimento trifase si manda un segnale in trifase da misurare, es. una tensione in alternata, sugli avvolgimenti bifase del rotore si ottiene la trasformata di Clarke, come con il trasformatore di Scott. Se però poi si mette in rotazione il rotore, il movimento di questo all'interno dello statore trifase, fa svolgere la trasformazione di Park ottenendo le coordinate cartesiane su di un piano fisso rispetto al movimento meccanico del rotore.
Spero di non aver scritto qualche fesseria e di aver capito bene la spiegazione.
Ho cercato in rete delle informazioni sul transolver, ma non ho trovato nulla, è un oggetto sconosciuto, anche se in effetti l'ing. tedesco me ne ha fatto vedere uno instrallato su un'avionica di elicottero.
A proposito della risposta di pietrobaima, i filmati postati sono interessantissimi e per la conaca, in occasione di queste feste ho potuto ammirare dal vero dei computer di quel tipo, se ne montavano anche anche sugli aerei, usavano tecniche ibride meccaniche elettromeccaniche e elettroniche con valvole. Tanto di cappello a chi li progettava! Lì non potevi fare le patch.
Se magari qualcuno trovasse qualche info sulla funzione di trasferimento di questo componente misterioso, magari riuscirei a capire meglio.
Grazie ancora a tutti e felice anno nuovo.
Durante queste feste natalizie ho fatto un giro con il mio capo in Germania. Mi ha portato ad Aquisgrana da un suo amico, un tipico ing. tedesco anni 60 che ripara strumentazione avionica.
Parlando con questo ingegnere di questo argomento, mi hanno tirato fuori una cosa stranissima, mi ha detto che la trasformata di Clarke + Park possono essere eseguite contemporaneamente da un trasformatore elettromeccanico chiamato "TRANSOLVER".
L'Ing. tedesco mi ha spiegato che il transolver è un synchro resolver speciale il quale ha uno statore con avvolgimenti trifase e un rotore con avvolgimento bifase.
Sempre a detta del Ing. Tedesco: se sul avvolgimento trifase si manda un segnale in trifase da misurare, es. una tensione in alternata, sugli avvolgimenti bifase del rotore si ottiene la trasformata di Clarke, come con il trasformatore di Scott. Se però poi si mette in rotazione il rotore, il movimento di questo all'interno dello statore trifase, fa svolgere la trasformazione di Park ottenendo le coordinate cartesiane su di un piano fisso rispetto al movimento meccanico del rotore.
Spero di non aver scritto qualche fesseria e di aver capito bene la spiegazione.
Ho cercato in rete delle informazioni sul transolver, ma non ho trovato nulla, è un oggetto sconosciuto, anche se in effetti l'ing. tedesco me ne ha fatto vedere uno instrallato su un'avionica di elicottero.
A proposito della risposta di pietrobaima, i filmati postati sono interessantissimi e per la conaca, in occasione di queste feste ho potuto ammirare dal vero dei computer di quel tipo, se ne montavano anche anche sugli aerei, usavano tecniche ibride meccaniche elettromeccaniche e elettroniche con valvole. Tanto di cappello a chi li progettava! Lì non potevi fare le patch.
Se magari qualcuno trovasse qualche info sulla funzione di trasferimento di questo componente misterioso, magari riuscirei a capire meglio.
Grazie ancora a tutti e felice anno nuovo.
0
voti
Non le chiamerei "funzioni di trasferimento", sono proiezioni geometriche (senza dinamica), come sono le trasformazioni di Clarke e Park.
Non sapevo che esistessero questi oggetti, ma sono molto interessanti: dalla tua descrizione sembrano l'esatta implementazione del principio che sta dietro le due trasformazioni, se si invertono i ruoli di rotore e statore.
In pratica si porta in uscita quello che vedono due avvolgimenti in quadratura, sui quali gli avvolgimenti trifase agiscono (proiettano, in senso geometrico, il loro campo).
Non sapevo che esistessero questi oggetti, ma sono molto interessanti: dalla tua descrizione sembrano l'esatta implementazione del principio che sta dietro le due trasformazioni, se si invertono i ruoli di rotore e statore.
In pratica si porta in uscita quello che vedono due avvolgimenti in quadratura, sui quali gli avvolgimenti trifase agiscono (proiettano, in senso geometrico, il loro campo).
-

SandroCalligaro
2.970 2 4 5 - G.Master EY

- Messaggi: 1181
- Iscritto il: 6 ago 2015, 19:25
0
voti
Salve a tutti.
La discussione è interessante.
Per rispondere a Lunacod: Sì è vero i transolver esistono e sono ancora in uso in tutte quelle applicazioni in cui i sistemi a uP non possono operare o non offrono le necessarie doti di sicurezza.
Di fatto essi uniscono il mondo dei synchro trifasi a quello dei synchro bifasi, detti in gergo resolver.
Questi dispositivi sono nati tra gli anni 30 e 40 del ‘900, il loro sviluppo è stato dall’immediato dopo guerra fino ad oggi. Essi erano parte di tutti quei sistemi di calcolo di cui PietroBaima ha presentato quegli interessanti filmati (materiale video prezioso, io lo ho scaricato!)
La conclusione di SandroCalligaro è esatta, con questo dispositivo si può eseguire sia la trasformata di Clarke & Park che l’anti trasformata, dipende da che parte entra il segnale. Le due trasformate si riducono in un’ unica soluzione.
Trovare dei transolver per fare degli esperimenti? Molto difficile, forse, ma solo forse negli USA c’è qualcosa.
Per quanto riguarda il realizzare un circuito con dei moltiplicatori, oggi non è difficile, esistono degli integrati monolitici che lo fanno con tutto rispetto, certo se confrontati con i risultati di un calcolo digitale, il paragone non regge perché la temperatura è nemica dei sistemi analogici e la messa a punto di circuiti di quel tipo non è per nulla banale.

La discussione è interessante.
Per rispondere a Lunacod: Sì è vero i transolver esistono e sono ancora in uso in tutte quelle applicazioni in cui i sistemi a uP non possono operare o non offrono le necessarie doti di sicurezza.
Di fatto essi uniscono il mondo dei synchro trifasi a quello dei synchro bifasi, detti in gergo resolver.
Questi dispositivi sono nati tra gli anni 30 e 40 del ‘900, il loro sviluppo è stato dall’immediato dopo guerra fino ad oggi. Essi erano parte di tutti quei sistemi di calcolo di cui PietroBaima ha presentato quegli interessanti filmati (materiale video prezioso, io lo ho scaricato!)
La conclusione di SandroCalligaro è esatta, con questo dispositivo si può eseguire sia la trasformata di Clarke & Park che l’anti trasformata, dipende da che parte entra il segnale. Le due trasformate si riducono in un’ unica soluzione.
Trovare dei transolver per fare degli esperimenti? Molto difficile, forse, ma solo forse negli USA c’è qualcosa.
Per quanto riguarda il realizzare un circuito con dei moltiplicatori, oggi non è difficile, esistono degli integrati monolitici che lo fanno con tutto rispetto, certo se confrontati con i risultati di un calcolo digitale, il paragone non regge perché la temperatura è nemica dei sistemi analogici e la messa a punto di circuiti di quel tipo non è per nulla banale.

0
voti
Grazie a tutti per avermi chiarito dei dubbi.
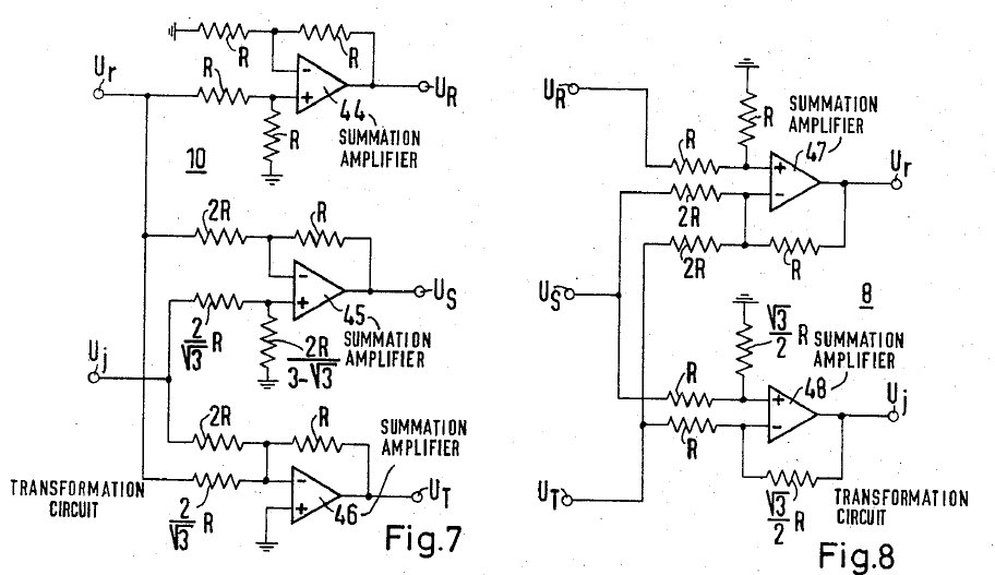
Ho fatto una cosa, sono andato a guardarmi i brevetti americani, come mi ha consiglaito Meiko e ho trovato tanti spunti interessanti, poi capire con precisione le cose descritte, non è facile, però ho trovato delle belle cose, tra cui il brevetto US3824437 che descrive il "metodo per controllare macchine asincrone"di Felix Blaschke. Interamente realizzato con tecnologia analogica, mostra come si può realizzare sia la trasformata che l'anti-trasformata di Clarke utilizzando dei semplici operazionali. La Fig.8 è un circuit tipo Scott che fa la trasformata di Clarke, mentre in Fig.7 il circuito che fa l'anti-trasformata.

Ho fatto una cosa, sono andato a guardarmi i brevetti americani, come mi ha consiglaito Meiko e ho trovato tanti spunti interessanti, poi capire con precisione le cose descritte, non è facile, però ho trovato delle belle cose, tra cui il brevetto US3824437 che descrive il "metodo per controllare macchine asincrone"di Felix Blaschke. Interamente realizzato con tecnologia analogica, mostra come si può realizzare sia la trasformata che l'anti-trasformata di Clarke utilizzando dei semplici operazionali. La Fig.8 è un circuit tipo Scott che fa la trasformata di Clarke, mentre in Fig.7 il circuito che fa l'anti-trasformata.

0
voti
Discussione interessante
riguardo i transolver spulciando nel web ho trovato un produttore in USA, la Vernitron di Torrance in California.
Non ho però approfondito oltre.
riguardo i transolver spulciando nel web ho trovato un produttore in USA, la Vernitron di Torrance in California.Non ho però approfondito oltre.

"Non farei mai parte di un club che accettasse la mia iscrizione" (G. Marx)
-

claudiocedrone
21,3k 4 7 9 - Master EY

- Messaggi: 15303
- Iscritto il: 18 gen 2012, 13:36
20 messaggi
• Pagina 2 di 2 • 1, 2
Chi c’è in linea
Visitano il forum: Nessuno e 67 ospiti

Elettrotecnica e non solo (admin)
Un gatto tra gli elettroni (IsidoroKZ)
Esperienza e simulazioni (g.schgor)
Moleskine di un idraulico (RenzoDF)
Il Blog di ElectroYou (webmaster)
Idee microcontrollate (TardoFreak)
PICcoli grandi PICMicro (Paolino)
Il blog elettrico di carloc (carloc)
DirtEYblooog (dirtydeeds)
Di tutto... un po' (jordan20)
AK47 (lillo)
Esperienze elettroniche (marco438)
Telecomunicazioni musicali (clavicordo)
Automazione ed Elettronica (gustavo)
Direttive per la sicurezza (ErnestoCappelletti)
EYnfo dall'Alaska (mir)
Apriamo il quadro! (attilio)
H7-25 (asdf)
Passione Elettrica (massimob)
Elettroni a spasso (guidob)
Bloguerra (guerra)
pigreco]=π



