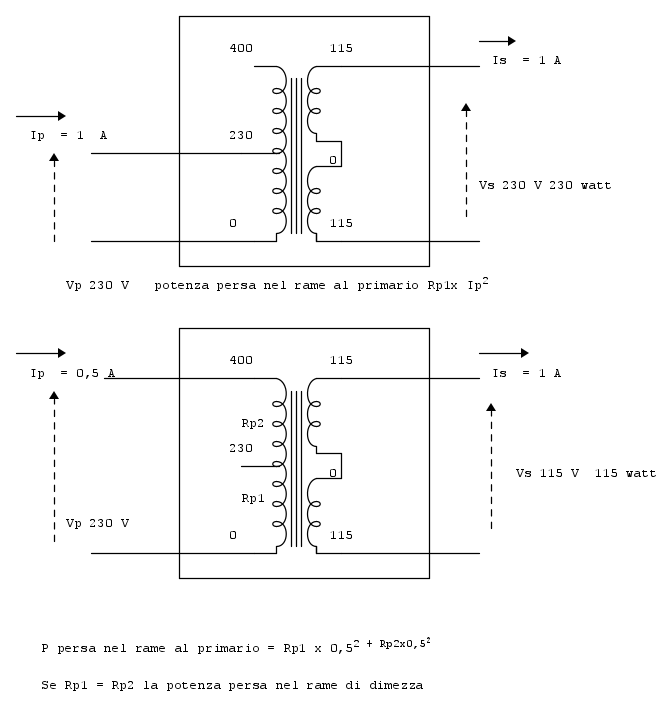
Dati del trasformatore:
-Primario 230 e 400 VAC
-Secondario 115 0 115 VAC
- 230 VA
Lasciando così le cose, tutto regolare, ma invece se lo alimento dalla presa dei 400 V, perché a me servono 65 0 65 V che in questo caso li avrei, il calcolo del rapporto spire su quel pacco dovrebbe risultare sbagliato?
Il rapporto spire primario/secondario dovrebbe tornare, anche perché la tensione in uscita è giusta, ci sono 65 0 65 V.
Ma non mi torna la potenza del pacco.
perché nel primo caso, alimentato regolarmente, avendo 230VA su 115 0 115 V posso avere al massimo 1 A .
Invece nel secondo caso, alimentato su 400 V, ho sempre lo stesso filo che mi da 1A e quindi ho una potenza massima di 130 VA.
Perciò il pacco da 230 VA mi risulta sovradimensionato per il risultato che ho.
Ma in questa occasione anche il calcolo del rapporto spire è diverso?
Mi voglio dare una risposta da me, senza presunzione che sia esatta, per questo ho chiesto, l'utilizzo di questo trasformatore in queste condizioni è sbagliato!
Spiegazione di questa domanda :
Mi hanno portato da riparare un amplificatore audio autocostruito con un trasformatore bruciato, senza entare a descrivere i particolari, dico, che monta 20 doppi triodi (tutti in parallelo) da circa 130 mA di placca e 2,5 A di filamento. Usando 3 trasformatori, 2 per l'anodica,è stereo, ed uno per i filamenti, sempre con lo stesso criterio, di alimentarli a 230V sulla presa di 400 V, mi par di capire come mai si è bruciato il trasformatore di una anodica. Il t5rasformatore dei filamenti invece è unico, ed è un trasformatore da 630 VA, ma usandolo in questa maniera, diventano 315 VA che per l'appunto sono precisi precisi alimentando 20 valvole da 2,5A a 6,3V .
E' un amplificatore in classe A
Mi permetto anche di dire con cablaggio da cani.


Elettrotecnica e non solo (admin)
Un gatto tra gli elettroni (IsidoroKZ)
Esperienza e simulazioni (g.schgor)
Moleskine di un idraulico (RenzoDF)
Il Blog di ElectroYou (webmaster)
Idee microcontrollate (TardoFreak)
PICcoli grandi PICMicro (Paolino)
Il blog elettrico di carloc (carloc)
DirtEYblooog (dirtydeeds)
Di tutto... un po' (jordan20)
AK47 (lillo)
Esperienze elettroniche (marco438)
Telecomunicazioni musicali (clavicordo)
Automazione ed Elettronica (gustavo)
Direttive per la sicurezza (ErnestoCappelletti)
EYnfo dall'Alaska (mir)
Apriamo il quadro! (attilio)
H7-25 (asdf)
Passione Elettrica (massimob)
Elettroni a spasso (guidob)
Bloguerra (guerra)






