Buongiorno,
avrei la necessità di ridurre la potenza assorbita da una resistenza da 2500W di circa 300W.
Che tipo di circuito devo costruire?
Ringrazio anticipatamente.
Regolatore potenza carico resistivo
Moderatori:
sebago,
mario_maggi
27 messaggi
• Pagina 1 di 3 • 1, 2, 3
0
voti
0
voti
DC o AC ? ... tensione di rete o piu bassa ?
"Sopravvivere" e' attualmente l'unico lusso che la maggior parte dei Cittadini italiani,
sia pure a costo di enormi sacrifici, riesce ancora a permettersi.
sia pure a costo di enormi sacrifici, riesce ancora a permettersi.
-

Etemenanki
9.522 3 6 10 - Master

- Messaggi: 5946
- Iscritto il: 2 apr 2021, 23:42
- Località: Dalle parti di un grande lago ... :)
0
voti
Funziona in 220 AC e devo solo fare un controllo di potenza.
0
voti
Non ti basta un comune dimmer per carichi in AC, che regoli come vuoi ? ... o lo devi controllare tramite un'altra apparecchiatura ?
"Sopravvivere" e' attualmente l'unico lusso che la maggior parte dei Cittadini italiani,
sia pure a costo di enormi sacrifici, riesce ancora a permettersi.
sia pure a costo di enormi sacrifici, riesce ancora a permettersi.
-

Etemenanki
9.522 3 6 10 - Master

- Messaggi: 5946
- Iscritto il: 2 apr 2021, 23:42
- Località: Dalle parti di un grande lago ... :)
0
voti
avrei la necessità di ridurre la potenza assorbita da una resistenza da 2500W di circa 300W.
Probabilmente la domanda è formulata in modo molto rigido, e il problema è mal spiegato.
Una risposta sicuramente non adeguata ma formalmente corretta è la seguente:
2500 w - 300 w = 2200 w
2500 w/220 V = 11,36 A
220 V / 11,36 A = 19,36 ohm resistenza che dissipa 2500 watt
2200 / 220 = 10 A
220 / 10 = 22 ohm
22- 19,36 = 2,6 ohm resistenza da aggiungere in serie per abbassare
la potenza a 2200 W.
Potenza dissipata dalla resistenza da aggiungere P = Rx I^2 = 2,6 x 10x10 = 260 watt.
altro modo:
P = VxV/R V = radicequadratadi( PxR) = Radq( 2300 x 19,36 ) = 211,016 V
Occorre ridurre la tensione di alimentazione da 220 a 211 volt, ossia di 10 volt.
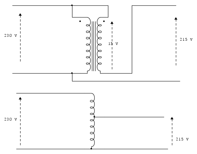
Adopererei un trasformatore da 220 a 10 volt 10 A, di cui metterei il secondario in serie
con la fase opportuna alla 220 V. Anche questa soluzione anche se praticabile forse non piace.

1
voti
- È importante notare che il valore di 300W che si intende decurtare rappresenta
solo il 12% della Potenza Nominale.
- A causa delle oscillazioni della Tensione di Rete, +/- 10% la Potenza effettiva
sviluppata subisce variazioni superiori, - 19% / +21% ,
cioè da 2500 × 81% = 2025W a 2500 × 121% = 3025W.
- Con una Corrente massima di circa 12A.
>
Ciò Premesso, anch' io opterei per un Trasformatore come suggeriva MarcoD .
Consiglierei almeno un 12A / 15 ÷ 24 V secondo la Tensione media durante l' uso .
-
Buona giornata !
solo il 12% della Potenza Nominale.
- A causa delle oscillazioni della Tensione di Rete, +/- 10% la Potenza effettiva
sviluppata subisce variazioni superiori, - 19% / +21% ,
cioè da 2500 × 81% = 2025W a 2500 × 121% = 3025W.
- Con una Corrente massima di circa 12A.
>
Ciò Premesso, anch' io opterei per un Trasformatore come suggeriva MarcoD .
Consiglierei almeno un 12A / 15 ÷ 24 V secondo la Tensione media durante l' uso .
-
Buona giornata !
0
voti
se basta una regolazione grossolana userei un autotrasformatore che è decisamente più piccolo ed economico di un trasformatore ed Inoltre è più facile avere più uscite.
-

stefanodelfiore
1.673 3 8 - Master

- Messaggi: 569
- Iscritto il: 28 mar 2009, 20:15
- Località: Bologna
0
voti
Il trasformatore dovrebbe essere da circa 15 V x 15 A = 220 watt, con un rendimento del 95% dovrebbe dissipare solo circa 11 watt.
Ho la sensazione che un autotrasformatore quando la tensione di uscita è prossima a quella di ingresso , presenta vantaggio in rendimento e costo rispetto a un trasformatore molto ridotto. Occorrerebbe fare conti e considerazioni, ma non sono competente e non ho voglia di approfondire l'argomento. Attendo di leggere il parere degli esperti.
27 messaggi
• Pagina 1 di 3 • 1, 2, 3
Torna a Energia e qualità dell'energia
Chi c’è in linea
Visitano il forum: Nessuno e 29 ospiti

Elettrotecnica e non solo (admin)
Un gatto tra gli elettroni (IsidoroKZ)
Esperienza e simulazioni (g.schgor)
Moleskine di un idraulico (RenzoDF)
Il Blog di ElectroYou (webmaster)
Idee microcontrollate (TardoFreak)
PICcoli grandi PICMicro (Paolino)
Il blog elettrico di carloc (carloc)
DirtEYblooog (dirtydeeds)
Di tutto... un po' (jordan20)
AK47 (lillo)
Esperienze elettroniche (marco438)
Telecomunicazioni musicali (clavicordo)
Automazione ed Elettronica (gustavo)
Direttive per la sicurezza (ErnestoCappelletti)
EYnfo dall'Alaska (mir)
Apriamo il quadro! (attilio)
H7-25 (asdf)
Passione Elettrica (massimob)
Elettroni a spasso (guidob)
Bloguerra (guerra)






