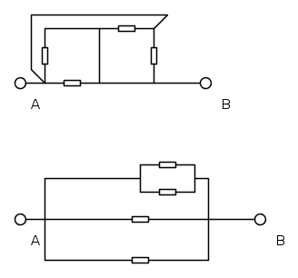
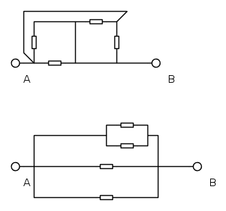
Questa è la sequenza di ragionamenti fatti. Ora dall'ultima schermata, credo che si possa vedere che le prime tre resistenze sono in parallelo tra loro con in serie la quarta, infatti:
Quindi

Potete dirmi gentilmente se e dove ho sbagliato?
Grazie
Moderatori:
g.schgor,
IsidoroKZ



Antofilo ha scritto:[..]
PS. non conosco ancora i collegamenti equipotenziali, ma cercherò di capirli. Grazie
Torna a Elettrotecnica generale
Visitano il forum: Nessuno e 17 ospiti