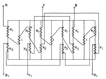
qual è il motivo che porta a scegliere tra un reattore convenzionale e uno saturabile per la regolazione della tensione (tralasciando tutti gli altri dispositivi esistenti)?
un reattore saturabile, in saturazione, lavora a flusso costante e di conseguenza anche la tensione ai sui capi rimane costante...
un reattore convenzionale generalmente non lavora in saturazione e viene utilizzato per compensare il flusso di potenza reattiva capacitiva in rete (ovvero diminuisce l'entità delle correnti capacitive in rete e quindi le cadute di tensione)...
ora sperando che il discorso sia giusto...qualcuno saprebbe dirmi quali motivi possono portare alla scelta dell'uno o l'altro?
grazie e mi scuso se eventualmente ho scritto qualche cavolata

Elettrotecnica e non solo (admin)
Un gatto tra gli elettroni (IsidoroKZ)
Esperienza e simulazioni (g.schgor)
Moleskine di un idraulico (RenzoDF)
Il Blog di ElectroYou (webmaster)
Idee microcontrollate (TardoFreak)
PICcoli grandi PICMicro (Paolino)
Il blog elettrico di carloc (carloc)
DirtEYblooog (dirtydeeds)
Di tutto... un po' (jordan20)
AK47 (lillo)
Esperienze elettroniche (marco438)
Telecomunicazioni musicali (clavicordo)
Automazione ed Elettronica (gustavo)
Direttive per la sicurezza (ErnestoCappelletti)
EYnfo dall'Alaska (mir)
Apriamo il quadro! (attilio)
H7-25 (asdf)
Passione Elettrica (massimob)
Elettroni a spasso (guidob)
Bloguerra (guerra)

