Salve, devo realizzare l'alimentazione di una pompa antincendio che può essere alimentata da normale (enel) o da preferenziale (gruppo)...sono a posto per quel che riguarda la derivazione delle linee, la mia difficoltà è di realizzare il quadretto che gestirà la commutazione tramite teleruttori interbloccati meccanicamente ed elettricamente, qualcuno ha uno schema da mostrarmi?
Ringrazio anticipatamente
Scheme per quadro cummutazione pompa antincendio
Moderatori:
sebago,
MASSIMO-G,
lillo,
Mike
9 messaggi
• Pagina 1 di 1
0
voti
spero che mi si alleghi lo schema altrimenti riprovo
-

driade5530
-25 1 3 - Messaggi: 40
- Iscritto il: 7 nov 2010, 14:18
0
voti
non capisco il motivo per il quale nn si allega il disegno elaborato con FIDOCAD
-

driade5530
-25 1 3 - Messaggi: 40
- Iscritto il: 7 nov 2010, 14:18
0
voti
Se dici a me è perché dovevo ancora realizzare uno schema ed infatti era quello che cercavo di farmi dare...
Ci ho pensato un po' su ed ho abbozzato uno schema, nei prossimi giorni ti manderò la scansione dello schizzo su carta (non uso fidocad) se ti serve e nel futuro lo schema completo...
Volendo dare un suggerimento, forse una sezione del forum per la raccolta di schemi sarebbe una cosa utile e attuabile...ripeto suggerimento...il forum è già ottimo così
Saluti
Ci ho pensato un po' su ed ho abbozzato uno schema, nei prossimi giorni ti manderò la scansione dello schizzo su carta (non uso fidocad) se ti serve e nel futuro lo schema completo...
Volendo dare un suggerimento, forse una sezione del forum per la raccolta di schemi sarebbe una cosa utile e attuabile...ripeto suggerimento...il forum è già ottimo così
Saluti
0
voti
Si volevo esser d'aiuto ,sopra ho letto che ti serviva uno schema per l'automazione di un quadretto di commutazione per l'avviamento di un e/p ,io avevo preparato il tutto ,quindi ho frainteso ....ciaoooo 
-

driade5530
-25 1 3 - Messaggi: 40
- Iscritto il: 7 nov 2010, 14:18
0
voti
Salve, qualcuno conosce una marca di contattori adatti al comando di motori con le seguenti caratteristiche:
- contatti normalmente chiusi
- possibilità di interblocco meccanico cona ltro contattore con contatti normalmente aperti
Saluti
- contatti normalmente chiusi
- possibilità di interblocco meccanico cona ltro contattore con contatti normalmente aperti
Saluti
0
voti
thekant ha scritto:Salve, devo realizzare l'alimentazione di una pompa antincendio che può essere alimentata da normale (enel) o da preferenziale (gruppo)...sono a posto per quel che riguarda la derivazione delle linee, la mia difficoltà è di realizzare il quadretto che gestirà la commutazione tramite teleruttori interbloccati meccanicamente ed elettricamente, qualcuno ha uno schema da mostrarmi?
Ringrazio anticipatamente
non capisco la necessità di creare un altro quadretto. perché non puoi collegarti direttamente sul quadro di commutazione del gruppo?
se il gruppo e proprio sprovvisto di quadro di commutazione lo schema non e proprio semplice , perche devi interfacciarlo con l'impianto di partenza del motore.
-

MICHELEISOLDA
0 1 1 - Messaggi: 11
- Iscritto il: 20 nov 2010, 22:37
0
voti
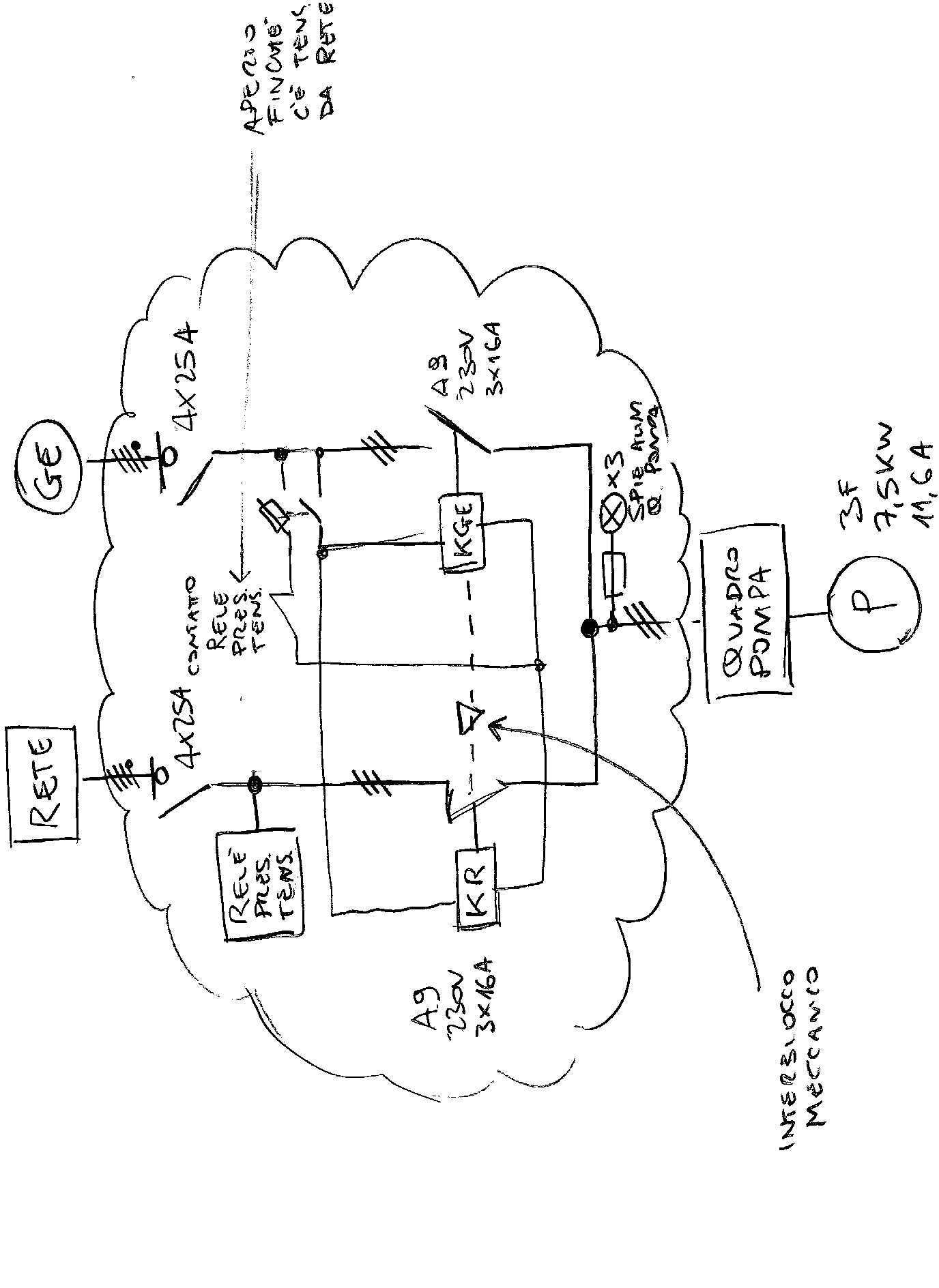
Allora, credo non interessi a nessuno ma visto che ne sono quasi andato in fondo...
Mi stava arrabattando per realizzare uno schema come da disegno allegato ma dei teleruttori con contatti normalmente chiusi interbloccabili meccanicamente non li ho trovati (l'ABB dice che li commercializzerà l'anno prossimo...mah)
fortunatamente nel frattempo ho scoperto che fabbricano questa apparecchiatura:
http://www.socomec.com/webdav/site/Soco ... ysM-it.pdf
Saluti
Mi stava arrabattando per realizzare uno schema come da disegno allegato ma dei teleruttori con contatti normalmente chiusi interbloccabili meccanicamente non li ho trovati (l'ABB dice che li commercializzerà l'anno prossimo...mah)
fortunatamente nel frattempo ho scoperto che fabbricano questa apparecchiatura:
http://www.socomec.com/webdav/site/Soco ... ysM-it.pdf
Saluti
- Allegati
-
- bozza schema per quadro commutazione.jpeg (142.89 KiB) Osservato 5352 volte
9 messaggi
• Pagina 1 di 1
Torna a Impianti, sicurezza e quadristica
Chi c’è in linea
Visitano il forum: Nessuno e 193 ospiti

Elettrotecnica e non solo (admin)
Un gatto tra gli elettroni (IsidoroKZ)
Esperienza e simulazioni (g.schgor)
Moleskine di un idraulico (RenzoDF)
Il Blog di ElectroYou (webmaster)
Idee microcontrollate (TardoFreak)
PICcoli grandi PICMicro (Paolino)
Il blog elettrico di carloc (carloc)
DirtEYblooog (dirtydeeds)
Di tutto... un po' (jordan20)
AK47 (lillo)
Esperienze elettroniche (marco438)
Telecomunicazioni musicali (clavicordo)
Automazione ed Elettronica (gustavo)
Direttive per la sicurezza (ErnestoCappelletti)
EYnfo dall'Alaska (mir)
Apriamo il quadro! (attilio)
H7-25 (asdf)
Passione Elettrica (massimob)
Elettroni a spasso (guidob)
Bloguerra (guerra)
