Cos'è un motoavviatore?
Moderatori:
SandroCalligaro,
mario_maggi,
fpalone
10 messaggi
• Pagina 1 di 1
0
voti
Salve, nella scheda tecnica di una pompa ho trovato che il motore della pompa deve essere collegato a un motoavviatore che possa essere riarmato autonomamente. Il problema è che non ho idea di cosa significhi! 
-

alexandros82
20 2 - Messaggi: 49
- Iscritto il: 11 mag 2013, 17:25
0
voti
Uhmm... Dalla motopompa, al ... motoavviatore.
Difficile a dirsi senza vedere il contesto. Forse intende semplicemente teleavviatore con ripristino di qualche tipo della termica: dal pulsante rinciato, a soluzioni motorizzate. Boh!
Difficile a dirsi senza vedere il contesto. Forse intende semplicemente teleavviatore con ripristino di qualche tipo della termica: dal pulsante rinciato, a soluzioni motorizzate. Boh!
-

Candy
32,5k 7 10 13 - CRU - Account cancellato su Richiesta utente
- Messaggi: 10123
- Iscritto il: 14 giu 2010, 22:54
0
voti
Sarò più preciso: ho tra le mani le caratteristiche tecniche di una elettropompa gemellare. Nelle caratteristiche del "motore" c'è scritto testualmente:
"Il motore non incorpora una protezione del motore e deve essere collegato a un motoavviatore che possa essere riarmato manualmente. Il motoavviatore deve essere impostato in base alla corrente nominale del motore (I1/1)".
"Il motore non incorpora una protezione del motore e deve essere collegato a un motoavviatore che possa essere riarmato manualmente. Il motoavviatore deve essere impostato in base alla corrente nominale del motore (I1/1)".
-

alexandros82
20 2 - Messaggi: 49
- Iscritto il: 11 mag 2013, 17:25
0
voti
Ne approfitto per farvi un'altra domanda.
Il motore è trifase 380/415 V.
C'è scritto inoltre: tensione: 3x 220/240 D/380-415 Y V
Sicuramente si riferiscono al tipo di collegamento a stella o a triangolo da eseguire ma non ho ben capito in quale circostanza. Ossia se ho una tensione di rete trifase a 400 V come si deve collegare?
Il motore è trifase 380/415 V.
C'è scritto inoltre: tensione: 3x 220/240 D/380-415 Y V
Sicuramente si riferiscono al tipo di collegamento a stella o a triangolo da eseguire ma non ho ben capito in quale circostanza. Ossia se ho una tensione di rete trifase a 400 V come si deve collegare?
-

alexandros82
20 2 - Messaggi: 49
- Iscritto il: 11 mag 2013, 17:25
0
voti
Ancora la pompa gemellare vedo... Vista la quantità e qualità di discussioni (alcune gemellari come le pompe) aperte e domande poste, anche elementari, rimango perplesso davanti a chi si avventura in sostituzioni/installazioni, senza avere la benchè minima idea di quel che sta facendo e di quello che ha davanti gli occhi.
Chiedere lumi ad un forum, in casi come questo, non mi sembra sinonimo di "professionalità", ma più che altro di "non so che pesci prendere".
Cordialità.
Chiedere lumi ad un forum, in casi come questo, non mi sembra sinonimo di "professionalità", ma più che altro di "non so che pesci prendere".
Cordialità.
Ognuno sta solo sul cuor della terra
trafitto da un raggio di sole:
ed è subito sera
Salvatore Quasimodo
trafitto da un raggio di sole:
ed è subito sera
Salvatore Quasimodo
0
voti
Mah, io non ne facevo una questione economica. Tuttavia non è del tutto vero, esistono gli studi di progettazione. Tu esponi la situazione con annessi e connessi e loro ti elaborano un progetto con schema allegato e tipologia dei componenti da installare. Sicchè a te non rimane che acquistare il materiale e curare l'assemblaggio come da progetto.
Quel che mi infastidisce è il tipo di approccio. Non hai fatto seguito a diverse discussioni in cui avevi chiesto aiuto e in cui ti era stato dato a volontà, tra l'altro mi pare di averti risposto anche io ad uno o più quesiti.
Peccato che su tali discussioni, sia mancato il tuo feedback, ma piuttosto siano seguite nuove discussioni con nuove domande meramente legate alla modalità di installare la tua motopompa gemella.
Per fortuna, anche esprimere il proprio pensiero è gratis...
Quel che mi infastidisce è il tipo di approccio. Non hai fatto seguito a diverse discussioni in cui avevi chiesto aiuto e in cui ti era stato dato a volontà, tra l'altro mi pare di averti risposto anche io ad uno o più quesiti.
Peccato che su tali discussioni, sia mancato il tuo feedback, ma piuttosto siano seguite nuove discussioni con nuove domande meramente legate alla modalità di installare la tua motopompa gemella.
Per fortuna, anche esprimere il proprio pensiero è gratis...
Ognuno sta solo sul cuor della terra
trafitto da un raggio di sole:
ed è subito sera
Salvatore Quasimodo
trafitto da un raggio di sole:
ed è subito sera
Salvatore Quasimodo
0
voti
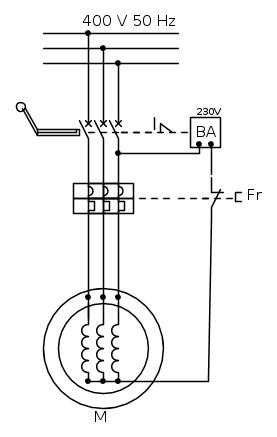
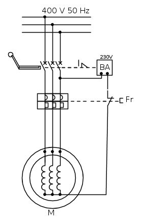
Ho conosciuto grandi compressori della COPCO e ATLAS, che era necessario l’avviamento manuale. Si deve spingere la leva dell’interruttore di potenza, si alimenta il motore, dal centro stella si alimenta la bobina di aggancio tramite contatto della protezione magneto termico. Se interviene la protezione, si sgancia l’interruttore per la diseccitazione della BA. Non so se s'intenda questo sistema. Lo schema è questo:Sarò più preciso: ho tra le mani le caratteristiche tecniche di una elettropompa gemellare. Nelle caratteristiche del "motore" c'è scritto testualmente:
"Il motore non incorpora una protezione del motore e deve essere collegato a un moto avviatore che possa essere riarmato manualmente. Il moto avviatore deve essere impostato in base alla corrente nominale del motore (I1/1)".
-

StefanoSunda
2.880 3 6 10 - Master

- Messaggi: 1962
- Iscritto il: 16 set 2010, 19:29
0
voti
Forse s’intende che il termico di protezione della pompa deve essere predisposto a “ripristino manuale”, perché si possono predisporre anche a ripristino automatico. A ripristino manuale, si può verificare la causa che ha fatto intervenire la protezione; mentre in posizione automatico dopo l’intervento della protezione, il motore riparte quando il relè termico si raffredda, quindi c’è il rischio di bruciatura del motore, se non si verifica la causa. Come ha detto qualcuno nella discussione va bene un salvamotore e basta."Il motore non incorpora una protezione del motore e deve essere collegato a un motoavviatore che possa essere riarmato manualmente. Il motoavviatore deve essere impostato in base alla corrente nominale del motore (I1/1)".
-

StefanoSunda
2.880 3 6 10 - Master

- Messaggi: 1962
- Iscritto il: 16 set 2010, 19:29
10 messaggi
• Pagina 1 di 1
Chi c’è in linea
Visitano il forum: Google Adsense [Bot] e 42 ospiti

Elettrotecnica e non solo (admin)
Un gatto tra gli elettroni (IsidoroKZ)
Esperienza e simulazioni (g.schgor)
Moleskine di un idraulico (RenzoDF)
Il Blog di ElectroYou (webmaster)
Idee microcontrollate (TardoFreak)
PICcoli grandi PICMicro (Paolino)
Il blog elettrico di carloc (carloc)
DirtEYblooog (dirtydeeds)
Di tutto... un po' (jordan20)
AK47 (lillo)
Esperienze elettroniche (marco438)
Telecomunicazioni musicali (clavicordo)
Automazione ed Elettronica (gustavo)
Direttive per la sicurezza (ErnestoCappelletti)
EYnfo dall'Alaska (mir)
Apriamo il quadro! (attilio)
H7-25 (asdf)
Passione Elettrica (massimob)
Elettroni a spasso (guidob)
Bloguerra (guerra)
