Boh, proviamo a sentire cosa ne pensa
Oscillatore 100 kHz
Moderatori:
carloc,
g.schgor,
BrunoValente,
IsidoroKZ
16 messaggi
• Pagina 2 di 2 • 1, 2
0
voti
io in genere faccio dei quadrati, ma in realtà non so se è l'idea migliore.
Boh, proviamo a sentire cosa ne pensa
IsidoroKZ...
Boh, proviamo a sentire cosa ne pensa
-

PietroBaima
90,7k 7 12 13 - G.Master EY

- Messaggi: 12206
- Iscritto il: 12 ago 2012, 1:20
- Località: Londra
0
voti
ok, anche perché non so più cosa inventarmi per far oscillare questo circuito... 
-

domenico89
0 4 - Messaggi: 27
- Iscritto il: 24 mag 2013, 12:57
1
voti

"Non farei mai parte di un club che accettasse la mia iscrizione" (G. Marx)
-

claudiocedrone
21,3k 4 7 9 - Master EY

- Messaggi: 15302
- Iscritto il: 18 gen 2012, 13:36
0
voti
Io proverei a visualizzare il guadagno d'anello in regime di piccolo segnale. Il problema è aprire l'anello senza avere difficoltà di polarizzazione. Puoi utilizzare un induttore di gran valore (100 H o anche più) piazzato di modo da mantenere l'anello chiuso in continua, ma aperto in alternata. Poi inietti un segnale con un generatore di tensione disaccoppiato con un condensatore anche lui "grosso". Facendo un'analisi di quello che c'è subito prima e subito dopo l'induttore si può vedere di capire se le condizioni di Barkhausen sono rispettate oppure no.
Follow me on Mastodon: @davbucci@mastodon.sdf.org
-

DarwinNE
31,0k 7 11 13 - G.Master EY

- Messaggi: 4420
- Iscritto il: 18 apr 2010, 9:32
- Località: Grenoble - France
0
voti
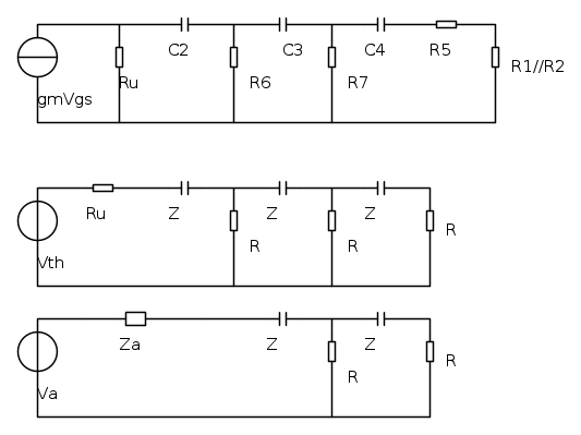
Più che altro volevo sapere se il mio ragionamento per il calcolo della funzione di trasferimento era giusto.
Ho agito nel seguente modo:
Ho disegnato il circuito alle variazioni e l'ho semplificato con theven come segue
Dove ho fatto la serie tra R1//R2 e R5, e dove Vth=gmVgsRu con Ru=R3//Ro
Ora ho posto R=R6=R7=R5+(R1//R2) e Z=C"=C3=C4 con Z=1/SC
Nella semplificazione successiva ottengo Va=Vth*(R/R+Z+Ru) e Za=R//(Z+Ru)
Poi, applicando ancora Thevenin:
dove Vb=Va*(R/R+Z+Za) e Zb=R//(Z+Za)
Ora mi ricavo la tensione Vout ai capi dell'ultima resistenza a destra:
Vuot=Vb*(R/R+Z+Zb)
Ora trovo la funzione di trasferimento Vin/Vout, dalla quale mi ricavo omega:

è giusto quello che ho fatto fino ad ora?
Più che altro va bene prendere la tensione di uscita Vout ai capi di R5+(R1//R2)??
Ho agito nel seguente modo:
Ho disegnato il circuito alle variazioni e l'ho semplificato con theven come segue
Dove ho fatto la serie tra R1//R2 e R5, e dove Vth=gmVgsRu con Ru=R3//Ro
Ora ho posto R=R6=R7=R5+(R1//R2) e Z=C"=C3=C4 con Z=1/SC
Nella semplificazione successiva ottengo Va=Vth*(R/R+Z+Ru) e Za=R//(Z+Ru)
Poi, applicando ancora Thevenin:
dove Vb=Va*(R/R+Z+Za) e Zb=R//(Z+Za)
Ora mi ricavo la tensione Vout ai capi dell'ultima resistenza a destra:
Vuot=Vb*(R/R+Z+Zb)
Ora trovo la funzione di trasferimento Vin/Vout, dalla quale mi ricavo omega:

è giusto quello che ho fatto fino ad ora?
Più che altro va bene prendere la tensione di uscita Vout ai capi di R5+(R1//R2)??
-

domenico89
0 4 - Messaggi: 27
- Iscritto il: 24 mag 2013, 12:57
0
voti
Salve a tutti, sono riuscito a far oscillare il circuito andando a modificare il valore del condensatore posto in parallelo alla resistenza di source...come mai?!?cioè, in che modo l'oscillazione dipende da questo condensatore?!?
-

domenico89
0 4 - Messaggi: 27
- Iscritto il: 24 mag 2013, 12:57
16 messaggi
• Pagina 2 di 2 • 1, 2
Chi c’è in linea
Visitano il forum: Nessuno e 34 ospiti

Elettrotecnica e non solo (admin)
Un gatto tra gli elettroni (IsidoroKZ)
Esperienza e simulazioni (g.schgor)
Moleskine di un idraulico (RenzoDF)
Il Blog di ElectroYou (webmaster)
Idee microcontrollate (TardoFreak)
PICcoli grandi PICMicro (Paolino)
Il blog elettrico di carloc (carloc)
DirtEYblooog (dirtydeeds)
Di tutto... un po' (jordan20)
AK47 (lillo)
Esperienze elettroniche (marco438)
Telecomunicazioni musicali (clavicordo)
Automazione ed Elettronica (gustavo)
Direttive per la sicurezza (ErnestoCappelletti)
EYnfo dall'Alaska (mir)
Apriamo il quadro! (attilio)
H7-25 (asdf)
Passione Elettrica (massimob)
Elettroni a spasso (guidob)
Bloguerra (guerra)
pigreco]=π
