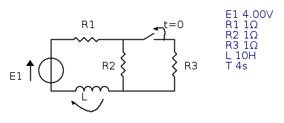
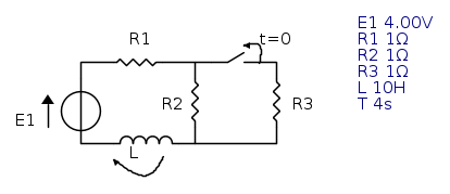
Buonasera a tutti,vi riscrivo perché ho nuovamente problemi con elettrotecnica che,ahimè,mi sta causando moltissimi problemi.Nel seguente esercizio:
I primi due punti sono stati completati con estrema semplicità ma al terzo punto mi sono bloccato,probabilmente per conoscenze che non ho ancora acquisito.Volevo chiedervi,per studiare il circuito a t=0+ (quindi un istante dopo l'apertura del circuito,giusto?) come devo procedere?Dovrei considerare solo la parte del circuito e scrivere un'equazione di K alla maglia del tipo:
E1-Vr+Vl=0 seguendo le convenzioni sui potenziali.A questo punto però mi chiedevo come trovare Vl senza conoscere la corrente passante per il circuito.Bisogna passare obbligatoriamente per le equazioni differenziali?
Circuito in transitorio
Moderatori:
g.schgor,
IsidoroKZ
8 messaggi
• Pagina 1 di 1
0
voti
dovrei aver capito che la corrente circolante nell'induttore è di 4 A,ma per ricavare il potenziale su di esso come posso procedere?Ringrazio in anticipo 
0
voti
altra domanda,in che modo posso calcolare la corrente massima e minima in un circuito?
0
voti
cocec ha scritto:dovrei aver capito che la corrente circolante nell'induttore è di 4 A,ma per ricavare il potenziale su di esso come posso procedere?Ringrazio in anticipo
No, se intendi la corrente per t->inf la corrente è pari ad E fratto la serie R1 R2, ovvero 2A.
All'apertura dell'interruttore si ha un transitorio di tipo esponenziale, essendo un elemento "con memoria", regolato dalla nota equazione caratteristica:

cocec ha scritto:altra domanda,in che modo posso calcolare la corrente massima e minima in un circuito?
Scusa questa domanda non ha senso generale.
-

rusty
4.075 2 9 11 - Utente disattivato per decisione dell'amministrazione proprietaria del sito
- Messaggi: 1578
- Iscritto il: 25 gen 2009, 13:10
0
voti
E fare il circuito con fidocad? Se si deve prendere il circuito e modificarlo e` piu` facile.
Come risolvete i circuiti con una sola costante di tempo? QUale metodo usate?
Come risolvete i circuiti con una sola costante di tempo? QUale metodo usate?
Per usare proficuamente un simulatore, bisogna sapere molta più elettronica di lui
Plug it in - it works better!
Il 555 sta all'elettronica come Arduino all'informatica! (entrambi loro malgrado)
Se volete risposte rispondete a tutte le mie domande
Plug it in - it works better!
Il 555 sta all'elettronica come Arduino all'informatica! (entrambi loro malgrado)
Se volete risposte rispondete a tutte le mie domande
0
voti
per trovare la costante di tempo il docente ci ha dato uno strano metodo che finora ha funzionato.Taglio il circuito in un punto a piacere passivo l intero circuito risolvo Z(lamba) rispetto ai 2 morsetti dove ho tagliato e lo pongo a 0.Spiegato così non si capirà molto a meno che tu non conosca sto metodo
Comunque il mio problema è relativo solo al 3° e 4° punto.Per quanto riguardo fitocad è un programma da scaricare?Un plug-in?perché ho un computer fisso comprato nel lontano 2005 che ha 540 Mb di ram quindi puoi immaginare quanto sia difficile anche solo la navigazione nel web :)
Dopo aver trovato le lambda si trovano la K e l integrale particolare considerando il circuito a regime e le condizioni iniziali
Dopo aver trovato le lambda si trovano la K e l integrale particolare considerando il circuito a regime e le condizioni iniziali
0
voti
http://sourceforge.net/projects/fidocadj/files/fidocadj.jar/download
Problema risolto, allo schema ci ho pensato io..stavolta!
Ognuno è un genio. Ma se si giudica un pesce dalla sua abilità di arrampicarsi sugli alberi lui passerà tutta la sua vita a credersi stupido.
8 messaggi
• Pagina 1 di 1
Torna a Elettrotecnica generale
Chi c’è in linea
Visitano il forum: Nessuno e 23 ospiti

Elettrotecnica e non solo (admin)
Un gatto tra gli elettroni (IsidoroKZ)
Esperienza e simulazioni (g.schgor)
Moleskine di un idraulico (RenzoDF)
Il Blog di ElectroYou (webmaster)
Idee microcontrollate (TardoFreak)
PICcoli grandi PICMicro (Paolino)
Il blog elettrico di carloc (carloc)
DirtEYblooog (dirtydeeds)
Di tutto... un po' (jordan20)
AK47 (lillo)
Esperienze elettroniche (marco438)
Telecomunicazioni musicali (clavicordo)
Automazione ed Elettronica (gustavo)
Direttive per la sicurezza (ErnestoCappelletti)
EYnfo dall'Alaska (mir)
Apriamo il quadro! (attilio)
H7-25 (asdf)
Passione Elettrica (massimob)
Elettroni a spasso (guidob)
Bloguerra (guerra)




