Cos'è ElectroYou | Login Iscriviti

ElectroYou - la comunità dei professionisti del mondo elettrico

Problema definizione frequenza immagine.

Elettronica lineare e digitale: didattica ed applicazioni

Moderatori: Foto Utentecarloc, Foto Utenteg.schgor, Foto UtenteBrunoValente, Foto UtenteIsidoroKZ

0
voti

[1] Problema definizione frequenza immagine.

Messaggioda Foto Utentegennyior » 11 feb 2014, 17:03

Salve a tutti ,
sto affrontando lo studio degli analizzatori di spettro , in un paragrafetto per nulla approfondito mi viene spiegata la frequenza immagine come una frequenza "simmetrica" alla frequenza fs=f0-Fif e che quindi si rispecchia in una fs' = f0+ Fif , dove Fif è la frequenza intermedia fissa del filtro passabanda e f0 quella fornita dall oscillatore locale.
Da un punto di vista grafico come faccio a spiegare questa problematica ? #-o
Avatar utente
Foto Utentegennyior
145 1 6
Frequentatore
Frequentatore
 
Messaggi: 155
Iscritto il: 21 nov 2013, 20:26

1
voti

[2] Re: problema definizione Frequenza immagine.

Messaggioda Foto Utentemarioursino » 11 feb 2014, 19:25

Supponendo di ricevere un segnale con diverse componenti spettrali all'ingresso di un mixer utilizzato per portare a frequenza intermedia la componente utile S_1 alla pulsazione w_1, avrai che il segnale (per esempio un interferente) S_2 che si trova alla pulsazione w_2=w_1+2w_{LO} si sovrappone al tuo in bassa frequenza.



(nell'ultima immagine mancano le componenti in alta frequenza)

Per evitare il fenomeno si fa precedere al mixer un filtro di reiezione dell'immagine o si implementa la sua eliminazione con apposite configurazioni (mixer a reiezione di immagine).
Avatar utente
Foto Utentemarioursino
5.687 3 9 13
G.Master EY
G.Master EY
 
Messaggi: 1598
Iscritto il: 5 dic 2009, 4:32

0
voti

[3] Re: problema definizione Frequenza immagine.

Messaggioda Foto Utentegennyior » 11 feb 2014, 20:45

Grazie per la risposta, vorrei porti un esempio , se il mio segnale è questo :




supponendo quindi di voler traslarne una generica componente a Fif tale che fs = fo - Fif , per farlo dovro'' traslare questa segnale e centrarlo in f0 e in -f0 giusto ? quindi alla destra e alla sinistra della componente continua, per quanto ho capito la frequenza immagine si presenta quando lo spettro del segnale da traslare risulta troppo esteso tale da dar vita ad una sovrapposizione che genera una componente analoga simmetrica fs' = f0+Fif .

fin qui è corretto o sono fuori strada ?
Avatar utente
Foto Utentegennyior
145 1 6
Frequentatore
Frequentatore
 
Messaggi: 155
Iscritto il: 21 nov 2013, 20:26

0
voti

[4] Re: Problema definizione frequenza immagine.

Messaggioda Foto Utentemarioursino » 11 feb 2014, 23:00

Secondo me sei fuori strada. L'argomento "frequenza immagine" di cui penso tu stia parlando si presenta nei ricevitori super-eterodina e i segnali sono in radiofrequenza, non attorno alla frequenza zero.
Avatar utente
Foto Utentemarioursino
5.687 3 9 13
G.Master EY
G.Master EY
 
Messaggi: 1598
Iscritto il: 5 dic 2009, 4:32

0
voti

[5] Re: Problema definizione frequenza immagine.

Messaggioda Foto Utentegennyior » 11 feb 2014, 23:14

Perdonami, questo che ho rappresentato è l'ingresso , in uscita al mixer avro' le due traslazioni :




a cui è applicato il filtro passa banda a frequenza intermedia fissa Fif.
Avatar utente
Foto Utentegennyior
145 1 6
Frequentatore
Frequentatore
 
Messaggi: 155
Iscritto il: 21 nov 2013, 20:26

0
voti

[6] Re: Problema definizione frequenza immagine.

Messaggioda Foto Utentemarioursino » 12 feb 2014, 15:51

Mi sono un po perso :-)
Qual è la domanda?
Avatar utente
Foto Utentemarioursino
5.687 3 9 13
G.Master EY
G.Master EY
 
Messaggi: 1598
Iscritto il: 5 dic 2009, 4:32

0
voti

[7] Re: Problema definizione frequenza immagine.

Messaggioda Foto Utentegennyior » 12 feb 2014, 15:54

suppongo di avere confusione in merito al funzionamento dell analizatore supereterodina , in particolare all'uscita del mixer e successivamente in ingresso al filtro cosa accade ?
Avatar utente
Foto Utentegennyior
145 1 6
Frequentatore
Frequentatore
 
Messaggi: 155
Iscritto il: 21 nov 2013, 20:26

0
voti

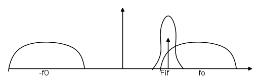
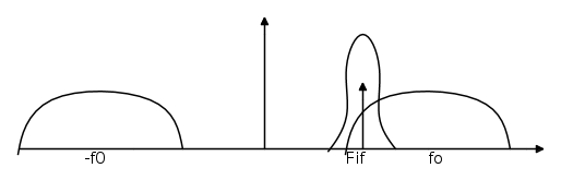
[8] Re: Problema definizione frequenza immagine.

Messaggioda Foto Utentemarioursino » 12 feb 2014, 16:02

Allora, all'ingresso del mixer non deve presentarsi la frequenza immagine altrimenti andrà a sovrapporsi irrimediabilmente al segnale che esce dal mixer.

Capture.PNG


Dopo il mixer viene selezionato il canale da demodulare attraverso il filtro CSF (channel select filter) che rimane fisso, mentre quello che cambia è solo la frequenza dell'oscillatore locale che trasla lo spettro d'uscita.
Avatar utente
Foto Utentemarioursino
5.687 3 9 13
G.Master EY
G.Master EY
 
Messaggi: 1598
Iscritto il: 5 dic 2009, 4:32

0
voti

[9] Re: Problema definizione frequenza immagine.

Messaggioda Foto Utentegennyior » 12 feb 2014, 16:03

ok , a partire da questa definizione quindi la Fif è fissa , ossia la frequenza intermedia del filtro mentre cambia la frequenza f0 dell oscillatore locale che trasla la componente spettrale di interesse giusto ?
Avatar utente
Foto Utentegennyior
145 1 6
Frequentatore
Frequentatore
 
Messaggi: 155
Iscritto il: 21 nov 2013, 20:26

0
voti

[10] Re: Problema definizione frequenza immagine.

Messaggioda Foto Utentemarioursino » 12 feb 2014, 16:05

Esatto, è questa la filosofia del transceiver, in questo modo non serve avere un banco di filtri per coprire tutti i canali che ti interessano.
Avatar utente
Foto Utentemarioursino
5.687 3 9 13
G.Master EY
G.Master EY
 
Messaggi: 1598
Iscritto il: 5 dic 2009, 4:32

Prossimo

Torna a Elettronica generale

Chi c’è in linea

Visitano il forum: Nessuno e 214 ospiti