Volevo anche dire due parole a proposito del
contatto reed MKA14103 presente nel kit.

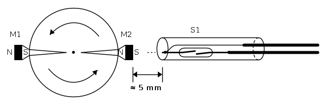
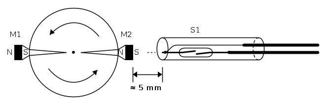
- Contatto reed MKA14103
È un componente molto affidabile, ma è anche delicato.
Per piegare, tagliare o saldare i terminali bisogna sempre tenere il terminale con una pinza a becchi
tra la parte sigillata di vetro e il punto dove si va ad operare (vedi la Figura 2 in
questa pagina).
Non bisogna mai stringere, far leva o sforzare la parte di vetro, che può scheggiarsi o rompersi. L'interposizione di una pinza che stringe il terminale
TRA il vetro e il punto di lavoro preserva il vetro da sforzi meccanici, vibrazioni o shock termici.
Ho inserito il reed in un tubetto di plastica per proteggerlo durante la spedizione. Nello stesso tubetto è inserito un sottile filo per wire-wrap. Tirando il filo si estrae il contatto reed (attenzione a non farlo cadere a terra).
Volendo, si possono usare lo stesso filo e un pezzo dello stesso tubetto per proteggere il reed e realizzare il sensore di prossimità necessario per rilevare la posizione del girauova e terminare il movimento nelle posizioni corrette. Oppure si può usare un tubetto più grande (che non sia di materiale ferromagnetico) e fissare il reed all'interno con silicone.
Ci sono vari modi di attivare un contatto reed con un magnete. Io propongo per quest'uso di avvicinare a un estremo del reed il polo Nord o Sud di un piccolo magnete al neodimio, possibilmente attaccato alla testa di un chiodo o di una vite ferrosa, come visibile nello schema elettrico.
Per aumentare la sensibilità si può avvicinare di più il magnete a uno degli estremi dell'ampolla di vetro, se necessario accorciando (con le dovute precauzioni già descritte) un terminale del reed dopo averci saldato il filo di rame.
La saldatura sarà agevole essendo i terminali dorati e quindi privi di ossido. Smeriglia e ravviva con stagno un filo di rame (eventualmente lo spezzoncino per wire-wrap, perché possa passare nel tubetto a fianco del reed) e tenendo il terminale del reed con le pinze a becchi saldalo possibilmente in meno di 2 secondi per evitare shock termici al vetro.
Sempre dentro al tubetto dovranno stare altre due saldature con due fili di rame isolati, più grossi e robusti, eventualmente sfalsate affinché non si tocchino.
Questi due fili più grossi potranno essere forzati dentro il tubetto per qualche millimetro, e così mantenere bloccato il tutto. Oppure (e penso sia preferibile) usa un tubetto più grosso (magari il contenitore plastico di una penna), infila il reed con i fili già saldati e blocca tutto riempiendo il tubetto di silicone. Così non dovrai forzare nulla.