Cos'è ElectroYou | Login Iscriviti

ElectroYou - la comunità dei professionisti del mondo elettrico

Strano quesito su spinta di archimede

Leggi e teorie della fisica

Moderatori: Foto UtenteIsidoroKZ, Foto UtentePietroBaima, Foto UtenteIanero

0
voti

[1] Strano quesito su spinta di archimede

Messaggioda Foto Utenteelettrobit » 12 lug 2014, 12:00

Ciao a tutti, ho un problema col seguente quesito:

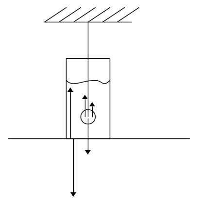
Un recipiente contenente acqua si trova sul piatto di una bilancia, che indica un peso P0. Se si mette nell'acqua una sferetta di ferro, sostenendola dall'esterno con una cordicella in modo che la sferetta sia completamente immersa e che non tocchi il fondo del recipiente, cosa indica la bilancia?

Risposte:
1) Nessuna variazione di peso
2) Un aumento di peso pari alla somma dei pesi della sferetta e del liquido spostato
3) Un aumento di peso pari al peso del liquido spostato dalla sferetta
4) Nessuna risposta è corretta


Io ho seguito il seguente ragionamento:
In assenza della sferetta, la bilancia indica il peso della massa M di acqua (ritenendo trascurabile la presenza del recipiente).
La forza agente sul sistema recipiente + massa d'acqua è dunque: Po=M*g

Immergendo la sferetta (di massa m) e tenendola ferma con una cordicella, sulla sferetta risultano applicate le seguenti forze: peso della sferetta, spinta di archimede Fa e tensione del filo T.
Essendo la sferetta ferma, queste tre forze si equilibrano:
m*g-Fa-T=0

In tale condizione, le forze agenti sul sistema recipiente con acqua + sferetta sono: peso della massa d'acqua, peso della sferetta, spinta di archimede sulla sferetta Fa e tensione del filo T:
M*g+(m*g-Fa-T)

Ma il termine in parentesi è zero (ricavato prima), per cui la bilancia non dovrebbe indicare alcuna variazione di peso rispetto al caso di assenza della sferetta.
M*g+(m*g-Fa-T) = M*g+0=M*g

tuttavia la risposta corretta è la 3) !
Dove sbaglio??
Avatar utente
Foto Utenteelettrobit
0 3
 
Messaggi: 26
Iscritto il: 11 ott 2012, 13:48

0
voti

[2] Re: Strano quesito su spinta di archimede

Messaggioda Foto UtenteIanero » 12 lug 2014, 12:14

Il sistema che hai considerato comprende non solo la sferetta, ma anche l'acqua.
La forza di Archimede è pertanto interna, quindi non hai applicato il terzo principio della dinamica. :-)

Quale manca?




PS: Le forze non sono disegnate nel loro reale punto di applicazione, altrimenti non si capirebbe nulla dal disegno.
:shock:
Avatar utente
Foto UtenteIanero
8.069 5 8 13
Master EY
Master EY
 
Messaggi: 4320
Iscritto il: 21 mar 2012, 15:47

0
voti

[3] Re: Strano quesito su spinta di archimede

Messaggioda Foto Utenteelettrobit » 12 lug 2014, 12:34

Ciao, grazie per la risposta, tuttavia non ho ben capito :(
Nel tuo disegno, sulla sferetta agiscono forza perso della stessa, spinta di archimede e reazione vincolare T del filo.
Le altre due forze che hai rappresentato sono il peso della massa d'acqua e la reazione vincolare della bilancia (prima forza el tuo disegno, partendo da sinistra).
Intendevi questo?
Avatar utente
Foto Utenteelettrobit
0 3
 
Messaggi: 26
Iscritto il: 11 ott 2012, 13:48

0
voti

[4] Re: Strano quesito su spinta di archimede

Messaggioda Foto UtenteIanero » 12 lug 2014, 12:55

Si ma ne manca una, quale? :-)

La forza di Archimede è interna per il sistema che hai scelto.
Cosa dice il terzo principio della dinamica?
:shock:
Avatar utente
Foto UtenteIanero
8.069 5 8 13
Master EY
Master EY
 
Messaggi: 4320
Iscritto il: 21 mar 2012, 15:47

0
voti

[5] Re: Strano quesito su spinta di archimede

Messaggioda Foto Utenteelettrobit » 12 lug 2014, 16:33

Il terzo principio della dinamica afferma che per ogni forza che un corpo A esercita su di un altro corpo B, ne esiste istantaneamente un'altra uguale in modulo e direzione, ma opposta in verso, causata dal corpo B che agisce sul corpo A.

Dicendomi che la forza di Archimede è interna per il sistema che scelto, mi suggerisci che c'è una forza uguale e opposta ad essa (quindi diretta verso il basso).

Tuttavia non riesco a vederla :(
Avatar utente
Foto Utenteelettrobit
0 3
 
Messaggi: 26
Iscritto il: 11 ott 2012, 13:48

1
voti

[6] Re: Strano quesito su spinta di archimede

Messaggioda Foto UtenteIanero » 12 lug 2014, 16:35

L'acqua esercita una forza sulla sfera, e la sfera...
:shock:
Avatar utente
Foto UtenteIanero
8.069 5 8 13
Master EY
Master EY
 
Messaggi: 4320
Iscritto il: 21 mar 2012, 15:47

0
voti

[7] Re: Strano quesito su spinta di archimede

Messaggioda Foto Utenteelettrobit » 12 lug 2014, 16:59

esercita una forza sull'acqua :-)

La relazione sull'equilibrio della sferetta è corretta, giusto?
m*g-F_a-T=0
Ultima modifica di Foto Utenteelettrobit il 12 lug 2014, 17:25, modificato 1 volta in totale.
Avatar utente
Foto Utenteelettrobit
0 3
 
Messaggi: 26
Iscritto il: 11 ott 2012, 13:48

0
voti

[8] Re: Strano quesito su spinta di archimede

Messaggioda Foto UtenteIanero » 12 lug 2014, 17:05

Sì, ma la risultante sulla sferetta sarà comunque nulla.
La forza di Archimede è pari al peso del liquido spostato, la cui controparte agisce quindi verso il basso e incrementa la lancetta della bilancia :-)
:shock:
Avatar utente
Foto UtenteIanero
8.069 5 8 13
Master EY
Master EY
 
Messaggi: 4320
Iscritto il: 21 mar 2012, 15:47

0
voti

[9] Re: Strano quesito su spinta di archimede

Messaggioda Foto Utenteelettrobit » 12 lug 2014, 17:10

Quindi la risultante delle forze agenti sul sistema sferetta + acqua è:

-T-F_a+F_a+m*g+M*g

(tensione del filo, spinta di archimede, reazione della sferetta alla spinta di archimede, peso della sferetta e peso dell'acqua)

Essendo m*g-F_a-T=0, si ha che la risultante delle forze sul sistema sferetta + acqua è F_a+M*g
è corretto?
Ultima modifica di Foto Utenteelettrobit il 12 lug 2014, 17:25, modificato 1 volta in totale.
Avatar utente
Foto Utenteelettrobit
0 3
 
Messaggi: 26
Iscritto il: 11 ott 2012, 13:48

0
voti

[10] Re: Strano quesito su spinta di archimede

Messaggioda Foto UtenteIanero » 12 lug 2014, 17:12

:ok:
:shock:
Avatar utente
Foto UtenteIanero
8.069 5 8 13
Master EY
Master EY
 
Messaggi: 4320
Iscritto il: 21 mar 2012, 15:47

Prossimo

Torna a Fisica generale

Chi c’è in linea

Visitano il forum: Nessuno e 47 ospiti