[img][/img]
Ciao a tutti.
Oltre trent'anni alla Scuola Trasmissione dell'Esercito a Roma feci il corso per l'incarico di apparecchiatore telefonico,telegrafonico e centralini. Il corso consistette in qualche ora di aula e molte settimane a fare nulla. A distanza di anni, partendo dai ricordi e trovando un'immagine di base in internet di una telescrivente in codice Baudot cedo di averla ricostruita. Volete dargli un'occhiata?
Ho volutamente usato un linguaggio antiquato e delle foto d'epoca...beh tranne i motori, il disegno l'ho preso da nota e moderna fabbrica di motori elettrici italiabi.
PS. I sottufficiale alla ST erano in gamba, le aule moderne....mancava l'organizzazione!
Telescrivente Baudot
Moderatori:
g.schgor,
IsidoroKZ
5 messaggi
• Pagina 1 di 1
0
voti
Uno che non ha nulla da fare e che accetti di tornare indietro nel tempo.
Come passatempo mi sembra economico...e credo anche interessante.
Come passatempo mi sembra economico...e credo anche interessante.
0
voti
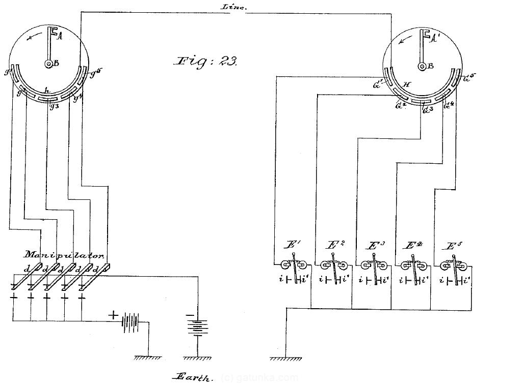
Ne ho ridisegnata una partendo da uno schema molto sintetico:
Se i due perni ruotano alla stessa velocità ciascun tasto azionerà il relè corrispondente.
Ciascun relè farà un forno nella carta (ferma) a fine giro la carta avanzerà di una distanza determinatata e si avranno altri fori (codice baudot). Se si inserisce il nastro così perforato in una macchina da scrivere avremo da una cinque leve che si muoveranno simultaneamente e queste bastano a battere il carattere.
Se i due perni ruotano alla stessa velocità ciascun tasto azionerà il relè corrispondente.
Ciascun relè farà un forno nella carta (ferma) a fine giro la carta avanzerà di una distanza determinatata e si avranno altri fori (codice baudot). Se si inserisce il nastro così perforato in una macchina da scrivere avremo da una cinque leve che si muoveranno simultaneamente e queste bastano a battere il carattere.
5 messaggi
• Pagina 1 di 1
Torna a Elettrotecnica generale
Chi c’è in linea
Visitano il forum: Nessuno e 28 ospiti

Elettrotecnica e non solo (admin)
Un gatto tra gli elettroni (IsidoroKZ)
Esperienza e simulazioni (g.schgor)
Moleskine di un idraulico (RenzoDF)
Il Blog di ElectroYou (webmaster)
Idee microcontrollate (TardoFreak)
PICcoli grandi PICMicro (Paolino)
Il blog elettrico di carloc (carloc)
DirtEYblooog (dirtydeeds)
Di tutto... un po' (jordan20)
AK47 (lillo)
Esperienze elettroniche (marco438)
Telecomunicazioni musicali (clavicordo)
Automazione ed Elettronica (gustavo)
Direttive per la sicurezza (ErnestoCappelletti)
EYnfo dall'Alaska (mir)
Apriamo il quadro! (attilio)
H7-25 (asdf)
Passione Elettrica (massimob)
Elettroni a spasso (guidob)
Bloguerra (guerra)


