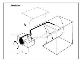
Salve, il mio libro afferma che se alimento il collettore con una tensione V , se il rotore gira in senso orario , nel polo nord avrò una corrente I/2 e in quello sud -I/2.
Per quale motivo la corrente si divide in due ??? Non passa la stessa corrente sulla spira ?
Collettore su motore a CC
Moderatori:
SandroCalligaro,
mario_maggi,
fpalone
5 messaggi
• Pagina 1 di 1
0
voti
Certo che la corrente sarà la stessa su tutta la spira (dal disegno che hai postato)!
Il disegno viene dallo stesso libro, o nel caso in question c'è anche qualche altra spira?
Il disegno viene dallo stesso libro, o nel caso in question c'è anche qualche altra spira?
-

SandroCalligaro
2.970 2 4 5 - G.Master EY

- Messaggi: 1181
- Iscritto il: 6 ago 2015, 19:25
0
voti
Il disegno non viene dal libro. Credo che il libro intenda la configurazione con gli avvolgimenti collegati tra loro a circuito chiuso
-

themagiciant95
27 1 1 7 - Frequentatore

- Messaggi: 167
- Iscritto il: 5 ott 2015, 15:57
0
voti
perché credevo che si comportasse allo stesso modo e mi sono sbagliato 
-

themagiciant95
27 1 1 7 - Frequentatore

- Messaggi: 167
- Iscritto il: 5 ott 2015, 15:57
5 messaggi
• Pagina 1 di 1
Chi c’è in linea
Visitano il forum: Nessuno e 46 ospiti

Elettrotecnica e non solo (admin)
Un gatto tra gli elettroni (IsidoroKZ)
Esperienza e simulazioni (g.schgor)
Moleskine di un idraulico (RenzoDF)
Il Blog di ElectroYou (webmaster)
Idee microcontrollate (TardoFreak)
PICcoli grandi PICMicro (Paolino)
Il blog elettrico di carloc (carloc)
DirtEYblooog (dirtydeeds)
Di tutto... un po' (jordan20)
AK47 (lillo)
Esperienze elettroniche (marco438)
Telecomunicazioni musicali (clavicordo)
Automazione ed Elettronica (gustavo)
Direttive per la sicurezza (ErnestoCappelletti)
EYnfo dall'Alaska (mir)
Apriamo il quadro! (attilio)
H7-25 (asdf)
Passione Elettrica (massimob)
Elettroni a spasso (guidob)
Bloguerra (guerra)