
Delucidazioni di integrato
Moderatori:
carloc,
g.schgor,
BrunoValente,
IsidoroKZ
3 messaggi
• Pagina 1 di 1
0
voti
Dato che ho recuperato dei 74ls175 (sic flip flop with clear) e stavo pensando di provarli per vedere quali funzionano e quali no mi sono arenato sulla funzione clear. Non so come e dove collegarlo. Il primo disegno è stato fatto con un simulatore (everycircuit versione per android). Grazie di tutto anche solo per aver letto l'argomento. 

0
voti
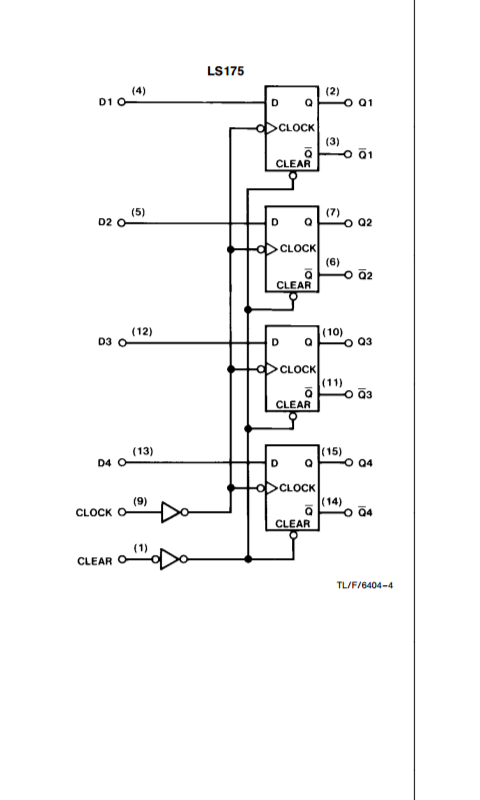
Il clear lo colleghi all'alimentazione positiva (segnale alto, H), e cosi` non e` attivo e i flip flop possono funzionare normalmente. Se da H lo fai diventare L (collegato all'alimentazione negativa), tutti i flip flop vengono resettati.
Se pensi di usare dei fili per collegare i vari ingressi ad H o L in generale potresti avere dei malfunzionamenti perche' lasci degli ingressi aperti e perche' quando fai un collegamento puoi avere dei rimbalzi (impulsi multipli). In questo caso non avendo a che fare con un contatore ed essendo in tecnologia TTL LS, forse funziona lo stesso anche con i fili che vengono spostati dal positivo al negativo e viceversa.
Se pensi di usare dei fili per collegare i vari ingressi ad H o L in generale potresti avere dei malfunzionamenti perche' lasci degli ingressi aperti e perche' quando fai un collegamento puoi avere dei rimbalzi (impulsi multipli). In questo caso non avendo a che fare con un contatore ed essendo in tecnologia TTL LS, forse funziona lo stesso anche con i fili che vengono spostati dal positivo al negativo e viceversa.
Per usare proficuamente un simulatore, bisogna sapere molta più elettronica di lui
Plug it in - it works better!
Il 555 sta all'elettronica come Arduino all'informatica! (entrambi loro malgrado)
Se volete risposte rispondete a tutte le mie domande
Plug it in - it works better!
Il 555 sta all'elettronica come Arduino all'informatica! (entrambi loro malgrado)
Se volete risposte rispondete a tutte le mie domande
1
voti
Nello schema che proponi colleghi i FF in una catena (una specie di registro di shift) con un loop.
Così la testabilità è bassina.
Meglio sarebbe collegare almeno l'ingresso del primo FF ad un deviatore che ti permetta di scegliere tra H e L.
I problemi citati da IsidoroKZ sono reali. L'avere la linea a livello indefinito durante la commutazione lo puoi risolvere con un pull-up o pull-down sulla linea stessa. I rimbalzi sugli ingressi non sono rilevanti (a meno che avvengano all'interno del setup-time: 20 ns prima del clock).
I rimbalzi sono invece un problema sulla linea di clock. Come pensi di generarla? Sarebbe bene avere un generatore di funzioni messo in onda quadra ad una frequenza molto bassa (0.1 Hz o giú di lì).
Come sequenza di test in ingresso userei 0 - 0 - 1 - 1 - 0 (è un classico che contiene tutte le transizioni possibili).
Ciao, Boiler
P.S.: la prossima volta, per favore, usa FidoCadJ come da regolamento del forum.
Così la testabilità è bassina.
Meglio sarebbe collegare almeno l'ingresso del primo FF ad un deviatore che ti permetta di scegliere tra H e L.
I problemi citati da IsidoroKZ sono reali. L'avere la linea a livello indefinito durante la commutazione lo puoi risolvere con un pull-up o pull-down sulla linea stessa. I rimbalzi sugli ingressi non sono rilevanti (a meno che avvengano all'interno del setup-time: 20 ns prima del clock).
I rimbalzi sono invece un problema sulla linea di clock. Come pensi di generarla? Sarebbe bene avere un generatore di funzioni messo in onda quadra ad una frequenza molto bassa (0.1 Hz o giú di lì).
Come sequenza di test in ingresso userei 0 - 0 - 1 - 1 - 0 (è un classico che contiene tutte le transizioni possibili).
Ciao, Boiler
P.S.: la prossima volta, per favore, usa FidoCadJ come da regolamento del forum.
3 messaggi
• Pagina 1 di 1
Chi c’è in linea
Visitano il forum: Nessuno e 242 ospiti

Elettrotecnica e non solo (admin)
Un gatto tra gli elettroni (IsidoroKZ)
Esperienza e simulazioni (g.schgor)
Moleskine di un idraulico (RenzoDF)
Il Blog di ElectroYou (webmaster)
Idee microcontrollate (TardoFreak)
PICcoli grandi PICMicro (Paolino)
Il blog elettrico di carloc (carloc)
DirtEYblooog (dirtydeeds)
Di tutto... un po' (jordan20)
AK47 (lillo)
Esperienze elettroniche (marco438)
Telecomunicazioni musicali (clavicordo)
Automazione ed Elettronica (gustavo)
Direttive per la sicurezza (ErnestoCappelletti)
EYnfo dall'Alaska (mir)
Apriamo il quadro! (attilio)
H7-25 (asdf)
Passione Elettrica (massimob)
Elettroni a spasso (guidob)
Bloguerra (guerra)



