Si tratta di un circuito che ho trovato in un brevetto americano. Pertanto ho un po' di difficoltà nel tradurlo correttamente.
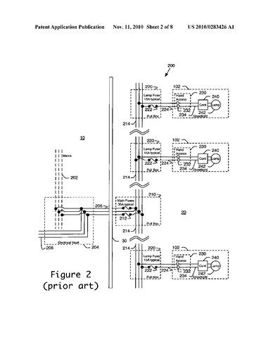
1- come posso tradurre la parola "power supply" correttamente in italiano? Viene indicata con il numero 200 in figura e indica praticamente tutta la figura.
Partendo dalla rete elettrica trifase (main) fornita dal Comune, vorrei chiedervi alcune cose:
2- cosa rappresenta il riquadro 204 "electrical vault"? A cosa serve? Come è traducibile in italiano?
3- La linea elettrica (206) comprende più conduttori che portano, tipicamente, corrente alternata e passa nella “main fuses pull box” (210) dove sono posizionati i fusibili principali (212) per proteggere il circuito dalle sovracorrenti. Cosa rappresenta la "main fuses pull box" 210 in figura? Cosa è? Come è traducibile in italiano? E' giusto più o meno che i fusibili principali siano di 35A circa?
4- Dal riquadro "main fuses pull box" le linee si ripartiscono per i diversi lampioni e in particolare nelle "streetlight pull box" (220) dove si trovano altri fusibili di 15A tipicamente. E' giusto sommariamente questo valore? E in particolare la cosa che non riesco a comprendere, è come si possa prendere 2 soli conduttori della linea trifase. Ho studiato che per alimentare le lampadine in monofase, dovrei prelevare un conduttore dei 3 e il filo di neutro (che pero' qui non c'è) per il ritorno della corrente. Qui invece prende 2 conduttori della linea trifase. Come mai?
5- L'ultimo riquadro 102 rappresenta tutto il lampione. In particolare come è traducibile il riquadro 230 "hand access"? Cosa rappresenta? A cosa serve per un lampione? Invece il 240 viene chiamato "control", come posso tradurlo in italiano? Controllore? Sostanzialmente c'è scritto che "Il controllore (240) può comprendere un sensore fotoelettrico o un timer (non mostrato) per accendere il lampione quando si fa buio e spegnersi quando è luce". Quindi come posso chiamarlo in italiano? Controllore è tecnicamente corretto?
Impianto di pubblica illuminazione
Moderatori:
sebago,
MASSIMO-G,
lillo,
Mike
1 messaggio
• Pagina 1 di 1
1 messaggio
• Pagina 1 di 1
Torna a Impianti, sicurezza e quadristica
Chi c’è in linea
Visitano il forum: Nessuno e 105 ospiti

Elettrotecnica e non solo (admin)
Un gatto tra gli elettroni (IsidoroKZ)
Esperienza e simulazioni (g.schgor)
Moleskine di un idraulico (RenzoDF)
Il Blog di ElectroYou (webmaster)
Idee microcontrollate (TardoFreak)
PICcoli grandi PICMicro (Paolino)
Il blog elettrico di carloc (carloc)
DirtEYblooog (dirtydeeds)
Di tutto... un po' (jordan20)
AK47 (lillo)
Esperienze elettroniche (marco438)
Telecomunicazioni musicali (clavicordo)
Automazione ed Elettronica (gustavo)
Direttive per la sicurezza (ErnestoCappelletti)
EYnfo dall'Alaska (mir)
Apriamo il quadro! (attilio)
H7-25 (asdf)
Passione Elettrica (massimob)
Elettroni a spasso (guidob)
Bloguerra (guerra)