Terminazione linea per disturbi ad alta frequenza
Moderatori:
carloc,
g.schgor,
BrunoValente,
IsidoroKZ
36 messaggi
• Pagina 2 di 4 • 1, 2, 3, 4
0
voti
Ciao, scusa per il ritardo della risposta.
In realta' puo' essere anche una considerazione implicita ma per me anche no. Nel senso che quello e' un sistema differenziale in quanto se fosse single ended non avrebbe una linea di ritorno come disegnato li'. A meno che non si tratti di una guida d'onda o di un'antenna, una linea di trasmissione e' comunque sempre composta da due conduttori, di cui uno e' il riferimento (massa o come vuoi chiamarlo).
In pratica, vedendo quel disegno non puoi sbagliarti dicendo che una delle due linee funge da collegamento "positivo" e l'altra da collegamento a massa in quanto non puo' essere cosi', per questo dico che l'assunzione non e' troppo implicita. In RF il concetto di linea di trasmissione integra sempre il riferimento, almeno finche' si parla di TEM, ed il riferimento e' qualcosa di implicito e univoco.
Nel tuo caso, quel condensatore li' non sara' collegato a un punto qualsiasi della "massa" ma sara' collegato dove si congiunge il conduttore di riferimento delle due linee che arrivano al carico (puo' essere la calza di un coassiale o il piano di massa di una stripline. Lo stesso vale a monte per il generatore.
Forse ho fatto un po' di casino ma spero di averti fatto capire il concetto. Spero che passi a leggere anche qualcun altro di esperto in quanto non vorrei dirti cavolate.
In realta' puo' essere anche una considerazione implicita ma per me anche no. Nel senso che quello e' un sistema differenziale in quanto se fosse single ended non avrebbe una linea di ritorno come disegnato li'. A meno che non si tratti di una guida d'onda o di un'antenna, una linea di trasmissione e' comunque sempre composta da due conduttori, di cui uno e' il riferimento (massa o come vuoi chiamarlo).
In pratica, vedendo quel disegno non puoi sbagliarti dicendo che una delle due linee funge da collegamento "positivo" e l'altra da collegamento a massa in quanto non puo' essere cosi', per questo dico che l'assunzione non e' troppo implicita. In RF il concetto di linea di trasmissione integra sempre il riferimento, almeno finche' si parla di TEM, ed il riferimento e' qualcosa di implicito e univoco.
Nel tuo caso, quel condensatore li' non sara' collegato a un punto qualsiasi della "massa" ma sara' collegato dove si congiunge il conduttore di riferimento delle due linee che arrivano al carico (puo' essere la calza di un coassiale o il piano di massa di una stripline. Lo stesso vale a monte per il generatore.
Forse ho fatto un po' di casino ma spero di averti fatto capire il concetto. Spero che passi a leggere anche qualcun altro di esperto in quanto non vorrei dirti cavolate.
0
voti
Pioz ha scritto:trasmissione e' comunque sempre composta da due conduttori, di cui uno e' il riferimento (massa o come vuoi chiamarlo).
Giusto, ma questa non è la definizione di sistema differenziale.
Pioz ha scritto:quello e' un sistema differenziale in quanto se fosse single ended non avrebbe una linea di ritorno come disegnato li'..
Non è corretto. Ogni sistema ha una linea di "ritorno" per la corrente, altrimenti il circuito non sarebbe chiuso.
- Un discorso è avere due fili, uno per il segnale ed uno che è la massa di riferimento
- Un altro discorso è avere due fili per portare un segnale differenziale: su un filo passa un segnale, sul secondo filo passa il segnale invertito. Rispetto a cosa? Rispetto ad un TERZO conduttore, che farà da riferimento.
Questo secondo caso permette trasmissione differenziale, il primo no.
Nel disegno iniziale si può pensare che le due linee abbiano il riferimento in comune (le calze dei due cavi coassiali? I piani di massa delle due microstrisce? poco cambia l'implementazione tecnologica effettiva in questo caso).
Se la massa non è comune, non puoi avere trasmissione di segnale differenziale, il riferimento comune è l'obbligo, e due soli conduttori non ti bastano (come non te ne basta uno singolo per trasmettere un segnale single ended, hai sempre bisogno del riferimento).
"The past is not really the past until it has been registered. Or put another way, the past has no meaning or existence unless it exists as a record in the present."
John Archibald Wheeler
John Archibald Wheeler
0
voti
DrCox ha scritto:Pioz ha scritto:trasmissione e' comunque sempre composta da due conduttori, di cui uno e' il riferimento (massa o come vuoi chiamarlo).
Giusto, ma questa non è la definizione di sistema differenziale.
Ciao! Mi sono espresso male ma non intendevo quello che dici tu. Intendo che se parli di linea di trasmissione parli sempre di due conduttori, a meno che appunto non si esca dal modo TEM. In pratica quando tu disegni una linea di trasmissione sullo schema stai gia' disegnadno due fili, solo che ne rappresenti uno. E' questo che volevo dire.
Non è corretto. Ogni sistema ha una linea di "ritorno" per la corrente, altrimenti il circuito non sarebbe chiuso.
- Un discorso è avere due fili, uno per il segnale ed uno che è la massa di riferimento
- Un altro discorso è avere due fili per portare un segnale differenziale: su un filo passa un segnale, sul secondo filo passa il segnale invertito. Rispetto a cosa? Rispetto ad un TERZO conduttore, che farà da riferimento.
Questo secondo caso permette trasmissione differenziale, il primo no.
Anche questo si spiega con quello che ho appena ribadito. Ogni linea e' gia' composta di due fili, quindi se ho due linee con il riferimento cortocircuitato (alle estremita', non fisicamente una calza unica senno cambiano le caratteristiche della linea stessa) allora ho per forza 3 conduttori.
Se si ha familiarita' solo con i "fili" non e' semplice entrare nell'ottica delle linee. Ad esempio, copiando lo schema iniziale di Ianero, lui ha disegnato un "filo" di collegamento. Quel filo non ha senso fisico cosi' come e' fatto a meno che il collegamento non sia cortissimo. Nel caso generale anche quel filo sarebbe una linea di trasmissione a tutti gli effetti.
Di nuovo, spero di non dire stronzate, ma il concetto che ho espresso mi sembra corretto.
0
voti
Pioz ha scritto: Quel filo non ha senso fisico cosi' come e' fatto a meno che il collegamento non sia cortissimo.
Sì certo, intendevo che quel filo fosse cortissimo. Non l'ho detto esplicitamente ma l'ho disegnato proprio con quella idea.
Pioz ha scritto:Nel tuo caso, quel condensatore li' non sara' collegato a un punto qualsiasi della "massa" ma sara' collegato dove si congiunge il conduttore di riferimento delle due linee che arrivano al carico (puo' essere la calza di un coassiale o il piano di massa di una stripline. Lo stesso vale a monte per il generatore.
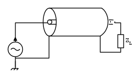
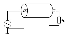
Non ho capito. Intendi forse questo?
A meno che non abbia preso grosse sviste, questo caricherebbe la linea, penso che non può andare bene.
Mi sbaglio?
La mia curiosità è capire come si fanno le connessioni nel caso reale.
Se ad esempio ho un coassiale, dove da un lato inserisco un generatore tra mantello interno ed esterno, mentre dall'altro collego il carico come nel disegno che ho appena postato, allora direi che non va bene.
Come bisognerebbe collegarlo dunque?
Grazie a tutti per la pazienza.
2
voti
Ianero ha scritto:La mia curiosità è capire come si fanno le connessioni nel caso reale.
Io le farei così:
Linea di trasmissione single-ended
cavo coassiale:
Microstrip:
Linea di trasmissione differenziale
"The past is not really the past until it has been registered. Or put another way, the past has no meaning or existence unless it exists as a record in the present."
John Archibald Wheeler
John Archibald Wheeler
1
voti
IN radio frequenza, le linee simmetriche (bilanciate) (piattina) sono problematiche, si cerca di trasformarle in sbilanciate (cavo coassiale) il prima possibile con un balun
https://it.wikipedia.org/wiki/Balun
https://it.wikipedia.org/wiki/Balun
0
voti
Ah, quindi non esiste modo di farlo a due conduttori quel collegamento del condensatore a metà carico.
Ad esempio in un coassiale non ci si può mai proteggere dai disturbi in quel modo.
Corretto?
Ad esempio in un coassiale non ci si può mai proteggere dai disturbi in quel modo.
Corretto?
1
voti
IL coassiale è intrinsecamente schermato dai disturbi.in un coassiale non ci si può mai proteggere dai disturbi in quel modo
Ma forse occorre distinguere fra disturbi di modo comune in modo differenziale presenti sul generatore
e quelli indotti lungo la linea di trasmissione.
Se nel punto di ricezione, metti un trasformatore risolvi tutti i problermi, ma la convenienza/possibilità dipende dalla frequenza e dalla larghezza di banda del segnale.
Solo per info, NON per pubblicità (non ne ha bisogno):
https://ww2.minicircuits.com/WebStore/Transformers.html
0
voti
MarcoD ha scritto:IL coassiale è intrinsecamente schermato dai disturbi.
Dai disturbi esterni si, ma il segnale che spari dentro al coassiale non è sempre detto che sia pulito già dalla sorgente.
MarcoD ha scritto:Ma forse occorre distinguere fra disturbi di modo comune in modo differenziale presenti sul generatore
e quelli indotti lungo la linea di trasmissione.
Qua c'è qualcosa che non mi torna. Come possiamo discutere di disturbi di modo comune e differenziale se, in questo momento, stiamo parlando di una trasmissione dati su un singolo cavo coassiale?
- O parliamo di trasmissione dati su una singola linea (i.e. 1 conduttore + 1 conduttore di riferimento, es. la calza del coassiale o il piano di ground di una microstrip)
- o di trasmissione dati su due linee in modalità differenziale (i.e. 2 conduttori per il segnale ed 1 conduttore di riferimento).
Se invece ho capito male e si vuole usare il cavo coassiale in modalità differenziale, sparando il segnale nel core ed il segnale invertito nel mantello, a rigore puoi comunque farlo ma devi comunque mettere il riferimento.
Sperando di non essermi perso roba dal post, ripartirei un secondo da qua:
Ianero ha scritto:La mia curiosità è capire come si fanno le connessioni nel caso reale.
Se ad esempio ho un coassiale, dove da un lato inserisco un generatore tra mantello interno ed esterno, mentre dall'altro collego il carico come nel disegno che ho appena postato, allora direi che non va bene.
Come bisognerebbe collegarlo dunque?
Questo collegamento implica una trasmissione single-ended, non c'è niente di differenziale qua (primo bullet del post qui sopra). Da cui: quale è il tuo scopo? Vuoi un condensatore che si mangi tutti i disturbi in alta frequenza? Significa che vuoi essenzialmente applicare un filtro passa-basso...
"The past is not really the past until it has been registered. Or put another way, the past has no meaning or existence unless it exists as a record in the present."
John Archibald Wheeler
John Archibald Wheeler
0
voti
Se invece ho capito male e si vuole usare il cavo coassiale in modalità differenziale, sparando il segnale nel core ed il segnale invertito nel mantello, a rigore puoi comunque farlo ma devi comunque mettere il riferimento.
Mica per forza? Se ho tutto differenziale a me interessa sempre la differenza di potenziale tra i due mantelli in un determinato punto sull'asse di propagazione. Del singolo potenziale rispetto a un riferimento chissà dove non mene frega niente, o sbaglio?
Ed era proprio questo quello a cui stavo pensando, quando ho visto spuntare fuori quel riferimento sotto il condensatore.
Da cui: quale è il tuo scopo?
Capire cosa voleva fare quello che ha chiuso quella linea in quel modo. In quel caso la linea non modellizzava il TEM in un coassiale, ma un bus bifilare, sul quale i segnali sono tutti differenziali.
36 messaggi
• Pagina 2 di 4 • 1, 2, 3, 4
Chi c’è in linea
Visitano il forum: Nessuno e 195 ospiti

Elettrotecnica e non solo (admin)
Un gatto tra gli elettroni (IsidoroKZ)
Esperienza e simulazioni (g.schgor)
Moleskine di un idraulico (RenzoDF)
Il Blog di ElectroYou (webmaster)
Idee microcontrollate (TardoFreak)
PICcoli grandi PICMicro (Paolino)
Il blog elettrico di carloc (carloc)
DirtEYblooog (dirtydeeds)
Di tutto... un po' (jordan20)
AK47 (lillo)
Esperienze elettroniche (marco438)
Telecomunicazioni musicali (clavicordo)
Automazione ed Elettronica (gustavo)
Direttive per la sicurezza (ErnestoCappelletti)
EYnfo dall'Alaska (mir)
Apriamo il quadro! (attilio)
H7-25 (asdf)
Passione Elettrica (massimob)
Elettroni a spasso (guidob)
Bloguerra (guerra)









