Ciao a tutti, avrei bisogno di un aiuto perché le mie conoscenze di elettrotecnica non sono sufficienti. Ho un allevamento di lumache all'aperto, rinchiuse in un recinto avente perimetro 150 m. La recinzione ha una banda elettrificata formata da 2 conduttori distanziati tra loro di 5/7 mm che corrono parallelamente lungo tutto il perimetro formando un circuito chiuso. Un elettrificatore professionale alimentara il circuito collegandosi in un angolo del recinto e portando una tensione di 25 V in AC a 50 Hz tra i 2 conduttori e se la lumaca li tocca contemporaneamente deve battere in ritirata, in quanto questo elettrificatore modula la corrente (aumentandola in casi di caduta di tensione dovuti all'umidità) in modo da infastidire senza provocare danni.
Vengo al punto, durante le piogge intense c'è una forte caduta di tensione in una parte perimetrale del recinto ( il lato opposto a quello in cui è attaccato il cavo di alimentazione) ed in quella zona le lumache riescono ad evadere, ho quindi pensato di collegare l'alimentazione anche nel lato opposto( sdoppiando il cavo che arriva dall'alimentatore) in modo da portare alimentazione su due punti equidistanti del perimetro e limitando notevolmente la caduta di tensione.
qui sorgono i miei dubbi, non è che su distanze così elevate ed in presenza di forte dispersione si possano creare problemi? Mi interrogo ad esempio sulla possibilità di sfasamenti tra i due punti di alimentazione e se qualcosa in tal caso può far funzionare male il circuito o se sono dettagli tralasciabili.
Misurando il circuito in ogni suo punto con un multimetro sembra essere tutto ok:tra i 2 conduttori c'è tensione costante a 25 V e frequenza costante a 50 Hz. Non ho considerato qualcosa che può far funzionare male il tutto o ho semplicemente risolto?
Ringrazio in anticipo chi mi vorrà dare chiarimenti.
Recinto elettrico a bassa potenza
Moderatori:
g.schgor,
IsidoroKZ
17 messaggi
• Pagina 1 di 2 • 1, 2
0
voti
1
voti
da quello che ho capito, hai una tensione alternata, suppongo non sia sinusoidale, a 24 V, e l'alimentatore ha un controllo che ne varia la corrente, (suppongo che ne limiti il valore di corto).
Semplicemente sdoppiando le connessioni, in due punti opposti, non credo che dia problemi, l'alimentatore dovrebbe leggere comunque lo stesso circuito, allo stesso modo, ed agire di conseguenza. Non vedo un motivo per cui possa friggerti le lumache
Tieni minitorata la situazione, non si sa mai.
saluti.
Semplicemente sdoppiando le connessioni, in due punti opposti, non credo che dia problemi, l'alimentatore dovrebbe leggere comunque lo stesso circuito, allo stesso modo, ed agire di conseguenza. Non vedo un motivo per cui possa friggerti le lumache
Tieni minitorata la situazione, non si sa mai.
saluti.
-

lelerelele
4.899 3 7 9 - Master

- Messaggi: 5505
- Iscritto il: 8 giu 2011, 8:57
- Località: Reggio Emilia
1
voti
driko77 ha scritto:questo elettrificatore modula la corrente (aumentandola in casi di caduta di tensione dovuti all'umidità) in modo da infastidire senza provocare danni
Credo che sia questo
https://www.lumacamadonita.it/helix-stop/
Il sistema è studiato per aumentare o diminuire automaticamente la potenza dell'energia emanata in base alla dispersione dovuta alle piogge garantendo cosi la protezione al 100% in qualsiasi condizione climatica.
Non comprendo bene quale sia la logica di funzionamento (non come viene realizzata).
Potresti per favore fare due misure:
1) tensione di uscita a "vuoto" (senza il "recinto" collegato)
2) tensione di uscita con una resistenza (valore qualche kohm potenza 1 W - specifica il valore utilizzato) collegata in parallelo ai morsetti di uscita (sempre senza il "recinto" collegato)
Grazie
0
voti
Vi ringrazio da subito per l'interessamento al mio problema e per le risposte, già mi solleva che nessuno abbia scritto che questo tipo di doppio collegamento fosse un grosso errore e che potesse comprometterne il funzionamento.
Cerco di aggiungere dei dettagli, l'alimentatore in questione è in effetti proprio quello individuato da "elfo" , se collegato con la spina alla presa da 230 V in AC, genera un tensione alternata di 25 V ( non so dire se sinusoidale, ma come dicevo in precedenza ha una frequenza costante di 50 Hz). Si può anche collegare una batteria al piombo (tipo quelle delle auto) da 12V che viene mantenuta in carica dall'alimentatore stesso e in caso di black out funge da batteria tampone.
In alternativa può lavorare esclusivamente con tale batteria se si provvede alla ricarica con un pannello fotovoltaico. Quando funziona con la batteria l'alimentatore genera 12 V e inverte automaticamente la tensione ogni 5 secondi per evitare un eccessivo effetto di elettrolisi sulla banda elettrificata del recinto.
A tal proposito non mi spiego perché non sia stato previsto di far collegare una batteria da 24 V piuttosto che quella da 12 V, in tal caso avrebbe generato la stessa potenza anche in modalità batteria, ma evidentemente ci saranno state delle motivazioni che io non sono in grado di capire.
Infine l'alimentatore è provvisto di un interruttore automatico da 4 ampere che disattiva il circuito al raggiungimento di tale soglia e va riarmato manualmente.
Questo è tutto quello che conosco, prossimamente ( non appena reperisco la resistenza) vi darò le misurazioni richieste da "elfo" per completare l'approfondimento.
Ancora grazie
Cerco di aggiungere dei dettagli, l'alimentatore in questione è in effetti proprio quello individuato da "elfo" , se collegato con la spina alla presa da 230 V in AC, genera un tensione alternata di 25 V ( non so dire se sinusoidale, ma come dicevo in precedenza ha una frequenza costante di 50 Hz). Si può anche collegare una batteria al piombo (tipo quelle delle auto) da 12V che viene mantenuta in carica dall'alimentatore stesso e in caso di black out funge da batteria tampone.
In alternativa può lavorare esclusivamente con tale batteria se si provvede alla ricarica con un pannello fotovoltaico. Quando funziona con la batteria l'alimentatore genera 12 V e inverte automaticamente la tensione ogni 5 secondi per evitare un eccessivo effetto di elettrolisi sulla banda elettrificata del recinto.
A tal proposito non mi spiego perché non sia stato previsto di far collegare una batteria da 24 V piuttosto che quella da 12 V, in tal caso avrebbe generato la stessa potenza anche in modalità batteria, ma evidentemente ci saranno state delle motivazioni che io non sono in grado di capire.
Infine l'alimentatore è provvisto di un interruttore automatico da 4 ampere che disattiva il circuito al raggiungimento di tale soglia e va riarmato manualmente.
Questo è tutto quello che conosco, prossimamente ( non appena reperisco la resistenza) vi darò le misurazioni richieste da "elfo" per completare l'approfondimento.
Ancora grazie

0
voti
elfo ha scritto:Potresti per favore fare due misure:
1) tensione di uscita a "vuoto" (senza il "recinto" collegato)
2) tensione di uscita con una resistenza (valore qualche kohm potenza 1 W - specifica il valore utilizzato) collegata in parallelo ai morsetti di uscita (sempre senza il "recinto" collegato)
Buongiorno, ho reperito tre resistenze da 1 W ( 1,2 kohm; 5,6 kohm; 10 kohm ) e ho provato ad effettuare le misurazioni.
Per quanto riguarda il punto 1 ho misurato una tensione a vuoto di 26,45 V in AC ed è la stessa tensione che in assenza di umidità ritrovo anche tra le bande del recinto.
Sul punto 2 ho dei dubbi teorici/pratici su come misurare, ho provato comunque a fare qualcosa.
Allora, nell'alimentatore ci sono 2 morsetti che tra loro hanno la tensione sopracitata, da questi morsetti partono rispettivamente 2 cavi che vanno ad alimentare le famose bande elettrificate che corrono una vicina all'altra parallelamente per tutto il perimetro del recinto e una lumaca per scavalcare deve obbligatoriamente toccare contemporaneamente le due bande prendendo una piccolissima scossa che le suggerisce di arretrare.
Con ognuna delle tre resistenze collegate senza recinto la tensione non è variata di un centesimo di volt.
Allora ho provato a mettere la resistenza in serie al morsetto + e ho collegato il recinto per misurare la tensione tra le 2 bande.
Questi sono i risultati
Con R =1,2 kohm V recinto= 11,75 V
con R= 5,6 kohm V recinto = 6,05 V
con R= 10 kohm V recinto = 4,55 V
Spero siano dati utili.

2
voti
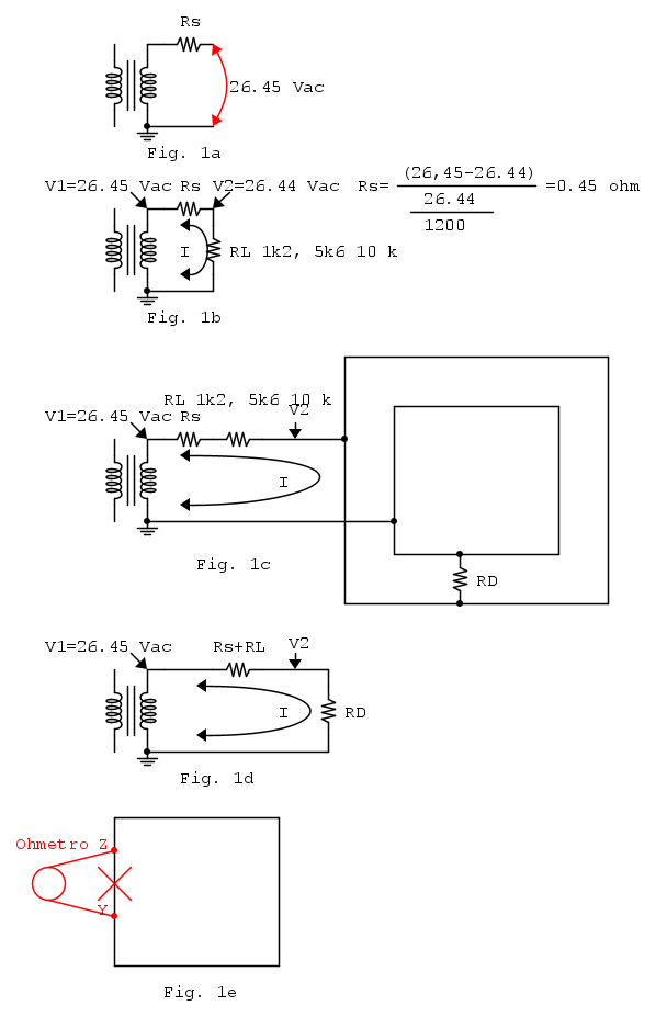
Come ho scritto nel post precedente hai fatto ottime misure - piu' di quelle richieste - che tornano buone per i ragionamenti che seguono.
Andiamo per punti:
1) Questo punto e' per caratterizzare il generatore (dei 26 V @ 50 Hz- e per dare un senso alla frase "Il sistema è studiato per aumentare o diminuire automaticamente la potenza" - ma questa affermazione la discuteremo in un prox post)
Vedi Fig. 1a
Il generatore dei 26 V puo' essere pensato come un trasformatore con una resistenza Rs in serie.
Il voltmetro utilizzato per eseguire la misura ha generalmente una resistenza di ingresso >> della Rs per cui la tensione misura e' quella "a vuoto" del trasformatore.
Vedi Fig. 1b
Applichiamo adesso un carico (noto) all'uscita del traformatore e misuriamo la tensione ai capi del carico (e all'uscita del trasformatore).
Abbiamo:
- V1 = tensione a vuoto del traformatore
- V2 = tensione sul carico
- RL = resistenza di carico
- I = corrente che scorre nel circuito serie Trasformatore + Rs + RL
Anche se tu affermi che "Con ognuna delle tre resistenze collegate senza recinto la tensione non è variata di un centesimo di volt" supponiamo che con il carico applicato la tensione passi da 26,45 a 26,44 (caduta di 0,01 V)

la corrente I circola nche nella Rs da cui

Abbiamo quindi un generatore di tensione (quasi) ideale con una resistenza di uscita < 0,45 ohm (la V1- V2 da te misurata e' < 0,01V)
2) Vedi Fig. 1c
Rappresenta la seconda misura che hai eseguito.
La(e) resistenza(e) da 1200 ohm (5600, 10000) sono in serie al recinto (rappresentato da due quadrati)
Dalle misure citate si suppone che tra i due anelli sia presente una resistenza di dispersione RD di cui vogliamo calcolare il valore.
Il circuito equivalnete ai fini del calcolo delle RD e' in Fig. 1d
La resistenza Rs+RL puo' essere approssimata con la sola RL (Rs (0.45 ohm)<< RL (1200, 5600,10000 ohm))
Dalle tue misure
- V2= 11,75 V @ 1200 ohm
- V2= 6.05 V @ 5600 ohm
- V2= 4.55 V @ 10000 ohm
La corrente I che circola nella RL vale

la
circola anche nella RD da cui

Il calcolo del valore della RD per i tre valori delle RL (1200, 5600, 10000) e' riportato nella tabellina qui sotto.
RD assume i valori 959, 1661, 2078 ohm.
Se la RD fosse una resitenza "ideale" la formula con i 3 valori di RL dovrebbe restituire un valore unico.
I 3 valori diversi di RD ci dicono che la RD e' una resistenza fortermente non lineare che dipende dalla tensione applicata ai sui capi (maggiore la tensione, minore la resistenza).
Le misure e i calcoli (se giusti!) fin qui eseguiti non giustificano questa tua affermazione del post [1}
Per dirimere la questione dovresti effettuare due ulteriori misure:
1) misurare la tensione nel "lato opposto a quello in cui è attaccato il cavo di alimentazione" senza interporre la resistenza RL tra il trasformatore e l'anello - indica il punto di misura nello schema di Fig. 1c
2) misurare la resistenza dell'anello (stacca il trasformatore e collega l'ohmetro nei punti Z e Y in Fig. 1e) dopo avere interrotto l'anello (X nello schema).
I conduttori che formano la banda elettrificata da cosa sono costituiti? (filo, striscia, materiale rame, inox, dimensioni diametro, larghezza e spessore)
Con questi ulterioi dati possiamo fare ulteriori congetture e ipotizzare soluzioni con cognizione di causa.
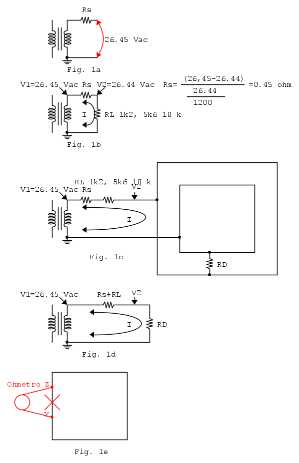
Andiamo per punti:
1) Questo punto e' per caratterizzare il generatore (dei 26 V @ 50 Hz- e per dare un senso alla frase "Il sistema è studiato per aumentare o diminuire automaticamente la potenza" - ma questa affermazione la discuteremo in un prox post)
Vedi Fig. 1a
Il generatore dei 26 V puo' essere pensato come un trasformatore con una resistenza Rs in serie.
Il voltmetro utilizzato per eseguire la misura ha generalmente una resistenza di ingresso >> della Rs per cui la tensione misura e' quella "a vuoto" del trasformatore.
Vedi Fig. 1b
Applichiamo adesso un carico (noto) all'uscita del traformatore e misuriamo la tensione ai capi del carico (e all'uscita del trasformatore).
Abbiamo:
- V1 = tensione a vuoto del traformatore
- V2 = tensione sul carico
- RL = resistenza di carico
- I = corrente che scorre nel circuito serie Trasformatore + Rs + RL
Anche se tu affermi che "Con ognuna delle tre resistenze collegate senza recinto la tensione non è variata di un centesimo di volt" supponiamo che con il carico applicato la tensione passi da 26,45 a 26,44 (caduta di 0,01 V)

la corrente I circola nche nella Rs da cui

Abbiamo quindi un generatore di tensione (quasi) ideale con una resistenza di uscita < 0,45 ohm (la V1- V2 da te misurata e' < 0,01V)
2) Vedi Fig. 1c
Rappresenta la seconda misura che hai eseguito.
La(e) resistenza(e) da 1200 ohm (5600, 10000) sono in serie al recinto (rappresentato da due quadrati)
Dalle misure citate si suppone che tra i due anelli sia presente una resistenza di dispersione RD di cui vogliamo calcolare il valore.
Il circuito equivalnete ai fini del calcolo delle RD e' in Fig. 1d
La resistenza Rs+RL puo' essere approssimata con la sola RL (Rs (0.45 ohm)<< RL (1200, 5600,10000 ohm))
Dalle tue misure
- V2= 11,75 V @ 1200 ohm
- V2= 6.05 V @ 5600 ohm
- V2= 4.55 V @ 10000 ohm
La corrente I che circola nella RL vale

la
circola anche nella RD da cui
Il calcolo del valore della RD per i tre valori delle RL (1200, 5600, 10000) e' riportato nella tabellina qui sotto.
RD assume i valori 959, 1661, 2078 ohm.
Se la RD fosse una resitenza "ideale" la formula con i 3 valori di RL dovrebbe restituire un valore unico.
I 3 valori diversi di RD ci dicono che la RD e' una resistenza fortermente non lineare che dipende dalla tensione applicata ai sui capi (maggiore la tensione, minore la resistenza).
Le misure e i calcoli (se giusti!) fin qui eseguiti non giustificano questa tua affermazione del post [1}
durante le piogge intense c'è una forte caduta di tensione in una parte perimetrale del recinto ( il lato opposto a quello in cui è attaccato il cavo di alimentazione) ed in quella zona le lumache riescono ad evadere.
Per dirimere la questione dovresti effettuare due ulteriori misure:
1) misurare la tensione nel "lato opposto a quello in cui è attaccato il cavo di alimentazione" senza interporre la resistenza RL tra il trasformatore e l'anello - indica il punto di misura nello schema di Fig. 1c
2) misurare la resistenza dell'anello (stacca il trasformatore e collega l'ohmetro nei punti Z e Y in Fig. 1e) dopo avere interrotto l'anello (X nello schema).
I conduttori che formano la banda elettrificata da cosa sono costituiti? (filo, striscia, materiale rame, inox, dimensioni diametro, larghezza e spessore)
Con questi ulterioi dati possiamo fare ulteriori congetture e ipotizzare soluzioni con cognizione di causa.
0
voti
Ti ringrazio per la risposta rapida e dettagliatissima.
Cercherò di andare per punti per riportarti le misurazione che sono riuscito a fare nel limite dell mie possibilità
Visto che potevano essere utili variazioni di tensione anche di qualche centesimo di volt ho pensato di mettere in parallelo una manciata di resistenmze che avevo comprato dal rivenditore ed ho ottenuto una resistenza equivalente a 320 ohm, l'ho messa come carico e la tensione è passata da 26,45 a 26,40 V.
Ripercorrendo i tuoi calcoli ho ottenuto una Rs di 0,60 ohm, che comunque dovrebbe sempre essere trascurata nel calcolo successivo. Correggimi se sbaglio...
Allora, parto dal fondo:
I conduttori sono delle strisce in acciaio, misurate con il calibro, ma servirebbe un micrometro per individure il giusto spessore. Sono larghe 5 mm e spesse 0,1 mm o forse 0,2, ma non credo la seconda..sono molto sottili.
2)Attualmente avevo dei problemi pratici nell'interrompere il circuito del recinto per misurare ai punti Z Y, ma avevo un avanzo di 15 m di striscia di acciaio in magazzino ed ho misurato quella.
Per 15 metri il valore è 26 ohm, circa 1,7 ohm/m.
Il recinto come dicevo ha un perimetro di 150m ( 148 m per l'esattezza ) chiuso ad anello, quindi la parte più lontana dal cavo dista 74 m , sia da un lato che dall' altro.
1) In condizioni di sole e bassa umidità atmosferica la tensione nel lato opposto al collegamento del cavo si abbassa di pochi centesimi di volt, oggi ad esempio 26,42 con una partenza di 26,45.
E' secondo me da considerare che le strisce metalliche di cui sopra sono cucite su una rete plastica a maglia fine che si bagna notevolmente e che corrono parallelamente ad una distanza di 0,5 mm.
Durante le piogge intense avevo già misurato e la tensione nel lato opposto che scende di una ventina di volt e si misurano 5 o 6 volt ( in quelle condizioni e in quel punto c'è l' evasione). L'alimentatore sembra fare egregiamente il suo lavoro( modulando la potenza), ma in condizione estrema ho avuto questo tipo di problema forse perché io mi sono avvicinato troppo al limite consigliato come perimetro (limite max 150 m ed io l'ho fatto di 148) e lì che ho pensato di sdoppiare il cavo di giunzione.
Credo di averti dato tutte le informazioni di cui ero in possesso, grazie ancora
Cercherò di andare per punti per riportarti le misurazione che sono riuscito a fare nel limite dell mie possibilità
elfo ha scritto:Anche se tu affermi che "Con ognuna delle tre resistenze collegate senza recinto la tensione non è variata di un centesimo di volt" supponiamo che con il carico applicato la tensione passi da 26,45 a 26,44 (caduta di 0,01 V)
la corrente I circola nche nella Rs da cui
Abbiamo quindi un generatore di tensione (quasi) ideale con una resistenza di uscita < 0,45 ohm (la V1- V2 da te misurata e' < 0,01V)[/fcd]
Visto che potevano essere utili variazioni di tensione anche di qualche centesimo di volt ho pensato di mettere in parallelo una manciata di resistenmze che avevo comprato dal rivenditore ed ho ottenuto una resistenza equivalente a 320 ohm, l'ho messa come carico e la tensione è passata da 26,45 a 26,40 V.
Ripercorrendo i tuoi calcoli ho ottenuto una Rs di 0,60 ohm, che comunque dovrebbe sempre essere trascurata nel calcolo successivo. Correggimi se sbaglio...
Per dirimere la questione dovresti effettuare due ulteriori misure:
1) misurare la tensione nel "lato opposto a quello in cui è attaccato il cavo di alimentazione" senza interporre la resistenza RL tra il trasformatore e l'anello - indica il punto di misura nello schema di Fig. 1c
2) misurare la resistenza dell'anello (stacca il trasformatore e collega l'ohmetro nei punti Z e Y in Fig. 1e) dopo avere interrotto l'anello (X nello schema).
I conduttori che formano la banda elettrificata da cosa sono costituiti? (filo, striscia, materiale rame, inox, dimensioni diametro, larghezza e spessore)
Con questi ulterioi dati possiamo fare ulteriori congetture e ipotizzare soluzioni con cognizione di causa.
Allora, parto dal fondo:
I conduttori sono delle strisce in acciaio, misurate con il calibro, ma servirebbe un micrometro per individure il giusto spessore. Sono larghe 5 mm e spesse 0,1 mm o forse 0,2, ma non credo la seconda..sono molto sottili.
2)Attualmente avevo dei problemi pratici nell'interrompere il circuito del recinto per misurare ai punti Z Y, ma avevo un avanzo di 15 m di striscia di acciaio in magazzino ed ho misurato quella.
Per 15 metri il valore è 26 ohm, circa 1,7 ohm/m.
Il recinto come dicevo ha un perimetro di 150m ( 148 m per l'esattezza ) chiuso ad anello, quindi la parte più lontana dal cavo dista 74 m , sia da un lato che dall' altro.
1) In condizioni di sole e bassa umidità atmosferica la tensione nel lato opposto al collegamento del cavo si abbassa di pochi centesimi di volt, oggi ad esempio 26,42 con una partenza di 26,45.
E' secondo me da considerare che le strisce metalliche di cui sopra sono cucite su una rete plastica a maglia fine che si bagna notevolmente e che corrono parallelamente ad una distanza di 0,5 mm.
Durante le piogge intense avevo già misurato e la tensione nel lato opposto che scende di una ventina di volt e si misurano 5 o 6 volt ( in quelle condizioni e in quel punto c'è l' evasione). L'alimentatore sembra fare egregiamente il suo lavoro( modulando la potenza), ma in condizione estrema ho avuto questo tipo di problema forse perché io mi sono avvicinato troppo al limite consigliato come perimetro (limite max 150 m ed io l'ho fatto di 148) e lì che ho pensato di sdoppiare il cavo di giunzione.
Credo di averti dato tutte le informazioni di cui ero in possesso, grazie ancora

1
voti
E' il tipico problema dei trenini elettrici che rallentano nei tratti distanti.
L'elettrificatore prescrive qualcosa a proposito della linea di collegamento e in particolare della sua lunghezza?
Un secondo punto di immissione di per sè non dovrebbe creare problemi, ovviamente badando a non invertire la polarità. Altrimenti fai due semirecinti separati con due elettrificatori, possibilmente posti a metà.
L'elettrificatore prescrive qualcosa a proposito della linea di collegamento e in particolare della sua lunghezza?
Un secondo punto di immissione di per sè non dovrebbe creare problemi, ovviamente badando a non invertire la polarità. Altrimenti fai due semirecinti separati con due elettrificatori, possibilmente posti a metà.
1
voti
Se quello, come sembra, e' un'alimentatore a tensione e corrente costanti, e se le tue striscie (che immagino saranno acciaio inox) sono tutte parte dello stesso circuito, non dovresti avere alcun problema a fare due (o anche tre volendo, messi ad un terzo e due terzi della circonferenza) punti di alimentazione che poi arrivino allo stesso alimentatore (ovviamente, come dice anche EcoTan, stando attento a collegare sempre l'esterno e l'interno sempre agli stessi poli) ... considerata la distanza, ed il fatto che probabilmente il tutto sara' all'esterno, usa del cavo a due poli di tipo adeguato ad essere installato in esterno (per la durata dei materiali, piu che per l'isolamento, data la bassa tensione), tipo un 2x2.5 o simile, non troppo sottile, e dovresti essere a posto.
"Sopravvivere" e' attualmente l'unico lusso che la maggior parte dei Cittadini italiani,
sia pure a costo di enormi sacrifici, riesce ancora a permettersi.
sia pure a costo di enormi sacrifici, riesce ancora a permettersi.
-

Etemenanki
9.517 3 6 10 - Master

- Messaggi: 5940
- Iscritto il: 2 apr 2021, 23:42
- Località: Dalle parti di un grande lago ... :)
17 messaggi
• Pagina 1 di 2 • 1, 2
Torna a Elettrotecnica generale
Chi c’è in linea
Visitano il forum: Nessuno e 53 ospiti

Elettrotecnica e non solo (admin)
Un gatto tra gli elettroni (IsidoroKZ)
Esperienza e simulazioni (g.schgor)
Moleskine di un idraulico (RenzoDF)
Il Blog di ElectroYou (webmaster)
Idee microcontrollate (TardoFreak)
PICcoli grandi PICMicro (Paolino)
Il blog elettrico di carloc (carloc)
DirtEYblooog (dirtydeeds)
Di tutto... un po' (jordan20)
AK47 (lillo)
Esperienze elettroniche (marco438)
Telecomunicazioni musicali (clavicordo)
Automazione ed Elettronica (gustavo)
Direttive per la sicurezza (ErnestoCappelletti)
EYnfo dall'Alaska (mir)
Apriamo il quadro! (attilio)
H7-25 (asdf)
Passione Elettrica (massimob)
Elettroni a spasso (guidob)
Bloguerra (guerra)




