Cos'è ElectroYou | Login Iscriviti

ElectroYou - la comunità dei professionisti del mondo elettrico

Salvavita scatta spesso

Progettazione, esercizio, manutenzione, sicurezza, leggi, normative...

Moderatori: Foto Utentesebago, Foto UtenteMASSIMO-G, Foto Utentelillo, Foto UtenteMike

0
voti

[11] Re: Salvavita scatta spesso

Messaggioda Foto UtenteGoofy » 22 ago 2023, 9:47

rafff ha scritto:Quando dici che non ho bisogno di misurare i valori nel tempo intendi che non si tratta di trovare una unica grande dispersione che avviene ogni tot tempo, ma che ci sono dispersioni più "piccole" ma costanti?

Di solito è così: un apparecchio malfunzionante che di base ha una dispersione sensibile ma entro il limite, che aumenta in determinate circostanze e che si somma a quelle fisiologiche fino a superare i 30 mA.
Certo che, con probabilità inferiore, potrebbe anche verificarsi l'altro caso, quello di un apparecchio che di tanto in tanto dà una botta sopra i 30 mA e che normalmente non abbia dispersioni particolari: quindi non ti do consigli per gli acquisti.
Avatar utente
Foto UtenteGoofy
14,7k 4 5 9
Master EY
Master EY
 
Messaggi: 5916
Iscritto il: 10 dic 2014, 20:16

0
voti

[12] Re: Salvavita scatta spesso

Messaggioda Foto Utenterafff » 22 ago 2023, 14:21

Ormai sono 4 anni che faccio tentativi di ogni tipo, scollegando apparecchi ecc, ma il problema persiste. Magari qualche anno fa non scattava neanche così spesso, ma questo forse è un vantaggio ora perché se stacco qualcosa e non scatta entro una settimana, è probabile che il problema è quello. Magari riprovo con questo approccio intanto e cerco di capire.
Avatar utente
Foto Utenterafff
5 2
 
Messaggi: 9
Iscritto il: 21 ago 2023, 14:23

0
voti

[13] Re: Salvavita scatta spesso

Messaggioda Foto Utenteguzz » 22 ago 2023, 15:18

Potrebbe anche essere un problema dell'impianto stesso
Magari un cavo con l'isolamento danneggiato, oppure umidità in qualche scatola di derivazione o scatola portafrutto...
Almeno l'itagliano sallo...
Avatar utente
Foto Utenteguzz
6.067 3 5 7
Master EY
Master EY
 
Messaggi: 3195
Iscritto il: 8 set 2011, 19:14
Località: Possagno (TV)

0
voti

[14] Re: Salvavita scatta spesso

Messaggioda Foto Utentesisu70 » 22 ago 2023, 16:58

rafff ha scritto:Ormai sono 4 anni che faccio tentativi di ogni tipo, scollegando apparecchi ecc, ma il problema persiste. Magari qualche anno fa non scattava neanche così spesso, ma questo forse è un vantaggio ora perché se stacco qualcosa e non scatta entro una settimana, è probabile che il problema è quello. Magari riprovo con questo approccio intanto e cerco di capire.

Si', ci vuole metodo, tempo e pazienza.
Il modulo di riarmo e' separabile dal differenziale vero e proprio che hai già ? Chiedo per capire se potresti rinunciare al riarmo automatico, almeno durante i test, per inserire nel quadro anche un secondo differenziale in parallelo a quello esistente (senza superare il limite degli 8 moduli). Con un secondo differenziale (da 30 mA e da almeno 16A) e magari un secondo MT da 16A (da 10A già ne hai due) potresti fare tutte le prove necessarie senza dover mai tenere staccato nulla (ma sicuramente mettendo mano più volte ai cablaggi del centralino).
Inoltre, sempre solo a scopo diagnostico, potresti aver bisogno di sdoppiare le linee da 16A e da 10A dal centralino fino alla prima cassetta di distribuzione, se oggi sono singole.
Avatar utente
Foto Utentesisu70
265 3 4
Sostenitore
Sostenitore
 
Messaggi: 590
Iscritto il: 20 apr 2023, 22:13

0
voti

[15] Re: Salvavita scatta spesso

Messaggioda Foto Utente6367 » 22 ago 2023, 18:16

La prima domanda da porsi è quali e quanti apparecchi sono effettivamente collegati, anche se "spenti" o in stand-by. Frigorifero, lavatrice, microonde, friggitrice, decoder e modem, televisori, condizionatori,... Ognuno di essi è una impedenza verso terra che drena a terra una piccola corrente che si somma con le altre anche se gli apparecchi sono spenti. Magari non raggiungono i fatidici 15 mA (un differenziale da 30 scatta tra i 15 e i 30) ma mettono in allerta l'interruttore differenziale ed eventuali disturbi (fulmini, manovre in rete) sono la goccia che fa traboccare il vaso.

Al giorno d'oggi un unico differenziale da 30 mA per tutti gli apparecchi di una casa moderna, spesso dotati di filtri di rete, è a rischio di scatto intempestivo. Infatti la norma CEI 64-8 ne chiede almeno due e nel capitolo 53 dà indicazioni specifiche per suddividere i carichi sotto più differenziali.

L'altra soluzione complementare sono tutti i differenziali "immuni ai disturbi", per esempio i tipo F di qualunque costruttore, che sono sordi ai disturbi di breve durata.

Ovviamente senza sfera di cristallo non si può escludere un guasto vero (cavo logoro, umidità ecc) ma un unico differenziale standard, sia pure con richiusura automatica, è sospetto.
Avatar utente
Foto Utente6367
22,3k 6 9 12
G.Master EY
G.Master EY
 
Messaggi: 6997
Iscritto il: 9 set 2005, 0:00

1
voti

[16] Re: Salvavita scatta spesso

Messaggioda Foto Utentestefanopc » 22 ago 2023, 21:16

Visto che hai già due interruttori differenziali potresti fare provvisoriamente una divisione dell'impianto mettendo ad esempio il solo frigorifero sotto il vecchio differenziale e lasciando tutto il resto come in origine.
Una volta che si è manifestato il problema vai per esclusione ( e a rotazione) e una linea alla volta la passi sotto il differenziale provvisorio.
Prima o poi dovresti essere in grado di identificare quale delle linee da il problema(intervento del differenziale provvisorio senza intervento del differenziale autoripristinante) .
In questo modo non spendi nulla a parte il tempo.
L'idea è circa la stessa del messaggio [14].
Ciao
600 Elettra
Avatar utente
Foto Utentestefanopc
13,3k 5 9 13
Master EY
Master EY
 
Messaggi: 5567
Iscritto il: 4 ago 2020, 9:11

0
voti

[17] Re: Salvavita scatta spesso

Messaggioda Foto Utenteelfo » 23 ago 2023, 17:12

Salvavita_a.jpg

la foto e' stata messa in apertura di post.
Chi resiste allo shock del "casino" puo' proseguire con la lettura.

Vi elenco alcuni argomenti con i quali potete legittimamente confutare quello che andro' a scrivere qui sotto:

1) e' pericoloso
2) le misure non sono a standard Istituto Metrologico
3) con quel casino cosa vuoi dimostrare
4) sono misure terra-terra (sul pavimento)
5) non hai usato "roba" da impianto elettrico allo stato dell'arte
6) nessuno vorra' mai replicare quanto descritto
7) e' troppo complicato
8) nelle misure riportate in tabella ci sono delle incongruenze del 50%
9) con il metodo proposto non testi l'impianto elettrico
10) ...

Il motivo di questo mio post e' quello di offrire un approccio "laterale" all'annoso problema:

Scatta il salvavita, c'aggia fa?

Nota 1)

In fondo al post trovate l'usuale schema FidoCadJ del(i) sistema(i) di misura.

Quello che vorrei evidenziare e' l'approccio da elettronico/misurone (in contrapposizione a quello da elettricista) al problema senza dover far intevenire una "operatore qualificato" perche' nessuna parte dell'impianto elettrico viene interessata ed al contempo raccogliere molte info che normalemente non fanno parte del bagaglio di un elettricista (per motivi comprensibili e condivisibili).

Allo stesso tempo la mia proposta (e la foto ne e' una dimostrazione all'ennesima potenza) richiede un discreto casino - ma non pericoli elettrici - che chi non e' consapevole di quello che si sta facendo e cosa si vuole ottenere difficilmnete puo' accettare anche perche' i tempi per ottenere risultati tangibili possono essere mooooolto lunghi.

Per concludere questa lunga premessa vorrei precisare che il costo di un singolo punto di misura puo''essere di 10 euro (o meno) (molto meno di un differenziale aggiuntivo necessario per sezionare l'impianto), quindi e' possibile economicamente avere piu' punti di misura in contemporanea e - bonus non ottenibile con un differenziale - registare data/ora evento.

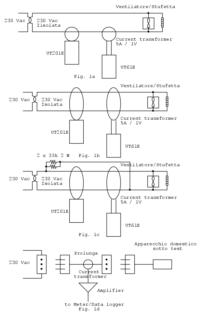
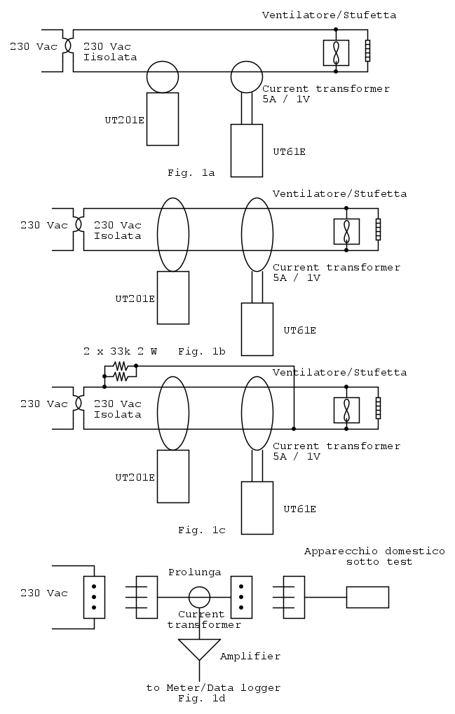
*** Fig. 1a

Lo schema non ha bisogno di spiegazioni e gli strumenti utilizzati sono specificati

Il trasformatore di isolamento e' stato utilizzato in questo setup per motivi di sicurezza, ma nella soluzione "casalinga" proposta qui sotto non e' necessario perche' in ogni caso nessuna parte a tensione di rete e' "esposta".

Nella tabella che segue ci sono riportate i risultati delle misure effettuate.

*** Fig. 1b
Come sopra - strumenti e tabella


*** Fig. 1c
E' stata aggiunta una resistenza "equivalente" 16k 4W (2 x 33k 2 W in parallelo) per simulare una dispersione di circa 14 mA "esterna" all'amperometro a tenaglia UT201E / Current transformer.

Tabella come sopra.

I valori misurati della "corrente di dispersione" non concordano (manco pe' gnente) con quelli "teorici": 14 mA contro 0,011 /0,009 dell'UT2011E e 0,0085/0,009 del current transformer.
(IMHO la "precisione" della misura e' sufficiente per rivelare il fenomeno "dispersione")


*** In conclusione Fig.1d:

- Inserisco una prolunga (cavo doppio isolamento) tra presa a muro e elettrodomiestico.

- Clampo il cavo (i tre conduttori - cavo prolunga doppio isolamento) con un trasformatore di corrente
(nel caso in cui si sospetti una dispersione che si chiude sul cavo di terra (quello giallo/verde) occorre che il cavo di terra sia esterno al "clamp" del current transformer)

- Amplifico il segnale (100X - 1000X) con un amplificatore "home made"

- Misuro il segnale in uscita all'amp con un Tester/Data logger

- Non "tocco" l'impianto elettrico

- Ho una misura selettiva e "loggata" elettrodomestico per elettrodomestico

Lista della spesa:

- Current transformer (al 23/08/2023) 2.58 euro spedito
https://it.aliexpress.com/item/40013308 ... Gn2NfQVYcw

- amplificatore + componentistica annessa (es lm358): < 1 euro

- alimentatore per detto: USB battery charger

- tester 5 - 10 euro al brico

- data logger (Arduino - orrore) + Data Logger x Arduino

- alimentatore per detto: USB battery charger

P.S. su Nuova Elettronica 196 era stato pubblicato un Dispersimetro per Elettrodomestici
https://www.rsp-italy.it/Electronics/Ma ... %20196.pdf

Nota 1) Alcuni anni fa ad un OP che lamentava lo scatto del salvavita sistematicamente durante le vacanze avevo proposto:

1) l'acquisto di:
- una lampada led da 2 W
- un temperature logger

Costo totale ~10 euro (oggi lo stesso temperature logger ha raddoppiato il prezzo)

2) "scotchare" il temperature logger sulla lampada

3) al ritorno dalle vacanze leggere il log per rilevare quando (giorno e ora) era scattato il salvavita per effettuare le opportune correlazioni.

L'OP lamentava che le vacanze erano "lontane" e quindi non valeva la pena (e la spesa) di fare le prove proposte.

Alcuni anni (e vacanze) dopo l'OP e' ritornato sul forum lamentando lo stesso problema (senza aver fatto nessuna delle prove proposte).

Salvavita_Tabella.jpg


Avatar utente
Foto Utenteelfo
6.819 4 5 7
G.Master EY
G.Master EY
 
Messaggi: 2828
Iscritto il: 15 lug 2016, 13:27

0
voti

[18] Re: Salvavita scatta spesso

Messaggioda Foto Utenterafff » 29 ago 2023, 9:50

Alla fine ho comprato una pinza amperometrica per correnti di dispersione, Peaktech 1635, questa qui:
https://www.amazon.it/PeakTech-1635-corrente-rampicante-risoluzione/dp/B00664VEO0/ref=asc_df_B00664VEO0/?tag=googshopit-21&linkCode=df0&hvadid=194917525427&hvpos=&hvnetw=g&hvrand=6171378971414535600&hvpone=&hvptwo=&hvqmt=&hvdev=c&hvdvcmdl=&hvlocint=&hvlocphy=1008543&hvtargid=pla-434030210390&psc=1

Dalle prime misurazioni sembra già che il problema è all'interno del quadro elettrico stesso. Ovvero:

- la dispersione misurata sui cavi collegati al salvavita è di circa 16 mA. Questo immagino spieghi il perché il salvavita scatta spesso.

- il salvavita è collegato al magnetotermico "prese", e da questo in successione si collega al magnetotermico "luce", dal quale a sua volta si collega al magnetotermico "garage" (con dei ponti. Mi piacerebbe sapere se così va bene, o è meglio usare cavi diretti)

- i due cavetti che collegano il salvavita al magnetotermico "prese" passano da dietro la guida DIN per montare i dispositivi del quadro. Immagino che sia stata sfruttata la guida per "ordinare" i cavi. Ebbene, se su questi due cavi misuro la dispersione nel punto più vicino al salvavita ottengo circa 16 mA (questa è la misurazione di cui parlo al primo punto). Misurando la dispersione sugli stessi due cavi ma vicino al collegamento al magnetotermico ottengo invece 7 mA. In mezzo a queste due misurazioni, come ho detto prima, i cavi passano da dietro alla guida DIN, che mi sembra essere in metallo.

- Noto inoltre che la guida DIN è stata sfruttata per ordinare non solo i 2 cavi indicati sopra, ma anche altri cavi.

- Altra cosa che noto è l'assenza totale di puntali sui cavi

Mi dispiace non aver potuto allegare una foto, ma stasera dovrei riuscire ad inviarla.

Non ci ho ancora messo le mani per tentare di sistemare qualcosa, per cui chiedo prima a voi se gentilmente mi date qualche consiglio su come procedere.
Avatar utente
Foto Utenterafff
5 2
 
Messaggi: 9
Iscritto il: 21 ago 2023, 14:23

0
voti

[19] Re: Salvavita scatta spesso

Messaggioda Foto UtenteGoofy » 29 ago 2023, 10:32

rafff ha scritto:
Ebbene, se su questi due cavi misuro la dispersione nel punto più vicino al salvavita ottengo circa 16 mA (questa è la misurazione di cui parlo al primo punto). Misurando la dispersione sugli stessi due cavi ma vicino al collegamento al magnetotermico ottengo invece 7 mA.

Detta così sembrerebbe che ci sia una dispersione fra i due punti di misura (probabilmente sulla guida din, specie se è collegata a terra)
Hai misurato le tre dispersioni sulle linee in uscita dai magnetotermici?
Aspettiamo foto e risultati
Avatar utente
Foto UtenteGoofy
14,7k 4 5 9
Master EY
Master EY
 
Messaggi: 5916
Iscritto il: 10 dic 2014, 20:16

0
voti

[20] Re: Salvavita scatta spesso

Messaggioda Foto Utenterafff » 29 ago 2023, 11:15

Goofy ha scritto:
rafff ha scritto:
Hai misurato le tre dispersioni sulle linee in uscita dai magnetotermici?


Si ho misurato le dispersioni in uscita dei magnetotermici:
- 7 mA in uscita sul magnetotermico "prese" (uguale all'entrata)
- 1 mA in uscita sul magnetotermico "luci"
- 1 mA in uscita sul magnetotermico "garage"
Avatar utente
Foto Utenterafff
5 2
 
Messaggi: 9
Iscritto il: 21 ago 2023, 14:23

PrecedenteProssimo

Torna a Impianti, sicurezza e quadristica

Chi c’è in linea

Visitano il forum: Nessuno e 188 ospiti