Salve ragazzi,
desidero sapere se posso migliorare il mio impianto Tv esistente, così composto:
Sul palo esistono tre antenne: una DVB-T, una 4B ed una logaritmica, collegate a sua volta ad una centalina, composta da cinque ingressi: La 4B ingresso VHF; la DVB-T ingresso III°banda e la logaritmica ingresso UHF, restano liberi, sulla centralina, gli ingressi IV° e V° banda. La centralina ha una sola uscita collegata ad un partitore con quattro uscite: una collegata direttamente ad una presa TV; una collegata ad altro partitore a due uscite collegate a sua volta a due prese TV; ed una collegata sempre ad altro partitore con due uscite collegate ad altrettanto prese TV.
Vi ringrazio anticipatamente per i consigli che potete suggerirmi.
- Luca1994-
Impianto TV
Moderatore:
jordan20
34 messaggi
• Pagina 1 di 4 • 1, 2, 3, 4
0
voti
[2] Re: Impianto TV
Domande per capirci meglio:
per antenna dvb-t hai la banda che riceve?
perché la 4B collegata in VHF va bene, la "dvb-t" collegata in banda 3^ mi lascia perplesso, se fa banda UHF è nel posto sbagliato, se fa VHF è nel posto giusto....
La distribuzione:
il primo partitore ha 4 uscite ma ne hai citate tre, una è libera?
Gli altri 2 partitori sono sempre dove si trova il primo o sono in altre scatole?
Se sono tutti partitori e non derivatori potresti avere dei rientri di disturbi perché è un impianto aperto e potresti ovviare con un De 1-10 al posto del primo 4 uscite, il -10 alla tv, il montate ad una Pa2 che va a servire gli altri due derivatori che saranno due de2-10 sul cui montante metterai una resistenza di chiusura.
Così facendo perdi 2dB su ciascuna presa ma l'impianto sarà protetto da disturbi di ritorno.
Il centralino:
Quanti dB di guadagno ha?
Autoalimentato o telealimentato? (ha la spina di corrente o è sul palo dell'antenna?)
La 4B ti serve? se fai la scansione del digitale terrestre sul canale 2 (50.5 MHz) che canale hai? Se non hai nulla toglila che fa solo peso.
In banda 3^ che canali hai? fai la scansione dal 5 al 12 per capirlo.
per antenna dvb-t hai la banda che riceve?
perché la 4B collegata in VHF va bene, la "dvb-t" collegata in banda 3^ mi lascia perplesso, se fa banda UHF è nel posto sbagliato, se fa VHF è nel posto giusto....
La distribuzione:
il primo partitore ha 4 uscite ma ne hai citate tre, una è libera?
Gli altri 2 partitori sono sempre dove si trova il primo o sono in altre scatole?
Se sono tutti partitori e non derivatori potresti avere dei rientri di disturbi perché è un impianto aperto e potresti ovviare con un De 1-10 al posto del primo 4 uscite, il -10 alla tv, il montate ad una Pa2 che va a servire gli altri due derivatori che saranno due de2-10 sul cui montante metterai una resistenza di chiusura.
Così facendo perdi 2dB su ciascuna presa ma l'impianto sarà protetto da disturbi di ritorno.
Il centralino:
Quanti dB di guadagno ha?
Autoalimentato o telealimentato? (ha la spina di corrente o è sul palo dell'antenna?)
La 4B ti serve? se fai la scansione del digitale terrestre sul canale 2 (50.5 MHz) che canale hai? Se non hai nulla toglila che fa solo peso.
In banda 3^ che canali hai? fai la scansione dal 5 al 12 per capirlo.
0
voti
[3] Re: Impianto TV
Ciao,
mi spiego meglio. Le antenne esistenti sono una 4B; una UHF a 52 elementi per segnali DVB-T digitale terrestre ed una logaritmica. La centralina multibanda alimetata a 220 V con cinque ingressi (UHF-IV-V = 34dB) (III = 35 dB) (I/FM = 35dB). Sono posizione la 4B ingresso VHF; la UHF ingresso UHF e la logaritmica III° banda. La centralina ha una sola uscita collegata ad un partitore a cinque uscite, di cui una collegata direttamente ad una presa TV (tra il partitore e la presa TV mt.13), una collegata ad altro partitore a due uscite, collegate a sua volta a due prese TV (distanza tra il 1°partitore ed il 2° part. mt.13) e tra il 2° partitore e la 1° presa TV mt.7, invece la 2° presa TV mt.9), ed una collegata ad altro partitore sempre a due uscite (distanza tra il 1° part. ed il 2° mt.11), collegate sempre a due prese TV, le distanze sono (2° part. e presa TV mt.10 e 2° part. presa TV mt.8).
Si precisa che i partitori sono montatati in cassette di derivazione distanti l'una dall'altra come sopra meglio specificato.
- luca1994 -
mi spiego meglio. Le antenne esistenti sono una 4B; una UHF a 52 elementi per segnali DVB-T digitale terrestre ed una logaritmica. La centralina multibanda alimetata a 220 V con cinque ingressi (UHF-IV-V = 34dB) (III = 35 dB) (I/FM = 35dB). Sono posizione la 4B ingresso VHF; la UHF ingresso UHF e la logaritmica III° banda. La centralina ha una sola uscita collegata ad un partitore a cinque uscite, di cui una collegata direttamente ad una presa TV (tra il partitore e la presa TV mt.13), una collegata ad altro partitore a due uscite, collegate a sua volta a due prese TV (distanza tra il 1°partitore ed il 2° part. mt.13) e tra il 2° partitore e la 1° presa TV mt.7, invece la 2° presa TV mt.9), ed una collegata ad altro partitore sempre a due uscite (distanza tra il 1° part. ed il 2° mt.11), collegate sempre a due prese TV, le distanze sono (2° part. e presa TV mt.10 e 2° part. presa TV mt.8).
Si precisa che i partitori sono montatati in cassette di derivazione distanti l'una dall'altra come sopra meglio specificato.
- luca1994 -
1
voti
[4] Re: Impianto TV
luca1994 ha scritto: La centralina ha una sola uscita collegata ad un partitore a cinque uscite
Le uscite di questo partitore aumentano ad ogni post?
In ogni caso, come ti è stato già detto, la distribuzione fatta in quel modo è sbagliata.
Puoi provare a disegnare uno schema con FidocadJ della situazione attuale?
in /dev/null no one can hear you scream
-

elettrodomus
10,1k 6 12 13 - G.Master EY

- Messaggi: 2607
- Iscritto il: 28 gen 2011, 22:38
- Località: Bassa Bresciana
1
voti
[7] Re: Impianto TV
luca1994 ha scritto:Vi è un'altra soluzione per allegare lo schema dell'impianto TV
Si, un altro post come i precedenti sarebbe l'ideale. Così la poca voglia di risponderti che ho mi passa del tutto
in /dev/null no one can hear you scream
0
voti
[8] Re: Impianto TV
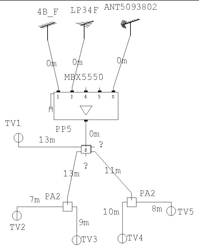
Porta pazienza ma stiamo cercando di capire come hai distribuito l'impianto di casa per aiutarti a risolvere il tuo problema.
Da come ci hai spiegato ora hai l'impianto in questa situazione: (Non guardare lunghezza cavo delle antenne ed il nome delle antenne o del centralino)
Da come ci hai spiegato ora hai l'impianto in questa situazione: (Non guardare lunghezza cavo delle antenne ed il nome delle antenne o del centralino)
- Allegati
-
- Immagine.JPG (39.43 KiB) Osservato 7528 volte
0
voti
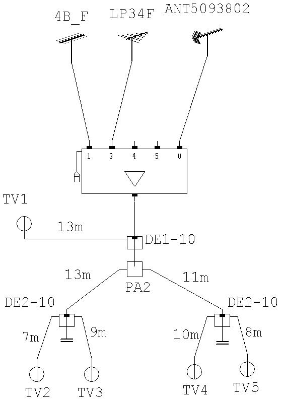
[9] Re: Impianto TV
Per averlo quantomeno a norma e protetto da eventuali disturbi dovuti a rientri di segnale dovrebbe essere distribuito come sotto.
Poi passiamo alla parte del centralino, però dovresti rispondere alle domande di cui sopra, che canale hai sulla frequenza 64.5 del digitale terrestre? Se non hai nulla si può togliere la 4B.
Che canali hai dal 5 al 12 (174-230 MHz)? Di solito la Rai.
Poi passiamo alla parte del centralino, però dovresti rispondere alle domande di cui sopra, che canale hai sulla frequenza 64.5 del digitale terrestre? Se non hai nulla si può togliere la 4B.
Che canali hai dal 5 al 12 (174-230 MHz)? Di solito la Rai.
- Allegati
-
- Immagine2.JPG (38.51 KiB) Osservato 7525 volte
0
voti
[10] Re: Impianto TV
Ciao,
Sul digitale ho una frequenza che va da 177 MHz a 858 MHz. I canali della RAI 1,2 e 3 sono sul 14, frequenza 226 MHz.
Altra domanda: i "DE" della fracarro a cui fate riferimento non sono uguali ai "CD" e i "PA" non sono sempre uguali ai "PP" o sono differenti?
- luca1994 -
Sul digitale ho una frequenza che va da 177 MHz a 858 MHz. I canali della RAI 1,2 e 3 sono sul 14, frequenza 226 MHz.
Altra domanda: i "DE" della fracarro a cui fate riferimento non sono uguali ai "CD" e i "PA" non sono sempre uguali ai "PP" o sono differenti?
- luca1994 -
34 messaggi
• Pagina 1 di 4 • 1, 2, 3, 4
Chi c’è in linea
Visitano il forum: Nessuno e 9 ospiti

Elettrotecnica e non solo (admin)
Un gatto tra gli elettroni (IsidoroKZ)
Esperienza e simulazioni (g.schgor)
Moleskine di un idraulico (RenzoDF)
Il Blog di ElectroYou (webmaster)
Idee microcontrollate (TardoFreak)
PICcoli grandi PICMicro (Paolino)
Il blog elettrico di carloc (carloc)
DirtEYblooog (dirtydeeds)
Di tutto... un po' (jordan20)
AK47 (lillo)
Esperienze elettroniche (marco438)
Telecomunicazioni musicali (clavicordo)
Automazione ed Elettronica (gustavo)
Direttive per la sicurezza (ErnestoCappelletti)
EYnfo dall'Alaska (mir)
Apriamo il quadro! (attilio)
H7-25 (asdf)
Passione Elettrica (massimob)
Elettroni a spasso (guidob)
Bloguerra (guerra)


