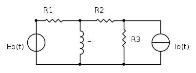
Determinare la corrente che scorre nell’induttore in ogni istante di tempo.
Dati:
R1 = 400
![\[\Omega\] \[\Omega\]](/forum/latexrender/pictures/f2f42c15d1cd757af3af2e2dbf3eef11.png)
R2 = 200
![\[\Omega\] \[\Omega\]](/forum/latexrender/pictures/f2f42c15d1cd757af3af2e2dbf3eef11.png)
R3 = 100
![\[\Omega\] \[\Omega\]](/forum/latexrender/pictures/f2f42c15d1cd757af3af2e2dbf3eef11.png)
L = 0.2H
Io = 90 mA
Eo(t)= 0V per t<0
____ 10V per t>0
Inizio con il fare delle considerazioni: sostituisco con il filo all'induttore mentre il generatore Eo per t<0 non è presente. Lo schema sarà:
per t<0
risolvo il sistema di equazioni tenendo presente che lungo R1 non circola corrente perciò i2=iL
![\[\begin{cases} & \ J=i_{3}+i_{2} \\ & \ V_{3}= V_{2} \end{cases}\] \[\begin{cases} & \ J=i_{3}+i_{2} \\ & \ V_{3}= V_{2} \end{cases}\]](/forum/latexrender/pictures/f096d24f8ace0f75ecccab6164e2603f.png)
Calcolo dalla seconda:
![\[i_{2}= J\frac{R_{3}}{1+R_{2}}= 0.04 A\] \[i_{2}= J\frac{R_{3}}{1+R_{2}}= 0.04 A\]](/forum/latexrender/pictures/7acdb10f3f5879c5c606be51ffbfb249.png)
quindi:
iL(o-)=i2 ------->il(0-)=0.04 A
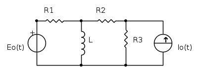
Ora per t>0
Siccome la traccia richiede in funzione del tempo non posso effettuare la sovrapposizione degli effetti altrimenti non so se il valore di A coincide.
![\[\begin{cases} & \ J=i_{2}+i_{3} \\ & \ i_{2}=i_{L}+i_{1} \\ & \ V_{3}=V_{2} +V_{L}\\ & \ E_{0}= V_{1}+V_{L} \end{cases}\] \[\begin{cases} & \ J=i_{2}+i_{3} \\ & \ i_{2}=i_{L}+i_{1} \\ & \ V_{3}=V_{2} +V_{L}\\ & \ E_{0}= V_{1}+V_{L} \end{cases}\]](/forum/latexrender/pictures/88aafdf3beb3d0f7972206234a0258d8.png)
Risolvo il sistema per sostituzione fino ad ottenere:
![\[R_{1}J -R_{1}i_{L}-\frac{JR_{1}R_{2}}{R_{3}R_{2}}-\frac{R_{1}V_{L}}{R_{3}R_{2}}+V_{L}=E_{0}\] \[R_{1}J -R_{1}i_{L}-\frac{JR_{1}R_{2}}{R_{3}R_{2}}-\frac{R_{1}V_{L}}{R_{3}R_{2}}+V_{L}=E_{0}\]](/forum/latexrender/pictures/b2c2fb1f8418fd801a31da39a0ab7c34.png)
Riordino:
![\[2.33L\frac{\mathrm{d} i_{L}}{\mathrm{d} t}+i_{L}(-400)=-2\] \[2.33L\frac{\mathrm{d} i_{L}}{\mathrm{d} t}+i_{L}(-400)=-2\]](/forum/latexrender/pictures/22bf064d26a33e06e4c9c490aa0d7a03.png)
![\[\lambda -\frac{400}{2.33L}= 0\] \[\lambda -\frac{400}{2.33L}= 0\]](/forum/latexrender/pictures/b4cb0396a366025eec70a78a4a9ae4c7.png)
![\[\lambda =858.36\] \[\lambda =858.36\]](/forum/latexrender/pictures/f03f34f18ee2a403add6ec5d6723bbdb.png)
![\[y_{iL}= e^{858.36t}\] \[y_{iL}= e^{858.36t}\]](/forum/latexrender/pictures/814aba6f00930ecb2ea19ea7aa49d16b.png)

Trovo da qui B= 0.005
![\[y_{iL}= e^{858.36t}+0.005\] \[y_{iL}= e^{858.36t}+0.005\]](/forum/latexrender/pictures/10e1b408241cd76d376577fe46907568.png)
Infine ricavo A imponendo IL(0-)=IL(0+)
![\[0.04= Ae^{858.36t}+0.005\] \[0.04= Ae^{858.36t}+0.005\]](/forum/latexrender/pictures/204ff62c95fe2b7dc3b95b4c95d491b9.png)
A=0.035
La corrente nell'induttore in ogni istante di tempo sarà pari a:
![\[y_{iL(t)}= 0.035^{858.36t}+0.005\] \[y_{iL(t)}= 0.035^{858.36t}+0.005\]](/forum/latexrender/pictures/07103ec55f39bb46126074b01ae7a07c.png)
Ragazzi se qualcosa non va correggete indicandomi il modo corretto per procedere, grazie!


Elettrotecnica e non solo (admin)
Un gatto tra gli elettroni (IsidoroKZ)
Esperienza e simulazioni (g.schgor)
Moleskine di un idraulico (RenzoDF)
Il Blog di ElectroYou (webmaster)
Idee microcontrollate (TardoFreak)
PICcoli grandi PICMicro (Paolino)
Il blog elettrico di carloc (carloc)
DirtEYblooog (dirtydeeds)
Di tutto... un po' (jordan20)
AK47 (lillo)
Esperienze elettroniche (marco438)
Telecomunicazioni musicali (clavicordo)
Automazione ed Elettronica (gustavo)
Direttive per la sicurezza (ErnestoCappelletti)
EYnfo dall'Alaska (mir)
Apriamo il quadro! (attilio)
H7-25 (asdf)
Passione Elettrica (massimob)
Elettroni a spasso (guidob)
Bloguerra (guerra)









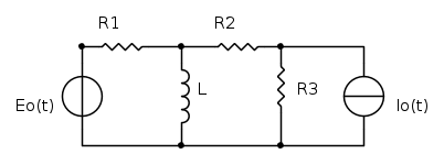
![{{i}_{L}}(t)=[{{i}_{L}}(0)-{{i}_{L}}(\infty )]{{e}^{-\frac{t}{\tau }}}+{{i}_{L}}(\infty ) {{i}_{L}}(t)=[{{i}_{L}}(0)-{{i}_{L}}(\infty )]{{e}^{-\frac{t}{\tau }}}+{{i}_{L}}(\infty )](/forum/latexrender/pictures/004d8a2b02ba3f06887cbd1c9f494a7f.png)
![\[\begin{cases} & \ I_{0}= i_{2}+i_{3} \\ & \ V_{2}= V_{3} \end{cases}\] \[\begin{cases} & \ I_{0}= i_{2}+i_{3} \\ & \ V_{2}= V_{3} \end{cases}\]](/forum/latexrender/pictures/3df86ed92b0eca4b9e5c6a668dd93633.png)



![\[i_{2}= I_{0}\frac{R_{3}}{R_{3+R_{2}}}= 0.09\frac{100}{100+200}=0.03A\] \[i_{2}= I_{0}\frac{R_{3}}{R_{3+R_{2}}}= 0.09\frac{100}{100+200}=0.03A\]](/forum/latexrender/pictures/1e530369bb2ef4fd7a8e2c30f5a01425.png)





![\[i_{L}= i_{2}= 0.03A\] \[i_{L}= i_{2}= 0.03A\]](/forum/latexrender/pictures/28c2d9cc1cf777e54cf23223cdfd291c.png)
![\[\begin{cases} & \ I_{0}=i_{2}+i_{3} \\ & \ i_{2}=i_{L}+i_{1} \\ & \ V_{1}=V_{L} \\ & \ V_{3}=V_{2}+V_{L} \end{cases}\] \[\begin{cases} & \ I_{0}=i_{2}+i_{3} \\ & \ i_{2}=i_{L}+i_{1} \\ & \ V_{1}=V_{L} \\ & \ V_{3}=V_{2}+V_{L} \end{cases}\]](/forum/latexrender/pictures/a3f47dc95ba8799bf1985d4f9ca45f0b.png)
![\[R_{3}\left \lfloor I_{0}-\left ( i_{L}+\frac{V_{L}}{R_{1}} \right ) \right \rfloor= R_{2}\left ( i_{L}+\frac{V_{L}}{R_{1}} \right )+V_{L}\] \[R_{3}\left \lfloor I_{0}-\left ( i_{L}+\frac{V_{L}}{R_{1}} \right ) \right \rfloor= R_{2}\left ( i_{L}+\frac{V_{L}}{R_{1}} \right )+V_{L}\]](/forum/latexrender/pictures/217b124dcfd836ba45085f6cb2cb7aa1.png)
![\[1.75L\frac{\mathrm{d} i_{L}}{\mathrm{d} t}+300i_{L}=0.09\] \[1.75L\frac{\mathrm{d} i_{L}}{\mathrm{d} t}+300i_{L}=0.09\]](/forum/latexrender/pictures/080833d4d4c585d53c7ec37bf29b1e33.png)
![\[\lambda +\frac{300}{0.35}=0\] \[\lambda +\frac{300}{0.35}=0\]](/forum/latexrender/pictures/217bba3aea664d7fbea1c07ca8bb0a68.png)
![\[\lambda = -857.14\] \[\lambda = -857.14\]](/forum/latexrender/pictures/6fae1452c9303e73d65bb3b5484db074.png)
e passo al calcolo di B![\[\frac{300}{0.35}B=\frac{9}{0.35}\Rightarrow B=0.03\] \[\frac{300}{0.35}B=\frac{9}{0.35}\Rightarrow B=0.03\]](/forum/latexrender/pictures/da2dbc75325b36b6dfec34817b91ac16.png)
![\[y_{Pi_{L}}= Ae^{-857.14t}+0.03\] \[y_{Pi_{L}}= Ae^{-857.14t}+0.03\]](/forum/latexrender/pictures/618c10c8ce95bd59896f74147f878ae9.png)
![\[i_{L}\left ( 0^{-} \right )= i_{L}\left ( 0^{+} \right )\] \[i_{L}\left ( 0^{-} \right )= i_{L}\left ( 0^{+} \right )\]](/forum/latexrender/pictures/d1c2e6282b49b95a8a8e5069651181f4.png)
![\[0.03= A +0.03\Rightarrow A=0\] \[0.03= A +0.03\Rightarrow A=0\]](/forum/latexrender/pictures/f97413a179afe51ac2b55b9980dc3049.png)

![\[R_{23}=R_{2}R_{3}= 200+100=300\Omega\] \[R_{23}=R_{2}R_{3}= 200+100=300\Omega\]](/forum/latexrender/pictures/7905f464506af3e35e380bc1d09d2cee.png)
![\[\begin{cases} & \ V_{L}=V_{23} \\ & \ E=V_{1}+V_{L} \\ & \ i_{1}=i_{L}+i_{2} \end{cases}\] \[\begin{cases} & \ V_{L}=V_{23} \\ & \ E=V_{1}+V_{L} \\ & \ i_{1}=i_{L}+i_{2} \end{cases}\]](/forum/latexrender/pictures/3073873f9e8933ec82b552ab63c68a92.png)
![\[V_{L}\left ( \frac{R_{1}}{R_{23}} \right +1 )+R_{1}i_{L}=E\] \[V_{L}\left ( \frac{R_{1}}{R_{23}} \right +1 )+R_{1}i_{L}=E\]](/forum/latexrender/pictures/dacea38a85fb1a7660c710377e54192d.png)
![\[2.33L\frac{\mathrm{d} i_{L}}{\mathrm{d} t}+400i_{L}=10\] \[2.33L\frac{\mathrm{d} i_{L}}{\mathrm{d} t}+400i_{L}=10\]](/forum/latexrender/pictures/f013956269a8ffda801837adf652f384.png)
![\[\frac{400}{0.46}B=\frac{10}{0.46}\Rightarrow B=0.025\] \[\frac{400}{0.46}B=\frac{10}{0.46}\Rightarrow B=0.025\]](/forum/latexrender/pictures/3a1654bef166ea594c803a79adb1c5ad.png)
![\[y_{Pi_{L}}= Ae^{-857.14t}+0.025\] \[y_{Pi_{L}}= Ae^{-857.14t}+0.025\]](/forum/latexrender/pictures/ddfc7bdb7e163a456f12e60ef6cdd31a.png)
![\[0= A +0.03\Rightarrow A= -0.03\] \[0= A +0.03\Rightarrow A= -0.03\]](/forum/latexrender/pictures/65af4592daa6240fc53fcdd3d8811f85.png)
![\[y_{i_{L}}= -0.03e^{-857.14t}+0.025\] \[y_{i_{L}}= -0.03e^{-857.14t}+0.025\]](/forum/latexrender/pictures/6d1a1c42161f84ec2fdffbd3d3a4c1e1.png)
![\[{R_{eq}}=R_{1}//(R_{2}+R_{3})=171.42\Omega\] \[{R_{eq}}=R_{1}//(R_{2}+R_{3})=171.42\Omega\]](/forum/latexrender/pictures/dbe26cfbe967a464abe3f8a3864575ea.png)
![\[\lambda =\frac{R_{eq}}{L}= \frac{171.42}{0.2}\Rightarrow 857.14\] \[\lambda =\frac{R_{eq}}{L}= \frac{171.42}{0.2}\Rightarrow 857.14\]](/forum/latexrender/pictures/2850c3129b8243039c04891dac879072.png)
![\[{i_{L}}=\frac{E} {R_{1}}\Rightarrow 0.025A^{\] \[{i_{L}}=\frac{E} {R_{1}}\Rightarrow 0.025A^{\]](/forum/latexrender/pictures/cfc29c492d7e284b48d3c8796b3a9376.png)
![\[y_{i_{L}}= -0.03e^{-857.14t}+0.025+0.03\] \[y_{i_{L}}= -0.03e^{-857.14t}+0.025+0.03\]](/forum/latexrender/pictures/46fd50ba7cf00cdf544eb6ea2317fab1.png)
![\[i_{L}(t)= 0.055 -0.03e^{-857.14t}\] \[i_{L}(t)= 0.055 -0.03e^{-857.14t}\]](/forum/latexrender/pictures/2bba1e60c36df67d09bb8c05bfbdab13.png)

. La costante di tempo vale
. 


