Nomenclatura su schemi elettrici
Moderatori:
sebago,
MASSIMO-G,
lillo,
Mike
4 messaggi
• Pagina 1 di 1
0
voti
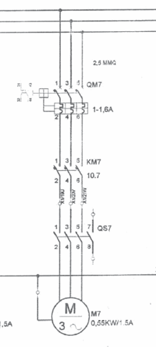
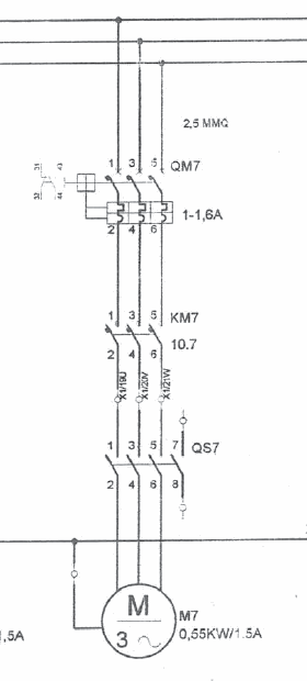
Non ho la norma a portata di mano, cosa rappresenta il QS7 ???
-

sottobosco
5 4 - New entry

- Messaggi: 94
- Iscritto il: 30 nov 2012, 12:17
0
voti
Secondo me è un sezionatore sottocarico posto nelle vicinanze del motore , il KM7 dovrebbe essere il teleruttore anche se non è proprio rappresentato in modo corretto
0
voti
MASSIMO-G ha scritto:Secondo me è un sezionatore sottocarico posto nelle vicinanze del motore , il KM7 dovrebbe essere il teleruttore anche se non è proprio rappresentato in modo corretto
Sì, potrebbe essere l'interpretazione corretta... grazie mille.

-

sottobosco
5 4 - New entry

- Messaggi: 94
- Iscritto il: 30 nov 2012, 12:17
0
voti
Secondo me è un sezionatore sottocarico posto nelle vicinanze del motore...
Aggiungo solo che il fatto che sia stato disegnato quadripolare mi fa pensare ad un qualche tipo segnalazione di "sezionatore aperto".
4 messaggi
• Pagina 1 di 1
Torna a Impianti, sicurezza e quadristica
Chi c’è in linea
Visitano il forum: Nessuno e 90 ospiti

Elettrotecnica e non solo (admin)
Un gatto tra gli elettroni (IsidoroKZ)
Esperienza e simulazioni (g.schgor)
Moleskine di un idraulico (RenzoDF)
Il Blog di ElectroYou (webmaster)
Idee microcontrollate (TardoFreak)
PICcoli grandi PICMicro (Paolino)
Il blog elettrico di carloc (carloc)
DirtEYblooog (dirtydeeds)
Di tutto... un po' (jordan20)
AK47 (lillo)
Esperienze elettroniche (marco438)
Telecomunicazioni musicali (clavicordo)
Automazione ed Elettronica (gustavo)
Direttive per la sicurezza (ErnestoCappelletti)
EYnfo dall'Alaska (mir)
Apriamo il quadro! (attilio)
H7-25 (asdf)
Passione Elettrica (massimob)
Elettroni a spasso (guidob)
Bloguerra (guerra)


