Ciao ragazzi ,
come alcuni di voi sapranno sto lavorando ad un progetto con un ARM.
Ho aperto un nuovo thread per non incasinare troppo il vecchio.
Data la fonte di alimentazione abbastanza instabile , vorrei capire se c'è una qualche maniera con un ARM (cortex M0 ) di riconoscere quando l'alimentazione raggiunge un certo livello di tensione per poter triggerare un azione (ex : lettura da sensore ).
Immagino che chiaramente un acquisizione AD sia esclusa in quanto da risultati non assoluti ma relativi alla tensione di alimentazione stessa. Ma potrei sbagliarmi.
Ho visto sul datasheet che ci sono dei sistemi che avvisano il processore quando la tensione scende sotto un livello minimo (tensione di brown-out) , quindi mi chiedevo se esiste una maniera di ricavare in qualche modo la tensione attuale di alimentazione .
Grazie a tutti
Pierluigi
ARM : Riconoscere tensione alimentazione
Moderatore:
Paolino
18 messaggi
• Pagina 1 di 2 • 1, 2
2
voti
pierinter ha scritto:Immagino che chiaramente un acquisizione AD sia esclusa in quanto da risultati non assoluti ma relativi alla tensione di alimentazione stessa.
Immagini male.
Se tu usi una tensione di riferimento fissa (di solito i Cortex ne hanno una interna) puoi misurare benissimo qualsiasi tensione, compresa quella di alimentazione. E pure in modo preciso.
La misura ratiometrica la fai se colleghi la tensione di riferimento alla Vdd.
"La follia sta nel fare sempre la stessa cosa aspettandosi risultati diversi".
"Parla soltanto quando sei sicuro che quello che dirai è più bello del silenzio".
Rispondere è cortesia, ma lasciare l'ultima parola ai cretini è arte.
"Parla soltanto quando sei sicuro che quello che dirai è più bello del silenzio".
Rispondere è cortesia, ma lasciare l'ultima parola ai cretini è arte.
-

TardoFreak
73,9k 8 12 13 - -EY Legend-

- Messaggi: 15754
- Iscritto il: 16 dic 2009, 11:10
- Località: Torino - 3° pianeta del Sistema Solare
0
voti
La tensione di riferimento chi gliela fornisce ? l'unica fonte di alimentazione che io posso usare , è proprio quella che voglio andare a misurare.
Visita il mio sito : http://www.raffotech.altervista.org
2
voti
pierinter ha scritto:La tensione di riferimento chi gliela fornisce ?
Hanno un band-gap interno.
E con questo vado a nanna.
-

PietroBaima
90,7k 7 12 13 - G.Master EY

- Messaggi: 12206
- Iscritto il: 12 ago 2012, 1:20
- Località: Londra
0
voti
pierinter ha scritto:La tensione di riferimento chi gliela fornisce ?
E' interna. O se non ne ha una prendi un generatore di Vref e lo colleghi all'ingresso di riferimento
pierinter ha scritto:L'unica fonte di alimentazione che io posso usare , è proprio quella che voglio andare a misurare.
E cosa c'entra questo con la tensione di riferimento?
Piace far notare che sono due cose differenti.
Una alimenta il micro e l'altra fornisce un riferimento di precisione.
"La follia sta nel fare sempre la stessa cosa aspettandosi risultati diversi".
"Parla soltanto quando sei sicuro che quello che dirai è più bello del silenzio".
Rispondere è cortesia, ma lasciare l'ultima parola ai cretini è arte.
"Parla soltanto quando sei sicuro che quello che dirai è più bello del silenzio".
Rispondere è cortesia, ma lasciare l'ultima parola ai cretini è arte.
-

TardoFreak
73,9k 8 12 13 - -EY Legend-

- Messaggi: 15754
- Iscritto il: 16 dic 2009, 11:10
- Località: Torino - 3° pianeta del Sistema Solare
3
voti
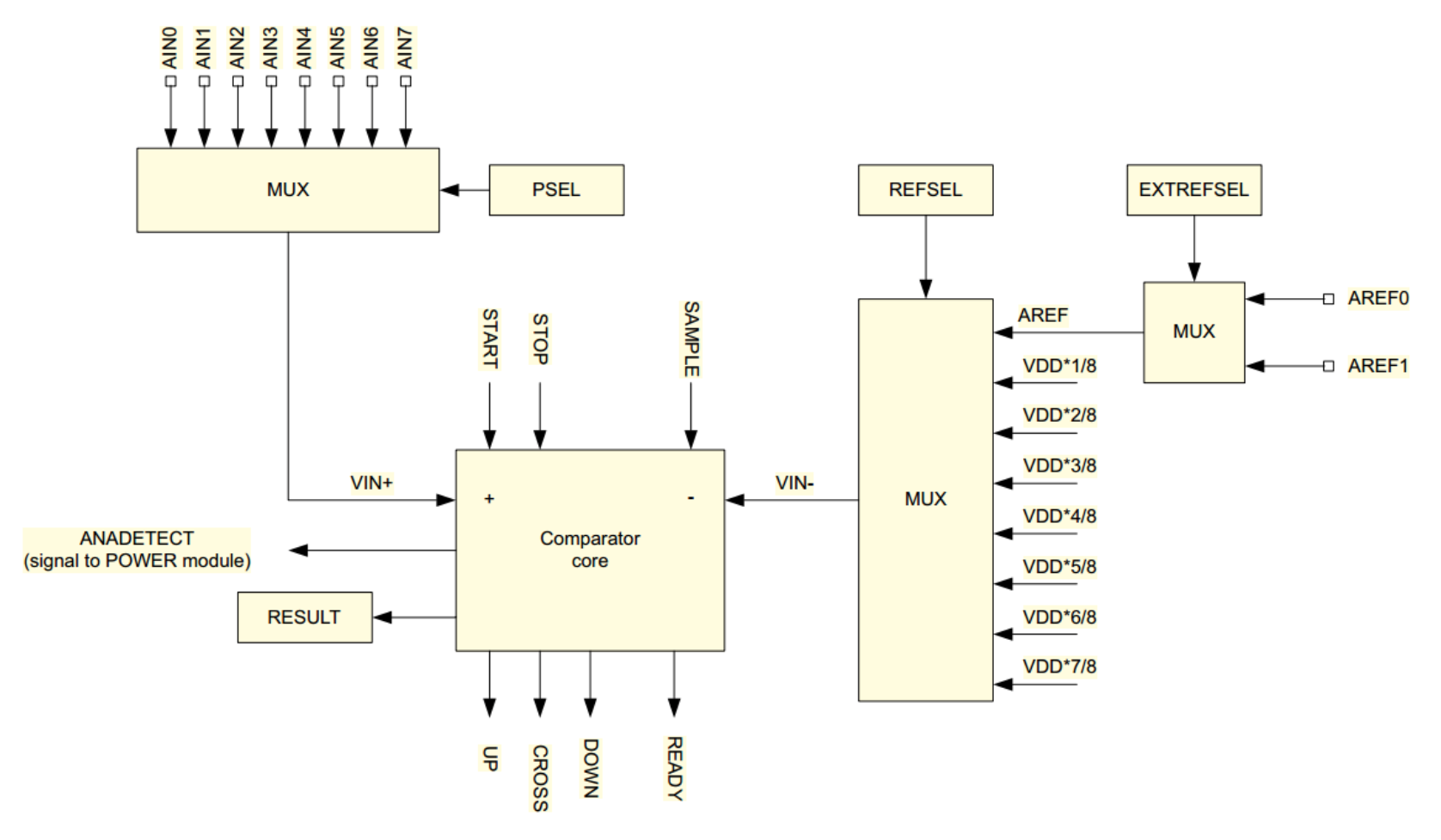
Sembrerebbe che debba tirarti (nuovamente) le orecchie perché non hai letto la documentazione del chip che stai usando. Ecco qui, pagina 165 del Reference Manual dell'nRF51822:
Come Input puoi selezionare VDD, fatta passara attraverso un attenuatore a scelta da 1/3 o da 2/3.
La tensione di riferimento è VBG. Poco sotto leggiamo
Quindi, usando l'attenuatore da 1/3, hai un range di misura che va da 0 V a 3.6 V.
A prima vista la documentazione della Nordic Semi mi sembra ben fatta e ben leggibile. Usala!
Boiler
Come Input puoi selezionare VDD, fatta passara attraverso un attenuatore a scelta da 1/3 o da 2/3.
La tensione di riferimento è VBG. Poco sotto leggiamo
If the 1.2 V VBG internal reference voltage is used, the ADC range will be 0-1.2 V with a
saturation point of 1.2 V.
Quindi, usando l'attenuatore da 1/3, hai un range di misura che va da 0 V a 3.6 V.
A prima vista la documentazione della Nordic Semi mi sembra ben fatta e ben leggibile. Usala!
Boiler
1
voti
ciao
boiler , grazie della risposta.
In realtà si , mi sono letto tutto . Però quello che presenta la mia versione del manuale è :
Nessun riferimento ad una tensione interna. Strano
In realtà si , mi sono letto tutto . Però quello che presenta la mia versione del manuale è :
Nessun riferimento ad una tensione interna. Strano

Visita il mio sito : http://www.raffotech.altervista.org
0
voti
Hai ragione, sono io che devo tirarmi le orecchie, tu parlavi del comparator e io ho guardato lo schema dell'ADC.
Domani ci do un'occhiata. Adesso devo andare a dormire.
Boiler
Domani ci do un'occhiata. Adesso devo andare a dormire.
Boiler
0
voti
Potrebbe andare comunque bene .
Il problema è che dovrei cercare di stare in sleep mode fintanto che la tensione di alimentazione non raggiunge una determinata soglia.
Per fare misure con l'ADC devo già essere in ON mode , quindi tanto vale..
Il problema è che dovrei cercare di stare in sleep mode fintanto che la tensione di alimentazione non raggiunge una determinata soglia.
Per fare misure con l'ADC devo già essere in ON mode , quindi tanto vale..

Visita il mio sito : http://www.raffotech.altervista.org
18 messaggi
• Pagina 1 di 2 • 1, 2
Torna a Realizzazioni, interfacciamento e nozioni generali.
Chi c’è in linea
Visitano il forum: Nessuno e 6 ospiti

Elettrotecnica e non solo (admin)
Un gatto tra gli elettroni (IsidoroKZ)
Esperienza e simulazioni (g.schgor)
Moleskine di un idraulico (RenzoDF)
Il Blog di ElectroYou (webmaster)
Idee microcontrollate (TardoFreak)
PICcoli grandi PICMicro (Paolino)
Il blog elettrico di carloc (carloc)
DirtEYblooog (dirtydeeds)
Di tutto... un po' (jordan20)
AK47 (lillo)
Esperienze elettroniche (marco438)
Telecomunicazioni musicali (clavicordo)
Automazione ed Elettronica (gustavo)
Direttive per la sicurezza (ErnestoCappelletti)
EYnfo dall'Alaska (mir)
Apriamo il quadro! (attilio)
H7-25 (asdf)
Passione Elettrica (massimob)
Elettroni a spasso (guidob)
Bloguerra (guerra)



pigreco]=π