Buona sera a tutti,
dopo aver letto pdf e vari documenti non ho trovato una risposta per me univoca: se dispongo di un normale alimentatore switching a tensione variabile 3-12 v vorrei sapere se è possibile alimentare in parallelo a 3 volt dei led tutti uguali (ad es. 10) che abbiano tensione 2,7 - 3,6 volt senza usare resistenze di limitazione. Se i led sono a 3 volt perché usare anche una resistenza?
Grazie.
Pilotare Led in parallelo
Moderatori:
carloc,
g.schgor,
BrunoValente,
IsidoroKZ
23 messaggi
• Pagina 1 di 3 • 1, 2, 3
5
voti
[2] Re: Led
Non si puo` fare, e` un problema di impedenze. Un alimentatore ha una bassa impedenza di uscita e i led hanno una bassa impedenza differenziale: se li metti insieme litigano. Meglio alimentarli in corrente, ad impedenza piu` alta, mettendo in serie una resistenza, oppure con un circuito fatto apposta che esca a impedenza elevata.
Per usare proficuamente un simulatore, bisogna sapere molta più elettronica di lui
Plug it in - it works better!
Il 555 sta all'elettronica come Arduino all'informatica! (entrambi loro malgrado)
Se volete risposte rispondete a tutte le mie domande
Plug it in - it works better!
Il 555 sta all'elettronica come Arduino all'informatica! (entrambi loro malgrado)
Se volete risposte rispondete a tutte le mie domande
0
voti
[3] Re: Led
Si puó fare.
Come si puó attraversare la strada bendati o si puó usare un cucchiaio per mangiare gli spaghetti.
Magari funziona (e spesso sembra funzionare anche bene) ma, come ti hanno spiegato qui sopra, non é il modo giusto di farlo!
Come si puó attraversare la strada bendati o si puó usare un cucchiaio per mangiare gli spaghetti.
Magari funziona (e spesso sembra funzionare anche bene) ma, come ti hanno spiegato qui sopra, non é il modo giusto di farlo!

Piuttosto che chiedere qualcosa a me, chiedila a Mara Maionchi. E' più competente.
-

paofanello
2.280 8 13 - Expert

- Messaggi: 532
- Iscritto il: 7 lug 2015, 21:01
9
voti
Se non sai cos'è l'impedenza differenziale diventa complicato spiegarlo, ti rispondo con un esempio: se alimenti una lampada ad incandescenza da 3V con un alimentatore che eroga una tensione di 3V nessun problema perché se la tensione dell'alimentatore varia un po', ad esempio del 10% in più o in meno, la lampadina non ne risente molto, succede che anche la corrente che l'attraversa e la luminosità variano grosso modo di quella quantità.
Se invece alimenti un led da 3V con un alimentatore che genera una tensione di 3V le cose vanno diversamente: se la tensione varia del 10% in meno o in più si hanno enormi variazioni della corrente che lo attraversa e della luminosità e si rischia di passare dallo spegnimento alla distruzione, questo a causa della bassa impedenza differenziale.
Dirai tu: "facciamo le cose in modo che la tensione sia molto precisa e che non vari!" Non va bene neanche così perché le cose variano con la temperatura: quando il led scalda le cose vanno come se variasse la tensione.
Peggio ancora se i led sono collegati in parallelo: anche quando sono uguali di fatto non lo sono mai con la precisione che servirebbe e quindi alcuni tenderebbero a spegnersi altri a scoppiare.
Con la resistenza in serie invece si riesce a far scorrere nel led una corrente poco dipendente dalla tensione come se si trattasse di una lampadina.
Se invece alimenti un led da 3V con un alimentatore che genera una tensione di 3V le cose vanno diversamente: se la tensione varia del 10% in meno o in più si hanno enormi variazioni della corrente che lo attraversa e della luminosità e si rischia di passare dallo spegnimento alla distruzione, questo a causa della bassa impedenza differenziale.
Dirai tu: "facciamo le cose in modo che la tensione sia molto precisa e che non vari!" Non va bene neanche così perché le cose variano con la temperatura: quando il led scalda le cose vanno come se variasse la tensione.
Peggio ancora se i led sono collegati in parallelo: anche quando sono uguali di fatto non lo sono mai con la precisione che servirebbe e quindi alcuni tenderebbero a spegnersi altri a scoppiare.
Con la resistenza in serie invece si riesce a far scorrere nel led una corrente poco dipendente dalla tensione come se si trattasse di una lampadina.
-

BrunoValente
39,6k 7 11 13 - G.Master EY

- Messaggi: 7796
- Iscritto il: 8 mag 2007, 14:48
9
voti
C'è il metodo grafico, che introduce il concetto di impedenza differenziale, senza che la "vittima" se ne accorga
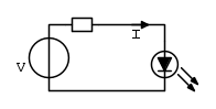
Prendiamo la situazione descritta: un diodo alimentato direttamente da un alimentatore stabilizzato:
La tensione sul diodo deve essere la stessa imposta dall'alimentatore e la corrente deve anch'essa essere la stessa che attraversa l'alimentatore.
Disegnamo ambedue le caratteristiche su un diagramma I-V:
L'alimentatore è una linea verticale. Perché? Perché indipendentemente dalla corrente assorbita (entro i limiti della decenza) la tensione resta costante.
Il diodo è una curva esponenziale. Perché è un diodo
I cosiddetti punti di lavoro possibili (ovvero le combinazioni di tensione e corrente possibili) sono quelli in cui le curve si incrociano.
Come vedi c'è una sovrapposizione parziale delle due curve, ci sono quindi infinite soluzioni, tra cui la soluzione che porta una corrente immensa a scorrrere nel diodo. Per la caratteristica del coefficiente di temperatura del diodo, quella è malauguratamente la corrente alla quale arriveremo.
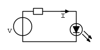
Ora prendiamo il circuito giusto, quello che va usato con i LED:
Quello che abbiamo adesso è un alimentatore che all'aumentare della corrente assorbita diminuisce la tensione vista dal diodo. La linea non è piú verticale:
C'è un solo punto di lavoro, ed è stabile. Vuol dire che se la temperatura del diodo cambia e ne cambia quindi la caratteristica, la corrente rimane limitata.
Nel mio disegno la caratteristica dell'alimentatore è comunque abbastanza ripida: in realtà dovrebbe essere quasi orizzontale, in modo da avere una sorgente di corrente.
Spero che aiuti un po' a capire
Boiler
Prendiamo la situazione descritta: un diodo alimentato direttamente da un alimentatore stabilizzato:
La tensione sul diodo deve essere la stessa imposta dall'alimentatore e la corrente deve anch'essa essere la stessa che attraversa l'alimentatore.
Disegnamo ambedue le caratteristiche su un diagramma I-V:
L'alimentatore è una linea verticale. Perché? Perché indipendentemente dalla corrente assorbita (entro i limiti della decenza) la tensione resta costante.
Il diodo è una curva esponenziale. Perché è un diodo
I cosiddetti punti di lavoro possibili (ovvero le combinazioni di tensione e corrente possibili) sono quelli in cui le curve si incrociano.
Come vedi c'è una sovrapposizione parziale delle due curve, ci sono quindi infinite soluzioni, tra cui la soluzione che porta una corrente immensa a scorrrere nel diodo. Per la caratteristica del coefficiente di temperatura del diodo, quella è malauguratamente la corrente alla quale arriveremo.
Ora prendiamo il circuito giusto, quello che va usato con i LED:
Quello che abbiamo adesso è un alimentatore che all'aumentare della corrente assorbita diminuisce la tensione vista dal diodo. La linea non è piú verticale:
C'è un solo punto di lavoro, ed è stabile. Vuol dire che se la temperatura del diodo cambia e ne cambia quindi la caratteristica, la corrente rimane limitata.
Nel mio disegno la caratteristica dell'alimentatore è comunque abbastanza ripida: in realtà dovrebbe essere quasi orizzontale, in modo da avere una sorgente di corrente.
Spero che aiuti un po' a capire
Boiler
-2
voti
Ringrazio gli autori delle ultime due risposte per il tempo dedicato.
Infatti ad una domanda semplice fatta da negati non ha per nulla senso rispondere con termini tecnici senza almeno darne una spiegazione generale.

Infatti ad una domanda semplice fatta da negati non ha per nulla senso rispondere con termini tecnici senza almeno darne una spiegazione generale.

1
voti
Ti ho votato negativamente perché avresti potuto almeno domandare "cos'è l'impedenza differenziale?"
"La follia sta nel fare sempre la stessa cosa aspettandosi risultati diversi".
"Parla soltanto quando sei sicuro che quello che dirai è più bello del silenzio".
Rispondere è cortesia, ma lasciare l'ultima parola ai cretini è arte.
"Parla soltanto quando sei sicuro che quello che dirai è più bello del silenzio".
Rispondere è cortesia, ma lasciare l'ultima parola ai cretini è arte.
-

TardoFreak
73,9k 8 12 13 - -EY Legend-

- Messaggi: 15754
- Iscritto il: 16 dic 2009, 11:10
- Località: Torino - 3° pianeta del Sistema Solare
0
voti
Grazie Isidoro, Bruno e Boiler. Mi ero sempre giustificato la cosa con la temperatura del led e ora scopro, come al solito cadendo dal pero, che a guardare la cosa più da vicino c'è anche questa impedenza differenziale.
Non so ancora cosa sia, però devo dire che i grafici di boiler hanno reso chiaro il motivo di molti miei barbecue di led nei primi giorni di elettronica

Non so ancora cosa sia, però devo dire che i grafici di boiler hanno reso chiaro il motivo di molti miei barbecue di led nei primi giorni di elettronica

Più so e più mi accorgo di non sapere.
Qualsiasi cosa abbia scritto, tieni presente che sono ancora al mio primo rocchetto di stagno.
Qualsiasi cosa abbia scritto, tieni presente che sono ancora al mio primo rocchetto di stagno.
3
voti
econom ha scritto:perché non dare una spiegazione più semplice dall'inizio?
Perché quella è la spiegazione.
Semmai sei tu che non hai le conoscenze per capirla.
E sarebbe tua cura fare una premessa del tipo "di elettronica non ne so molto" o qualcosa del genere.
Ma potresti anche non farla, andrebbe bene lo stesso.
Quello che invece va male è la tua polemica. Le polemiche si possono fare ma bisogna essere nel giusto.
E tu non lo eri
Per questo ti ho votato negativamente.
"La follia sta nel fare sempre la stessa cosa aspettandosi risultati diversi".
"Parla soltanto quando sei sicuro che quello che dirai è più bello del silenzio".
Rispondere è cortesia, ma lasciare l'ultima parola ai cretini è arte.
"Parla soltanto quando sei sicuro che quello che dirai è più bello del silenzio".
Rispondere è cortesia, ma lasciare l'ultima parola ai cretini è arte.
-

TardoFreak
73,9k 8 12 13 - -EY Legend-

- Messaggi: 15754
- Iscritto il: 16 dic 2009, 11:10
- Località: Torino - 3° pianeta del Sistema Solare
23 messaggi
• Pagina 1 di 3 • 1, 2, 3
Chi c’è in linea
Visitano il forum: Nessuno e 80 ospiti

Elettrotecnica e non solo (admin)
Un gatto tra gli elettroni (IsidoroKZ)
Esperienza e simulazioni (g.schgor)
Moleskine di un idraulico (RenzoDF)
Il Blog di ElectroYou (webmaster)
Idee microcontrollate (TardoFreak)
PICcoli grandi PICMicro (Paolino)
Il blog elettrico di carloc (carloc)
DirtEYblooog (dirtydeeds)
Di tutto... un po' (jordan20)
AK47 (lillo)
Esperienze elettroniche (marco438)
Telecomunicazioni musicali (clavicordo)
Automazione ed Elettronica (gustavo)
Direttive per la sicurezza (ErnestoCappelletti)
EYnfo dall'Alaska (mir)
Apriamo il quadro! (attilio)
H7-25 (asdf)
Passione Elettrica (massimob)
Elettroni a spasso (guidob)
Bloguerra (guerra)







