Ciao
Qualcuno ha un'esperienza reale con un trasformatore MT da 15 kV o 20 kV, che ha l'avvolgimento MT in serie all'alimentazione di carichi da alcuni MW?
Normalmente il trasformatore funziona a vuoto, l'avvolgimento in BT è quasi aperto, avendo un carico minimo.
In condizioni particolari si alimenta l'avvolgimento BT per fornire un apporto ulteriore di energia alla rete di fabbrica.
Cerco esperienze reali, non solo teoria o simulazioni. Nel mondo ci sono migliaia di sistemi installati di questo tipo.
Grazie, ciao
Mario
Esperienza pratica con trasformatori MT in serie
Moderatori:
sebago,
mario_maggi
8 messaggi
• Pagina 1 di 1
0
voti
Mario Maggi
https://www.evlist.it per la mobilità elettrica e filiera relativa
https://www.axu.it , inverter speciali, convertitori DC/DC, soluzioni originali per la qualità dell'energia
Innovazioni: https://www.axu.it/mm4
https://www.evlist.it per la mobilità elettrica e filiera relativa
https://www.axu.it , inverter speciali, convertitori DC/DC, soluzioni originali per la qualità dell'energia
Innovazioni: https://www.axu.it/mm4
-

mario_maggi
20,0k 3 11 12 - G.Master EY

- Messaggi: 4177
- Iscritto il: 21 dic 2006, 9:59
- Località: Milano
0
voti
stfr66,
no, non reattanze ma trasformatori.
La situazione potrebbe essere assimilata a quella di un UPS dinamico a bassa tensione, che trasferisce la potenza alla media tensione usando un secondario collocato in serie al carico.
Ciao
Mario
Forse ti riferisci alle reattanze di accoppiamento degli UPS dinamici?
no, non reattanze ma trasformatori.
La situazione potrebbe essere assimilata a quella di un UPS dinamico a bassa tensione, che trasferisce la potenza alla media tensione usando un secondario collocato in serie al carico.
Ciao
Mario
Mario Maggi
https://www.evlist.it per la mobilità elettrica e filiera relativa
https://www.axu.it , inverter speciali, convertitori DC/DC, soluzioni originali per la qualità dell'energia
Innovazioni: https://www.axu.it/mm4
https://www.evlist.it per la mobilità elettrica e filiera relativa
https://www.axu.it , inverter speciali, convertitori DC/DC, soluzioni originali per la qualità dell'energia
Innovazioni: https://www.axu.it/mm4
-

mario_maggi
20,0k 3 11 12 - G.Master EY

- Messaggi: 4177
- Iscritto il: 21 dic 2006, 9:59
- Località: Milano
1
voti
Dovrebbe trattarsi di un DVR (Dynamic Voltage Restorer) una delle soluzioni per effettuare una compensazione attiva della qualità del servizio per quel che riguarda il valore della tensione.
Per chi volesse sapere di cosa si tratta allego questo http://www.ijera.com/papers/Vol2_issue6 ... 721377.pdf
Generalmente la regolazione della tensione da imprimere sul lato BT si effettua tramite elettronica di potenza, almeno nelle realizzazioni correnti.
Tra i produttori Italiani IREM dovrebbe avere apparecchi simili a catalogo, ma forse si fermano alle realizzazioni BT.
P. S é passato del tempo da quando la domanda é stata posta. Allora chiedevi informazioni tu, se nel frattempo ne hai fatto esperienza, racconta pure.
Per chi volesse sapere di cosa si tratta allego questo http://www.ijera.com/papers/Vol2_issue6 ... 721377.pdf
Generalmente la regolazione della tensione da imprimere sul lato BT si effettua tramite elettronica di potenza, almeno nelle realizzazioni correnti.
Tra i produttori Italiani IREM dovrebbe avere apparecchi simili a catalogo, ma forse si fermano alle realizzazioni BT.
P. S é passato del tempo da quando la domanda é stata posta. Allora chiedevi informazioni tu, se nel frattempo ne hai fatto esperienza, racconta pure.
2
voti
JAndrea,
ti sei avvicinato, ma non ho in mente un DVR ma bensì un UPQC:
Nel frattempo ho raccolto un paio di esperienze all'estero, ma non centrate sulle mie esigenze.
Ricordo più di vent'anni fa questa applicazione ad Agrate Brianza, vedi figura 1: http://www.mmmm.it/doc/A2.pdf
P.S.: a volte mi dà un certo fastidio quando cerco qualcosa di particolare sul web ed esce un risultato scritto da me, uffa!
Ciao
Mario
ti sei avvicinato, ma non ho in mente un DVR ma bensì un UPQC:

Nel frattempo ho raccolto un paio di esperienze all'estero, ma non centrate sulle mie esigenze.
Ricordo più di vent'anni fa questa applicazione ad Agrate Brianza, vedi figura 1: http://www.mmmm.it/doc/A2.pdf
P.S.: a volte mi dà un certo fastidio quando cerco qualcosa di particolare sul web ed esce un risultato scritto da me, uffa!
Ciao
Mario
Mario Maggi
https://www.evlist.it per la mobilità elettrica e filiera relativa
https://www.axu.it , inverter speciali, convertitori DC/DC, soluzioni originali per la qualità dell'energia
Innovazioni: https://www.axu.it/mm4
https://www.evlist.it per la mobilità elettrica e filiera relativa
https://www.axu.it , inverter speciali, convertitori DC/DC, soluzioni originali per la qualità dell'energia
Innovazioni: https://www.axu.it/mm4
-

mario_maggi
20,0k 3 11 12 - G.Master EY

- Messaggi: 4177
- Iscritto il: 21 dic 2006, 9:59
- Località: Milano
1
voti
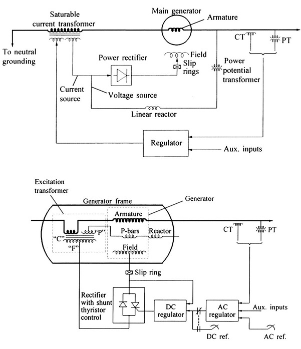
Per quanto riguarda il solo trasformatore, la soluzione ricorda molto una tipologia di sistema di eccitazione per grandi macchine sincrone degli anni '80 (detta "compound"), realizzata per prima da GE (nome commerciale GENERREX). In quell'applicazione il trasformatore serie aveva tensione nominale proprio nel range 15 - 21 kV e potenza di uno o pochi MVA.
Ne avevamo studiato l'applicabilità nel 2010 per i compensatori sincroni di Codrongianos, ma viste le complicazioni conseguenti abbiamo preferito optare per una più semplice eccitazione statica alimentata in derivazione. Da qualche parte però dovrei ancora avere i calcoli di dimensionamento...
Ad oggi mi risulta che la SIEMENS ancora produca un prodotto analogo, però per macchine sincrone di taglia minore.
.
Sebbene si tratti di uno scopo diverso, il trasformatore serie dovrebbe avere le stesse caratteristiche di quello per l'applicazione descritta da
mario_maggi; la parte peculiare è che l'unità serie sia opportunamente saturabile, in modo da non trasmettere sovratensioni pericolose all'elettronica di potenza: di fatto costruttivamente ricorda molto più un reattore serie che non un trasformatore.
Ne avevamo studiato l'applicabilità nel 2010 per i compensatori sincroni di Codrongianos, ma viste le complicazioni conseguenti abbiamo preferito optare per una più semplice eccitazione statica alimentata in derivazione. Da qualche parte però dovrei ancora avere i calcoli di dimensionamento...
Ad oggi mi risulta che la SIEMENS ancora produca un prodotto analogo, però per macchine sincrone di taglia minore.
.
Sebbene si tratti di uno scopo diverso, il trasformatore serie dovrebbe avere le stesse caratteristiche di quello per l'applicazione descritta da
8 messaggi
• Pagina 1 di 1
Torna a Energia e qualità dell'energia
Chi c’è in linea
Visitano il forum: Nessuno e 21 ospiti

Elettrotecnica e non solo (admin)
Un gatto tra gli elettroni (IsidoroKZ)
Esperienza e simulazioni (g.schgor)
Moleskine di un idraulico (RenzoDF)
Il Blog di ElectroYou (webmaster)
Idee microcontrollate (TardoFreak)
PICcoli grandi PICMicro (Paolino)
Il blog elettrico di carloc (carloc)
DirtEYblooog (dirtydeeds)
Di tutto... un po' (jordan20)
AK47 (lillo)
Esperienze elettroniche (marco438)
Telecomunicazioni musicali (clavicordo)
Automazione ed Elettronica (gustavo)
Direttive per la sicurezza (ErnestoCappelletti)
EYnfo dall'Alaska (mir)
Apriamo il quadro! (attilio)
H7-25 (asdf)
Passione Elettrica (massimob)
Elettroni a spasso (guidob)
Bloguerra (guerra)



