Cos'è ElectroYou | Login Iscriviti

ElectroYou - la comunità dei professionisti del mondo elettrico

Come ridurre circuito in un circuito più semplice

Circuiti, campi elettromagnetici e teoria delle linee di trasmissione e distribuzione dell’energia elettrica

Moderatori: Foto Utenteg.schgor, Foto UtenteIsidoroKZ

0
voti

[1] Come ridurre circuito in un circuito più semplice

Messaggioda Foto UtenteCarlo1 » 23 ago 2017, 10:45

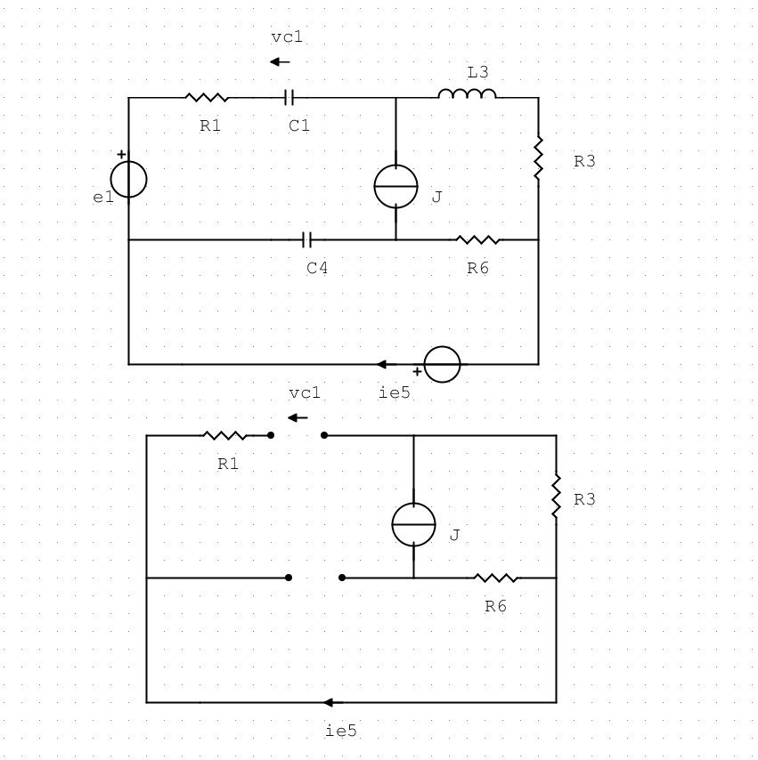
Buongiorno.
Vi posto un esercizio in regime periodico e devo applicare il principio di sovrapposizione degli effetti.
Ho difficoltà a capire come determinare la corrente IE5 e la tensione VC1 nel circuito elementare ottenuto una volta spento i due generatori di tensione sinusoidali--> ottenendo un circuito in regime stazionario.

Più che altro volevo sapere quel circuito elementare come può essere ridotto in un circuito più semplice in modo tale da capire come ricavare le grandezze citate sopra in maniera senza sbagliare.

Ad esempio l'aperto di sinistra in serie alla resistenza, diventa tutto un aperto etc..
Ho difficoltà su questi tipi di ragionamenti "topologici" che mi permettono di capire come diventa quel circuito e come sono le correnti e le tensioni.

O_/
Allegati
1.jpg
Avatar utente
Foto UtenteCarlo1
55 2 6
Frequentatore
Frequentatore
 
Messaggi: 118
Iscritto il: 19 ott 2015, 16:41

0
voti

[2] Re: Come ridurre circuito in un circuito più semplice

Messaggioda Foto Utenteadmin » 23 ago 2017, 11:20

A seconda del verso di J, che non hai indicato
Avatar utente
Foto Utenteadmin
196,6k 9 12 17
Manager
Manager
 
Messaggi: 11949
Iscritto il: 6 ago 2004, 13:14

0
voti

[3] Re: Come ridurre circuito in un circuito più semplice

Messaggioda Foto UtenteCarlo1 » 23 ago 2017, 11:33

Scusami, mia dimenticanza, comunque va verso l'alto.
Ti ringrazio.
Avatar utente
Foto UtenteCarlo1
55 2 6
Frequentatore
Frequentatore
 
Messaggi: 118
Iscritto il: 19 ott 2015, 16:41


Torna a Elettrotecnica generale

Chi c’è in linea

Visitano il forum: Nessuno e 28 ospiti