Salve a tutti,
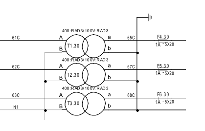
io ho un collegamento di misura con TV come in figura. mi sarei aspettato sulla uscita la presenza della 3a armonica (a causa proprio del collegamento Y-Y), ma facendo delle misure non le ho trovate, e non so spiegarne il motivo. Qualcuno di voi ha una idea del perché?
Grazie
trasformatore stella-stella e 3a armonica
Moderatori:
SandroCalligaro,
mario_maggi,
fpalone
3 messaggi
• Pagina 1 di 1
0
voti
Ciao
Può darsi che ci sia un secondario (probabilmente non accessibile) connesso a triangolo, messo apposta per eliminare le terze armoniche. Questa tecnica è usata in alcuni autotrasformatori (stella-stella).
Può darsi che ci sia un secondario (probabilmente non accessibile) connesso a triangolo, messo apposta per eliminare le terze armoniche. Questa tecnica è usata in alcuni autotrasformatori (stella-stella).
0
voti
Ciao RLC e grazie per la risposta,
ho trovato il perché del fatto non ho la 3a armonica. Avendo il primario il centro stella, la terza armonica mi si richiude sul di esso.
ho trovato il perché del fatto non ho la 3a armonica. Avendo il primario il centro stella, la terza armonica mi si richiude sul di esso.
3 messaggi
• Pagina 1 di 1
Chi c’è in linea
Visitano il forum: Nessuno e 12 ospiti

Elettrotecnica e non solo (admin)
Un gatto tra gli elettroni (IsidoroKZ)
Esperienza e simulazioni (g.schgor)
Moleskine di un idraulico (RenzoDF)
Il Blog di ElectroYou (webmaster)
Idee microcontrollate (TardoFreak)
PICcoli grandi PICMicro (Paolino)
Il blog elettrico di carloc (carloc)
DirtEYblooog (dirtydeeds)
Di tutto... un po' (jordan20)
AK47 (lillo)
Esperienze elettroniche (marco438)
Telecomunicazioni musicali (clavicordo)
Automazione ed Elettronica (gustavo)
Direttive per la sicurezza (ErnestoCappelletti)
EYnfo dall'Alaska (mir)
Apriamo il quadro! (attilio)
H7-25 (asdf)
Passione Elettrica (massimob)
Elettroni a spasso (guidob)
Bloguerra (guerra)

