Buonasera,
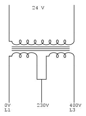
oggi su un paranco ho trovato un trasformatore di questo tipo:
Ho provato a schematizzarlo anche se non penso sia il simbolo corretto, ho due domande da porvi:
1) come faccio a ricavare una tensione 230V tra L1(400V) ed il morsetto 230V?
2) nel caso che mi capitasse di installare un trafo simile, che tipo di protezione elettrica dovrei utilizzare?
Vi ringrazio anticipatamente
trasformatore 400/230/24 V
Moderatori:
SandroCalligaro,
mario_maggi,
fpalone
4 messaggi
• Pagina 1 di 1
0
voti
e' un normalissimo trasformatore usato nei qudri elettrici.
puoi alimentarlo a 230V o a 400V.
se lo alimenti a 400 V e usi la 230V ( di fatto utilizzato come autotrasformatore) rischi di danneggiarlo se la potenza non e' piccola.
puoi alimentarlo a 230V o a 400V.
se lo alimenti a 400 V e usi la 230V ( di fatto utilizzato come autotrasformatore) rischi di danneggiarlo se la potenza non e' piccola.
0
voti
In questo caso è utilizzato come autotrasformatore e tra il morsetto 0 ed il morsetto 230 vi è collegato il raddrizzatore del freno.
Nel caso che dovesse però interrompersi un filo di alimentazione, non mi ritroverei 400V sul raddrizzatore?
Nel caso che dovesse però interrompersi un filo di alimentazione, non mi ritroverei 400V sul raddrizzatore?
4 messaggi
• Pagina 1 di 1
Chi c’è in linea
Visitano il forum: Nessuno e 41 ospiti

Elettrotecnica e non solo (admin)
Un gatto tra gli elettroni (IsidoroKZ)
Esperienza e simulazioni (g.schgor)
Moleskine di un idraulico (RenzoDF)
Il Blog di ElectroYou (webmaster)
Idee microcontrollate (TardoFreak)
PICcoli grandi PICMicro (Paolino)
Il blog elettrico di carloc (carloc)
DirtEYblooog (dirtydeeds)
Di tutto... un po' (jordan20)
AK47 (lillo)
Esperienze elettroniche (marco438)
Telecomunicazioni musicali (clavicordo)
Automazione ed Elettronica (gustavo)
Direttive per la sicurezza (ErnestoCappelletti)
EYnfo dall'Alaska (mir)
Apriamo il quadro! (attilio)
H7-25 (asdf)
Passione Elettrica (massimob)
Elettroni a spasso (guidob)
Bloguerra (guerra)




