Saluti al Forum
Devo sostituire un cristallo con frequenza 37.632 MHz e packaging HC a due terminali radiali. Lo sto cercando disperatamente ma questa frequenza è introvabile. Ho però trovato abbastanza facilmente degli oscillatori a 4 pin come questo:
https://www.vectron.com/products/xo/h-type.pdf
Da qui la domanda: posso sostituire il cristallo con un oscillatore, facendo le opportune modifiche al circuito, magari con qualche ponticello?
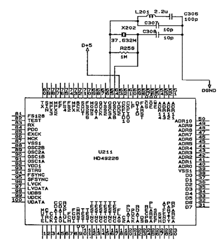
Allego al post uno stralcio dello schematco dove si vede il cristallo.
Grazie per l'attenzione
Raffaello
Sostituire cristallo con oscillatore
Moderatori:
carloc,
g.schgor,
BrunoValente,
IsidoroKZ
18 messaggi
• Pagina 1 di 2 • 1, 2
0
voti
Milanraf ha scritto:posso sostituire il cristallo con un oscillatore, facendo le opportune modifiche al circuito, magari con qualche ponticello?
Se serve come clock per una MCU, oltre al circuito bisognerà modificarne i fusebit e/o qualche registro del clock.
Certo che 32 MHz sono parecchi per un cristallo, io ero rimasto fermo ai 20 MHz in fondamentale.
0
voti
Ti ringrazio della risposta.
Questo non dovrebbe essere un uC. In realtà non ho trovato il datasheet corretto ma il HD49227 è un controller RAM, quindi penso sia molto simile, anche se la piedinatura è diversa. Non ho modo di intervenire sul SW, quindi devo per forza mettere il cristallo giusto, oppure simularlo...ma non so come.
In effetti è una frequenza strana. Non l'ho trovato nemmeno su quei mega siti cinesi di componenti stock vintage o di recupero.
Questo non dovrebbe essere un uC. In realtà non ho trovato il datasheet corretto ma il HD49227 è un controller RAM, quindi penso sia molto simile, anche se la piedinatura è diversa. Non ho modo di intervenire sul SW, quindi devo per forza mettere il cristallo giusto, oppure simularlo...ma non so come.
In effetti è una frequenza strana. Non l'ho trovato nemmeno su quei mega siti cinesi di componenti stock vintage o di recupero.
0
voti
Il contenitore "balla". I piedini sotto sono saldati perfettamente ma il componente si muove appena lo tocchi, è da cambiare. Probabilmente se tiro con un minimo di forza mi rimane in mano.
9
voti
Potrebbe essere un quarzo da 12.544 MHz (*) in terza armonica: il gruppo LC su OSC3A e` una trappola per constringerlo ad andare in terza armonica.
Come prima cosa proverei a mettere un quarzo da 12.544MHz (*) che possa andare in terza armonica.
Se vuoi mettere un oscillatore esterno alla frequenza di 37... MHz credo lo possa fare, devi solo entrare sul piedino giusto.
Uno dei due piedini collegati al quarzo e` un ingresso e l'altro e` una uscita. Il piedino OSC3A dovrebbe essere l'uscita e OSC3B l'ingresso.
Per verificarlo ci sono un paio di modi (oltre a guardare il data sheet che mi pare non si trovi)
Metti un quarzo qualunque dalle parti di 10MHz, e guardi con l'oscilloscopio se oscilla: un piedino dovrebbe avere una ampliezza maggiore dell'altra: quella con ampiezza minore e segnale piu` sinusoidale e` l'ingresso e devi entrare li` con il modulo esterno. E` anche possibile che quando vai con la sonda dell'oscilloscopio sull'ingresso l'oscillazione si fermi.
L'altra possibilita` e` di entrare su uno dei due piedini con una R da 10 kohm e un segnale alto o basso (alimentazione o ground) e vedere se sull'altro piedino hai un segnale opposto: se e` cosi` hai trovato l'ingresso, altrimenti sei sull'uscita.
Se metti un oscillatore esterno devi entrare sull'ingresso e togliere tutto quello che e` collegato ai due piedini, L, C ed R e lasciare libera l'uscita.
Good luck!
(*) Sfortunatamente il terzo overtone di un quarzo non e` detto che sia esattamente alla frequenza tripla della fondamentale. Potrebbe essere necessario prendere un po` di quarzi a frequenze diverse intorno a 12.544 MHz e vedere quale da` la frequenza giusta.
Come prima cosa proverei a mettere un quarzo da 12.544MHz (*) che possa andare in terza armonica.
Se vuoi mettere un oscillatore esterno alla frequenza di 37... MHz credo lo possa fare, devi solo entrare sul piedino giusto.
Uno dei due piedini collegati al quarzo e` un ingresso e l'altro e` una uscita. Il piedino OSC3A dovrebbe essere l'uscita e OSC3B l'ingresso.
Per verificarlo ci sono un paio di modi (oltre a guardare il data sheet che mi pare non si trovi)
Metti un quarzo qualunque dalle parti di 10MHz, e guardi con l'oscilloscopio se oscilla: un piedino dovrebbe avere una ampliezza maggiore dell'altra: quella con ampiezza minore e segnale piu` sinusoidale e` l'ingresso e devi entrare li` con il modulo esterno. E` anche possibile che quando vai con la sonda dell'oscilloscopio sull'ingresso l'oscillazione si fermi.
L'altra possibilita` e` di entrare su uno dei due piedini con una R da 10 kohm e un segnale alto o basso (alimentazione o ground) e vedere se sull'altro piedino hai un segnale opposto: se e` cosi` hai trovato l'ingresso, altrimenti sei sull'uscita.
Se metti un oscillatore esterno devi entrare sull'ingresso e togliere tutto quello che e` collegato ai due piedini, L, C ed R e lasciare libera l'uscita.
Good luck!
(*) Sfortunatamente il terzo overtone di un quarzo non e` detto che sia esattamente alla frequenza tripla della fondamentale. Potrebbe essere necessario prendere un po` di quarzi a frequenze diverse intorno a 12.544 MHz e vedere quale da` la frequenza giusta.
Per usare proficuamente un simulatore, bisogna sapere molta più elettronica di lui
Plug it in - it works better!
Il 555 sta all'elettronica come Arduino all'informatica! (entrambi loro malgrado)
Se volete risposte rispondete a tutte le mie domande
Plug it in - it works better!
Il 555 sta all'elettronica come Arduino all'informatica! (entrambi loro malgrado)
Se volete risposte rispondete a tutte le mie domande
0
voti
IsidoroKZ ha scritto:(*) Sfortunatamente il terzo overtone di un quarzo non e` detto che sia esattamente alla frequenza tripla della fondamentale. Potrebbe essere necessario prendere un po` di quarzi a frequenze diverse intorno a 12.544 MHz e vedere quale da` la frequenza giusta.
Sono curioso, puoi spiegare il motivo o darmi un link dove è spiegato?
Boiler
6
voti
Non so spiegartelo, fa parte di quelle cose che si imparano durante la vita di elettronico, e poi non si sa piu` dove le si e` imparate. Ho chiesto anche a un esperto internazionale di oscillatori e di rumore di fase, ma niente risposta puntuale 
Posso darti qualche indicazione qua e la`. Ci sono circuiti che fanno oscillare il quarzo contemporaneamente in fondamentale e in terzo overtone, poi moltiplicano per tre la frequenza della fondamentale e la fanno battere con il terzo overtone: la frequenza risultante, che non e` zero perche' il terzo overtone non e` la terza armonica, dipende quasi linearmente dalla temperatura: in questo modo si misura la temperatura del cristallo durante il funzionamento. In questi circuiti il battimento ha una frequenza del percento della terza armonica.
Il cristallo di quarzo, essendo un oggetto tridimensionale, ha molti modi di oscillazioni, che normalmente si vogliono sopprimere in modo che non diano problemi (=rumore di fase) durante il funzionamento. Ad esempio un modo per ottenere questo e` fare i lati della piastrina non diritti ma bombati verso l'esterno. Con questa costruzione i modi di oscillazione shear sono disturbati diversamente a seconda della configurazione di oscillazione.
Se la piastra di quarzo fosse illimitata lateralmente, il terzo overtone sarebbe a frequenza tripla, purtroppo i quarzi infinitamente estesi non ci sono ed entrano in gioco altri modi di risonanza che puoi vedere ad esempio in questo tutorial, pagina 57. Tutto il tutorial e` molto ben fatto, preparato da Vig, una delle autorita` mondiali su quarzi, ora in pensione.
Altri posti dove cercare qualcosa di sistematico sui quarzi sono i libri di Gerber e Ballato.
L'ultima frase della mail del mio amico dice "Tutto il sapere sui quarzi è annegato in vecchi articoli e libri, difficili da identificare e da leggere con la cultura di oggi."
Posso darti qualche indicazione qua e la`. Ci sono circuiti che fanno oscillare il quarzo contemporaneamente in fondamentale e in terzo overtone, poi moltiplicano per tre la frequenza della fondamentale e la fanno battere con il terzo overtone: la frequenza risultante, che non e` zero perche' il terzo overtone non e` la terza armonica, dipende quasi linearmente dalla temperatura: in questo modo si misura la temperatura del cristallo durante il funzionamento. In questi circuiti il battimento ha una frequenza del percento della terza armonica.
Il cristallo di quarzo, essendo un oggetto tridimensionale, ha molti modi di oscillazioni, che normalmente si vogliono sopprimere in modo che non diano problemi (=rumore di fase) durante il funzionamento. Ad esempio un modo per ottenere questo e` fare i lati della piastrina non diritti ma bombati verso l'esterno. Con questa costruzione i modi di oscillazione shear sono disturbati diversamente a seconda della configurazione di oscillazione.
Se la piastra di quarzo fosse illimitata lateralmente, il terzo overtone sarebbe a frequenza tripla, purtroppo i quarzi infinitamente estesi non ci sono ed entrano in gioco altri modi di risonanza che puoi vedere ad esempio in questo tutorial, pagina 57. Tutto il tutorial e` molto ben fatto, preparato da Vig, una delle autorita` mondiali su quarzi, ora in pensione.
Altri posti dove cercare qualcosa di sistematico sui quarzi sono i libri di Gerber e Ballato.
L'ultima frase della mail del mio amico dice "Tutto il sapere sui quarzi è annegato in vecchi articoli e libri, difficili da identificare e da leggere con la cultura di oggi."
Per usare proficuamente un simulatore, bisogna sapere molta più elettronica di lui
Plug it in - it works better!
Il 555 sta all'elettronica come Arduino all'informatica! (entrambi loro malgrado)
Se volete risposte rispondete a tutte le mie domande
Plug it in - it works better!
Il 555 sta all'elettronica come Arduino all'informatica! (entrambi loro malgrado)
Se volete risposte rispondete a tutte le mie domande
5
voti
IsidoroKZ ha scritto:...L'ultima frase della mail del mio amico dice "Tutto il sapere sui quarzi è annegato in vecchi articoli e libri, difficili da identificare e da leggere con la cultura di oggi."
Sarò OT ma a leggere questo riferimento alla "cultura di oggi" sono quasi caduto dal letto dal ridere. Tutto il modo di fare odierno è così orientato a comprimere i tempi di apprendimento e riflessione sulle cose che viene da chiedersi che cosa rimane realmente dei tempi FISICAMENTE necessari al cervello per imparare e digerire davvero le cose. Le "pappe" vengono ormai talmente prefiltrate e predigerite per evitare il più possibile gli sforzi di apprendimento (equi sta il punto) che viene da chiedersi fino a che punto la gente abbia oggi ancora "i denti" per "masticare e digerire" per conto suo le cose che vuole o deve imparare. (Fine OT)
18 messaggi
• Pagina 1 di 2 • 1, 2
Chi c’è in linea
Visitano il forum: Google [Bot], Google Adsense [Bot] e 39 ospiti

Elettrotecnica e non solo (admin)
Un gatto tra gli elettroni (IsidoroKZ)
Esperienza e simulazioni (g.schgor)
Moleskine di un idraulico (RenzoDF)
Il Blog di ElectroYou (webmaster)
Idee microcontrollate (TardoFreak)
PICcoli grandi PICMicro (Paolino)
Il blog elettrico di carloc (carloc)
DirtEYblooog (dirtydeeds)
Di tutto... un po' (jordan20)
AK47 (lillo)
Esperienze elettroniche (marco438)
Telecomunicazioni musicali (clavicordo)
Automazione ed Elettronica (gustavo)
Direttive per la sicurezza (ErnestoCappelletti)
EYnfo dall'Alaska (mir)
Apriamo il quadro! (attilio)
H7-25 (asdf)
Passione Elettrica (massimob)
Elettroni a spasso (guidob)
Bloguerra (guerra)






