ciao a tutti, vi chiedo venia e consiglio su come collegare la massa del trasformatore:
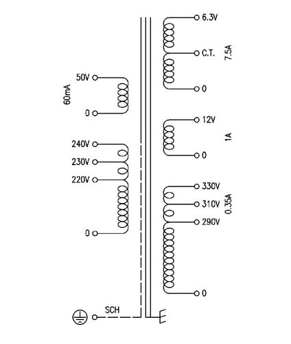
mi spiego, ho un trasformatore come da immagine allegata che vorrei prelevare due tensioni una positiva e una negativa di 48V circa 6/8mA per ramo. volevo provare a banco se tutto funziona! ma la massa dove la collego?
390 ohm possono bastare per le due resistenze?
grazie
collegamento trasformatore
Moderatori:
carloc,
g.schgor,
BrunoValente,
IsidoroKZ
13 messaggi
• Pagina 1 di 2 • 1, 2
0
voti
Non è che sei molto chiaro.
Se è ho ben capito, se i raddrizzatori sono a semplice semionda.
Usi l'avvolgimento 0 - 50 V, 60 mA max
Collegi J3 e J4 fra loro e al morsetto 50 V,
colleghi il GND al morsetto 0 V.
Per doverosa sicurezza, colleghi la massa trasformatore e lo SCH al filo di massa (giallo-verde) della presa elettrica.
ATTENTO A NON PRENDERE LA SCOSSA
Per il carico ? 50 V/390 = 128 mA troppa corrente !
Se è ho ben capito, se i raddrizzatori sono a semplice semionda.
Usi l'avvolgimento 0 - 50 V, 60 mA max
Collegi J3 e J4 fra loro e al morsetto 50 V,
colleghi il GND al morsetto 0 V.
Per doverosa sicurezza, colleghi la massa trasformatore e lo SCH al filo di massa (giallo-verde) della presa elettrica.
ATTENTO A NON PRENDERE LA SCOSSA
390 ohm possono bastare per le due resistenze?
Per il carico ? 50 V/390 = 128 mA troppa corrente !
0
voti
La massa sul morsetto "0V" , J3 e J4 uniti insieme collegati sul morsetto "50V"
Mi raccomando isola per bene il secondario della anodica, che proprio una settimana fa l'ho toccata col pollice
Marco, ci siamo sovrapposti
Mi raccomando isola per bene il secondario della anodica, che proprio una settimana fa l'ho toccata col pollice
Marco, ci siamo sovrapposti
-

SediciAmpere
4.187 5 5 8 - Master

- Messaggi: 4848
- Iscritto il: 31 ott 2013, 15:00
0
voti
MarcoD ha scritto:Non è che sei molto chiaro.
Se è ho ben capito, se i raddrizzatori sono a semplice semionda.
Usi l'avvolgimento 0 - 50 V, 60 mA max
Collegi J3 e J4 fra loro e al morsetto 50 V,
colleghi il GND al morsetto 0 V.
Per doverosa sicurezza, colleghi la massa trasformatore e lo SCH al filo di massa (giallo-verde) della presa elettrica.
ATTENTO A NON PRENDERE LA SCOSSA
quindi dici di collegare il gnd del crcuito alla 220 V ? ma non va in corto?
-

Antonio2000
5 2 - Messaggi: 29
- Iscritto il: 3 set 2021, 11:17
0
voti
No !!!. Mi spiego, al morsetto 0 dell'avvolgimento 50 V.
50 x 1,41 = 70 V
zener 48 V
( 70 - 48)/390 = 5,6 mA , se sono le R nel filtro, dovrebbero bastare
5,6 x 22 = 123 mW dissipazione, vanno bene 1/2 watt
50 x 1,41 = 70 V
zener 48 V
( 70 - 48)/390 = 5,6 mA , se sono le R nel filtro, dovrebbero bastare
5,6 x 22 = 123 mW dissipazione, vanno bene 1/2 watt
0
voti
ok, direi che si fa cosi......
le due resistenze da 390 ohm possono bastare?
grazie
le due resistenze da 390 ohm possono bastare?
grazie
-

Antonio2000
5 2 - Messaggi: 29
- Iscritto il: 3 set 2021, 11:17
0
voti
Noooo !!!!! Chè 220 V !
Fase e neutro devono esserd collegati solamente al primario
Marco ha detto di collegare il filo di schermo del trasformatore alla messa a terra.
Ti consiglio di farti aiutare da qualcuno che se ne intende
Per le resistenze, 390 Ω è troppo poco, i diodi zener si bruciano subito, comincia con 2,2 kΩ e casomai aggiusta il valore a tentativi. Anche con 2,2 kΩ gli zener scalderanno parecchio, saldali lasciandoli sollevati almeno 1 cm dal circuito stampato e, se li trovi, comprali da 1W o più.
Antonio, ma se sicuro che ti convenga usare un trasformatore da 100-150 VA per utlizzare neanche 1 W ?
Fase e neutro devono esserd collegati solamente al primario
Marco ha detto di collegare il filo di schermo del trasformatore alla messa a terra.
Ti consiglio di farti aiutare da qualcuno che se ne intende
Per le resistenze, 390 Ω è troppo poco, i diodi zener si bruciano subito, comincia con 2,2 kΩ e casomai aggiusta il valore a tentativi. Anche con 2,2 kΩ gli zener scalderanno parecchio, saldali lasciandoli sollevati almeno 1 cm dal circuito stampato e, se li trovi, comprali da 1W o più.
Antonio, ma se sicuro che ti convenga usare un trasformatore da 100-150 VA per utlizzare neanche 1 W ?
-

SediciAmpere
4.187 5 5 8 - Master

- Messaggi: 4848
- Iscritto il: 31 ott 2013, 15:00
0
voti
MarcoD ha scritto:Noooo !!!!!![]()
ok ok ok..... si intendi lo stesso 0V della linea 50V
che somaro che sono......
-

Antonio2000
5 2 - Messaggi: 29
- Iscritto il: 3 set 2021, 11:17
0
voti
SediciAmpere ha scritto:Noooo !!!!! Chè 220 V !
Fase e neutro devono esserd collegati solamente al primario
Marco ha detto di collegare il filo di schermo del trasformatore alla messa a terra.
Ti consiglio di farti aiutare da qualcuno che se ne intende
Per le resistenze, 390 Ω è troppo poco, i diodi zener si bruciano subito, comincia con 2,2 kΩ e casomai aggiusta il valore a tentativi. Anche con 2,2 kΩ gli zener scalderanno parecchio, saldali lasciandoli sollevati almeno 1 cm dal circuito stampato e, se li trovi, comprali da 1W o più.
Antonio, ma se sicuro che ti convenga usare un trasformatore da 100-150 VA per utlizzare neanche 1 W ?
certo che no! il trafo serve per un'ampli con EL84..... certo che la partenza non e' delle migliori.....
-

Antonio2000
5 2 - Messaggi: 29
- Iscritto il: 3 set 2021, 11:17
13 messaggi
• Pagina 1 di 2 • 1, 2
Chi c’è in linea
Visitano il forum: Nessuno e 289 ospiti

Elettrotecnica e non solo (admin)
Un gatto tra gli elettroni (IsidoroKZ)
Esperienza e simulazioni (g.schgor)
Moleskine di un idraulico (RenzoDF)
Il Blog di ElectroYou (webmaster)
Idee microcontrollate (TardoFreak)
PICcoli grandi PICMicro (Paolino)
Il blog elettrico di carloc (carloc)
DirtEYblooog (dirtydeeds)
Di tutto... un po' (jordan20)
AK47 (lillo)
Esperienze elettroniche (marco438)
Telecomunicazioni musicali (clavicordo)
Automazione ed Elettronica (gustavo)
Direttive per la sicurezza (ErnestoCappelletti)
EYnfo dall'Alaska (mir)
Apriamo il quadro! (attilio)
H7-25 (asdf)
Passione Elettrica (massimob)
Elettroni a spasso (guidob)
Bloguerra (guerra)
