Le mie fonti attuali sono il Perfetti e il Dorf, dai quali apprendo la seguente equivalenza nella regione lineare
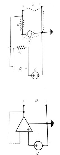
Da uno dei vari esempi applicativi (nello specifico quello di un inseguitore di tensione) noto che gli ingressi (invertente e non invertente) sono... "invertiti", nel senso che sono posizionati come segue
La mia domanda è: in tal caso, dovrebbe essere ''invertita'' anche la polarità del generatore controllato nel circuito equivalente?
Le perplessità nascono dal fatto che mi pare non sia così...
(almeno se ho ben capito dall'esempio che accludo qui)
Grazie a tutti per ogni chiarimento


Elettrotecnica e non solo (admin)
Un gatto tra gli elettroni (IsidoroKZ)
Esperienza e simulazioni (g.schgor)
Moleskine di un idraulico (RenzoDF)
Il Blog di ElectroYou (webmaster)
Idee microcontrollate (TardoFreak)
PICcoli grandi PICMicro (Paolino)
Il blog elettrico di carloc (carloc)
DirtEYblooog (dirtydeeds)
Di tutto... un po' (jordan20)
AK47 (lillo)
Esperienze elettroniche (marco438)
Telecomunicazioni musicali (clavicordo)
Automazione ed Elettronica (gustavo)
Direttive per la sicurezza (ErnestoCappelletti)
EYnfo dall'Alaska (mir)
Apriamo il quadro! (attilio)
H7-25 (asdf)
Passione Elettrica (massimob)
Elettroni a spasso (guidob)
Bloguerra (guerra)



è riferita alla differenza tra terminale + e - (come dovrebbe essere).
