Sostituzione sensore PIR in sistema di allarme
42 messaggi
• Pagina 1 di 5 • 1, 2, 3, 4, 5
0
voti
Ciao a tutti, torno su questo bellissimo forum dopo un bel po' di colpevole silenzio. . ahimè... non si può essere ovunque e le giornate son sempre di 24 ore. Il quesito ( perché la mia testa è una collezione di quesiti ) consiste in questo : come collegare un nuovo sensore PIR di rilevamento presenza , in un impianto allarme artigianale, costruito per me anni fa da un elettricista ora non più disponibile. A dire il vero è la seconda sostituzione che faccio, in circa 15 anni. Ma questa volta ho cambiato modello del sensore e sono arrivati i problemi. Prima pero' devo spiegare bene come funziona la logica dell'impianto. C'è il sensore che rileva se c'è un movimento in cortile. Dopo il rilevamento una sirena è autorizzata a suonare per un tot di secondi. A monte di tutto c'è una centralina comandata da un radiocomando a 2 pulsanti, che io tengo in casa . un pulsante accende e spegne una luce, l'altro autorizza l'accensione della sirena, qualora il sensore abbia fatto un rilevamento. Per dirla in breve , il sensore è sempre attivo ( si sente un clic entrando nella sua orbita ) ma la sirena suona solo se il telecomando ha autorizzato la sua accensione.
Problema : sostituito il sensore e atteso che il medesimo sia sia stabilizzato una volta messo in tensione , quando il sensore rileva un movimento suona anche la sirena, indipendente dal pulsante del r.comando, ossia come se fosse saltata la parte di circuito che dovrebbe gestire la sirena. Faccio notare che azionando il r.comando si sente un lieve clic nella centralina posta vicino alla sirena, quindi il dialogo centralina- r.comando c'è. Inoltre col r.comando accendo e spengo normalmente la lampada in cortile.
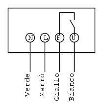
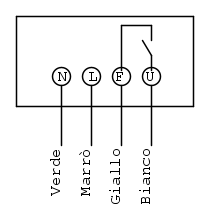
Dati : allego 2 foto delle istruzioni di montaggio del sensore originale, marca theben. una foto ha lo schema prescritto per il montaggio, l'altra ha degli appunti dell'elettricista con il significato dei colori dei 4 fili utilizzati per il collegamento del sensore originale all'impianto. questi 4 fili ( con 4 colori diversi ) escono sotto forma di cavetto quadripolare da un foro nel muro e , ovviamente , sono il collegamento fra la centralina e il sensore .
Il nuovo sensore , che ho provato in casa e funziona perfettamente , ha 3 fili e non 4 : fase, neutro e il segnale, ossia un filo rosso che ha dentro la fase 220 v solo se il sensore ha rilevato presenza. Il vecchio sensore invece ( come si puo' vedere dallo schema della theben e dagli appunti dell elettricista ) ha quattro fili.
Io ho provato qualche collegamento e ho desistito. Mi suona sempre la sirena ignorando il r.comando. Ma comincio ad avere un dubbio... saro' sempre io che sbaglio oppure è possibile che l'apparecchio ricetrasmittente nella centralina non funzioni bene e , nonostante il debole rumore di un relè che scatta, in realtà non gestisce piu la sirena che quindi è sempre abilitata a suonare?
io ho provato ad aprire la centralina ma c'è all'interno un bel casino quindi per me sarebbe molto meglio lavorare all'esterno ossia sui collegamenti fra il. muro ed il sensore . Vorrei poter avere la certezza che i miei collegamenti siano esatti, prima di accusare la centralina e chiamare un tecnico.
scusate la lunghezza del quesito.. spero di essere stato chiaro e attenti : ho già pronto altro argomento
Problema : sostituito il sensore e atteso che il medesimo sia sia stabilizzato una volta messo in tensione , quando il sensore rileva un movimento suona anche la sirena, indipendente dal pulsante del r.comando, ossia come se fosse saltata la parte di circuito che dovrebbe gestire la sirena. Faccio notare che azionando il r.comando si sente un lieve clic nella centralina posta vicino alla sirena, quindi il dialogo centralina- r.comando c'è. Inoltre col r.comando accendo e spengo normalmente la lampada in cortile.
Dati : allego 2 foto delle istruzioni di montaggio del sensore originale, marca theben. una foto ha lo schema prescritto per il montaggio, l'altra ha degli appunti dell'elettricista con il significato dei colori dei 4 fili utilizzati per il collegamento del sensore originale all'impianto. questi 4 fili ( con 4 colori diversi ) escono sotto forma di cavetto quadripolare da un foro nel muro e , ovviamente , sono il collegamento fra la centralina e il sensore .
Il nuovo sensore , che ho provato in casa e funziona perfettamente , ha 3 fili e non 4 : fase, neutro e il segnale, ossia un filo rosso che ha dentro la fase 220 v solo se il sensore ha rilevato presenza. Il vecchio sensore invece ( come si puo' vedere dallo schema della theben e dagli appunti dell elettricista ) ha quattro fili.
Io ho provato qualche collegamento e ho desistito. Mi suona sempre la sirena ignorando il r.comando. Ma comincio ad avere un dubbio... saro' sempre io che sbaglio oppure è possibile che l'apparecchio ricetrasmittente nella centralina non funzioni bene e , nonostante il debole rumore di un relè che scatta, in realtà non gestisce piu la sirena che quindi è sempre abilitata a suonare?
io ho provato ad aprire la centralina ma c'è all'interno un bel casino quindi per me sarebbe molto meglio lavorare all'esterno ossia sui collegamenti fra il. muro ed il sensore . Vorrei poter avere la certezza che i miei collegamenti siano esatti, prima di accusare la centralina e chiamare un tecnico.
scusate la lunghezza del quesito.. spero di essere stato chiaro e attenti : ho già pronto altro argomento
-

indianajones3
43 2 - New entry

- Messaggi: 78
- Iscritto il: 3 nov 2021, 13:31
0
voti
Ciao, grazie per il contributo. È un problema superabile?
-

indianajones3
43 2 - New entry

- Messaggi: 78
- Iscritto il: 3 nov 2021, 13:31
0
voti
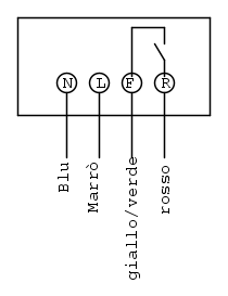
Lo schema RCV è il nuovo sensore? Il sensore lo usi solo per allarme, oppure anche illuminazione? In base ai colori del tuo elettricista forse si può far qualcosa.
Se esiste il ponte tra L e F lo devi togliere. collegalo così, fai sapere.
Se esiste il ponte tra L e F lo devi togliere. collegalo così, fai sapere.
-

StefanoSunda
2.880 3 6 10 - Master

- Messaggi: 1962
- Iscritto il: 16 set 2010, 19:29
0
voti
I fili dalla centralina antifurto sono Verde - Marrò - giallo - bianco. Sicuramente lasciando il ponte hai mandato la fase in centralina, io non ho letto tutto la tua relazione. Forse bisognerà realizare lo chema dove c'è il relè ausiliario, come dice gabrisav.
-

StefanoSunda
2.880 3 6 10 - Master

- Messaggi: 1962
- Iscritto il: 16 set 2010, 19:29
0
voti
StefanoSunda ha scritto:Lo schema RCV è il nuovo sensore? Il sensore lo usi solo per allarme, oppure anche illuminazione? In base ai colori del tuo elettricista forse si può far qualcosa.
Se esiste il ponte tra L e F lo devi togliere. collegalo così, fai sapere.
lo schema che ho mandato è del sensore vecchio. il nuovo è banale : fase e neutro per alimentarre il sensoere , poi un rosso per dare fase a lampada o altro
-

indianajones3
43 2 - New entry

- Messaggi: 78
- Iscritto il: 3 nov 2021, 13:31
0
voti
StefanoSunda ha scritto:Lo schema RCV è il nuovo sensore? Il sensore lo usi solo per allarme, oppure anche illuminazione? In base ai colori del tuo elettricista forse si può far qualcosa.
Se esiste il ponte tra L e F lo devi togliere. collegalo così, fai sapere.
dunque...le due foto che ho mandato , come dicevo , sono estratte dalle istruzioni del sensore originale, messo dall'elettricista. Poi non so se lui abbia seguito lo schema RCV o l'altro riportato dalle istruzioni. Fra l'altro non so cosa significa nel vostro gergo tecnico "RCV".
Il ponticello che c'è nelle istruzioni non c'è sul posto ed il sensore è utilizzato solo per la sirena, la lampada ha un circuito indipendente dal sensore : è sotto altro pulsante del radiocomando
Però non capisco come collegare 3 fili che arrivano dal sensore nuovo con i 4 punti che mi hai messo nel disegno... il 4° non ce l'ho nel nuovo sensore : è la basetta del sensore vecchio che è rimasta sul muro e ha il cablaggio per 4 fili . In allegato vedi la base del sensore vecchio, montata sul muro, e i fili del nuovo nell'ultimo mio tentativo di collegamento ( sempre con il solito problema che il telecomando viene ignorato). Nota bene : come si vede zoommando la foto, la basetta è stata montata capovolta , infatti le lettere stampate sono a testa in giu.
Ora ho guardato un po' su amazon , ci sono sensori stessa marca ma sono cambiati sia nella forma che nei codici prodotto. Non so se anche utilizzare un sensore " originale " significhi risolvere il problema.
-

indianajones3
43 2 - New entry

- Messaggi: 78
- Iscritto il: 3 nov 2021, 13:31
0
voti
Bene, bene non ti sei spiegato bene. Nella foto di reperto, vi è il filo giallo verde collegato col marrò, toglilo aggiungi il filo g/v e lo colleghi al sensore come schema.Il ponticello che c'è nelle istruzioni non c'è sul posto ed il sensore è utilizzato solo per la sirena, la lampada ha un circuito indipendente dal sensore : è sotto altro pulsante del radiocomando
-

StefanoSunda
2.880 3 6 10 - Master

- Messaggi: 1962
- Iscritto il: 16 set 2010, 19:29
0
voti
StefanoSunda ha scritto:Bene, bene non ti sei spiegato bene. Nella foto di reperto, vi è il filo giallo verde collegato col marrò, toglilo aggiungi il filo g/v e lo colleghi al sensore come schema.Il ponticello che c'è nelle istruzioni non c'è sul posto ed il sensore è utilizzato solo per la sirena, la lampada ha un circuito indipendente dal sensore : è sotto altro pulsante del radiocomando
chiedo scusa ma nell'ultima foto che ho postato non c'è alcun filo giallo/verde : ce n'è uno verde e uno giallo . I collegamenti con i fili del nuovo sensore li avevo fatti in quel momento come ultima prova, un tentativo che pero' non mi è servito
-

indianajones3
43 2 - New entry

- Messaggi: 78
- Iscritto il: 3 nov 2021, 13:31
42 messaggi
• Pagina 1 di 5 • 1, 2, 3, 4, 5
Torna a Costruzione, riparazione, riutilizzo
Chi c’è in linea
Visitano il forum: Nessuno e 8 ospiti

Elettrotecnica e non solo (admin)
Un gatto tra gli elettroni (IsidoroKZ)
Esperienza e simulazioni (g.schgor)
Moleskine di un idraulico (RenzoDF)
Il Blog di ElectroYou (webmaster)
Idee microcontrollate (TardoFreak)
PICcoli grandi PICMicro (Paolino)
Il blog elettrico di carloc (carloc)
DirtEYblooog (dirtydeeds)
Di tutto... un po' (jordan20)
AK47 (lillo)
Esperienze elettroniche (marco438)
Telecomunicazioni musicali (clavicordo)
Automazione ed Elettronica (gustavo)
Direttive per la sicurezza (ErnestoCappelletti)
EYnfo dall'Alaska (mir)
Apriamo il quadro! (attilio)
H7-25 (asdf)
Passione Elettrica (massimob)
Elettroni a spasso (guidob)
Bloguerra (guerra)


