Indice |
Introduzione
Il seguente articolo vuole essere una prima introduzione a quelli che sono i motori alternativi a combustione interna, di cui verranno esposte le generalità e che cercheremo di classificare.
Va detto che quanto riportato in questo articolo è, ovviamente, solo una panoramica di alcuni degli aspetti essenziali di un argomento vastissimo come quello dei motori alternativi a combustione interna, che meriterebbe una trattazione molto più lunga, articolata e complessa.
Buona lettura.
Il meccanismo biella - manovella
Il funzionamento cinematico e su cui si basa il trasferimento di lavoro per un motore alternativo a combustione interna, denominato anche in modo più "sbrigativo" motore a c.i., è quello delle macchine volumetriche alternative, con il meccanismo biella-manovella, che cercheremo ora di esporre brevemente.
Innanzitutto come funziona una macchina volumetrica alternativa ?
Lo schema di funzionamento di una macchina volumetrica alternativa è il seguente :
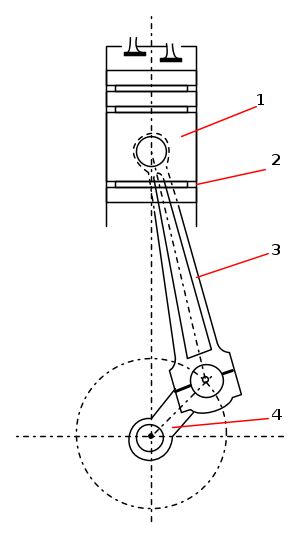
dove i numeri in figura indicano rispettivamente :
- 1 : stantuffo;
- 2 : cilindro;
- 3 : biella;
- 4 : manovella.
In una macchina volumetrica alternativa motrice lo stantuffo, con il suo moto alterno, dà origine ad una capacità che periodicamente si riempie e si svuota del fluido motore che espande nel cilindro.
La pressione, staticamente esercitata dal fluido sulla testa dello stantuffo, mediante il movimento di quest'ultimo, produce lavoro meccanico che viene reso disponibile sull'albero rotante della macchina tramite un sistema biella-manovella, che tra poco vedremo.
Per il caso di macchina volumetrica alternativa operatrice, il moto rotatorio dell'albero, che viene azionato dall'esterno in maniera opportuna, si trasforma, sempre grazie al meccanismo biella-manovella, in moto alternato dello stantuffo che agisce sul fluido e ne aumenta la pressione.
Ed ora veniamo al nostro meccanismo biella-manovella.
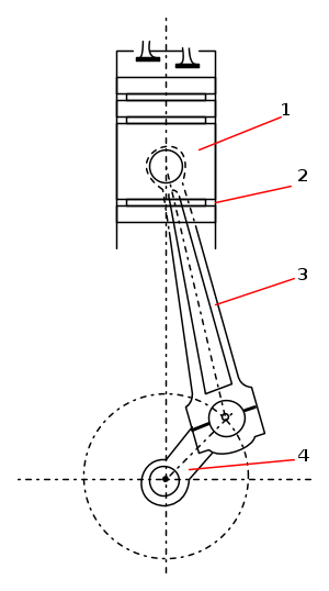
Riprendendo quanto detto prima, si ha che il moto alternato dello stantuffo, generato staticamente dalla pressione del fluido per una macchina motrice, si trasforma in moto rotatorio grazie al meccanismo biella b - manovella m, illustrato schematicamente nella figura che segue :
La seguente immagine, tratta da http://dimeca.unica.it/organizzazione/laboratori/amrlab/e-learning/dismec02.html, ritrae il meccanismo biella-manovella per un motore a 2 tempi (di cui parleremo in seguito) :
Alle due estremità della biella, che sono chiamate rispettivamente piede di biella e testa di biella, vi sono due fori che consentono il collegamento da una parte allo stantuffo e dall'altra alla manovella.
Lo spinotto, invece, è un perno cilindrico a sezione circolare che collega lo stantuffo e il piede di biella e ne consente la rotazione relativa. La testa di biella è solitamente divisa in due parti che sono collegate tra loro da viti o bulloni ed è collegata al perno o bottone di manovella in modo tale da permettere la rotazione relativa.
La manovella è parte dell'albero motore, chiamato anche albero a gomiti.
La seguente immagine, tratta da http://www.scuderie-rbc.it/albero_motore.html, ritrae un albero a gomiti o albero a motore :
La forza F che deriva dalla pressione del fluido è scomposta nelle forze Fb, che è diretta lungo la biella, e N che è diretta normalmente all'asse del cilindro :


La forza N non fornisce lavoro utile, dato che è normale alla direzione di spostamento dello stantuffo, ma fa nascere una resistenza di attrito nello spinotto e sulle pareti laterali dello stantuffo.
La forza Fb può essere scomposta in una forza tangenziale T e in una forza radiale R.
La forza T è necessaria per la rotazione dell'albero che ha atto per mezzo di un momento motore Mm, pari a :

Per determinati valori di F e r il momento motore varia relativamente alla configurazione momentanea assunta dal manovellismo, che istante per istante varia con gli angoli θ e φ.
Sui può dire quindi che una fondamentale caratteristica del meccanismo biella-manovella è la variabilità periodica del momento motore, che presenta valori nulli agli estremi della corsa e degli stantuffi (ai cosiddetti punti morti dove
e
o
).
Il momento che deriva dalla forza F e che agisce sull'albero può essere denominato motore o resistente relativamente al fatto che lo sia anche forza F e quindi relativamente al fatto che il verso verso cui si sposta il pistone sia concorde o meno con il verso della forza F.
Nella figura 1 prima disegnata, la forza F è motrice ed il momento quindi è motore.
La forza F, infatti, nella configurazione realizzata con rotazione oraria della manovella, ha lo stesso verso dello spostamento dello stantuffo.
In caso di forza costante durante l'intera corsa (la costanza è intesa sia in intensità che verso) e di biella di lunghezza infinita (
) la (1) prima scritta assume la seguente forma :

che è la legge del moto armonico.
Il momento avrà un massimo per
, quando F è positivo, ovvero un minimo nel caso in cui F sia negativo :
per macchine motrici ed operatrici però l'andamento del motore è ben più complesso dato che la forza F istantanea non è costante e dipende dai valori della pressione del fluido e delle forze di inerzia di pistone e biella, che peraltro variano lungo l'intera corsa.
La forza R che è diretta lungo la manovella non fornisce lavoro utile dato che passa per il centro di rotazione ed il suo momento è nullo. Anch'essa, però, è causa di una resistenza di attrito che si oppone alla rotazione dell'albero.
Se esaminiamo in breve il meccanismo dal punto di vista cinematico, si nota che anche la velocità dello stantuffo è nulla ai punti morti ed è possibile mostrare che essa varia lungo la corsa seguendo la seguente relazione approssimata :

dove :
- ω è la velocità angolare;
- θ è l'angolo di manovella percorso;
- μ = l / r è il rapporto tra le lunghezze della biella e della manovella.
Se, sempre in via ipotetica, avessimo una biella di lunghezza infinita, avremmo :

che avrà valore massimo per
.
Come è fatto (in breve)
Facciamo un'altra piccola precisazione. I motori alternativi sono a combustione interna e vengono detti anche motori primi, poiché tutte le fasi necessarie alla trasformazione dell'energia termica in energia meccanica avvengono tutte in una sola sede che è il sistema pistone - cilindro.
Un motore alternativo a combustione interna è un motore primo formato essenzialmente da uno o più cilindri all'interno dei quali scorrono a tenuta e con poca resistenza i pistoni, che sono collegati tramite altrettanti meccanismi biella - manovella ad un albero motore comune in modo tale che il loro moto rettilineo alternativo venga trasformato in moto di rotazione di quest'ultimo.
I cilindri sono riempiti ciclicamente da una carica di fluido fresco tramite un sistema opportuna di valvole controllate o di luci.
Il fluido è costituito da una miscela di aria e di combustibile oppure dalla sola aria alla quale viene poi aggiunto successivamente il combustibile.
La combustione del combustibile provoca un innalzamento rilevante della temperatura e della pressione del fluido motore e permette allo stesso di compire un ciclo termodinamico e, di conseguenza, di cedere lavoro ai pistoni.
Il fluido operante è formato dai prodotti della combustione avvenuta entro i cilindri della macchina. Da ciò deriva la denominazione di motore a combustione interna.
Come funziona (in breve)
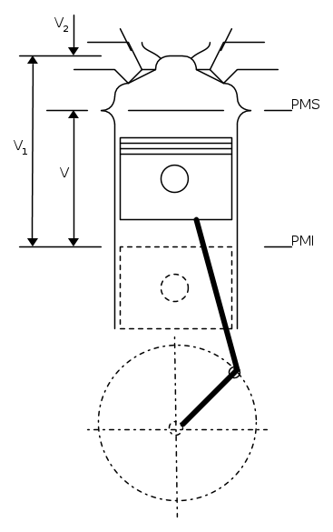
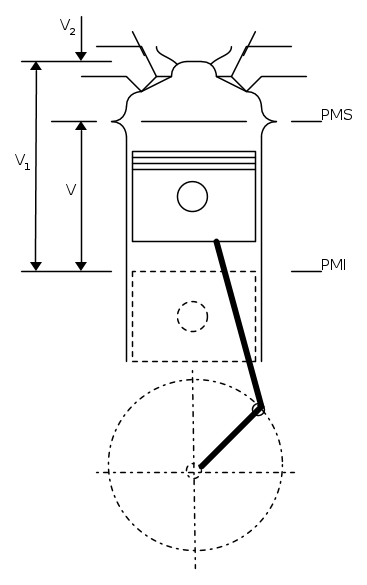
Consideriamo la seguente figura, che ritrae i volumi relativi alla cilindrata e alla camera di combustione :
Il pistone si muove da un punto che è fissato in prossimità del cielo del cilindro e che è detto Punto Morto Superiore (PMS o Esterno) ad un altro punto detto Punto Morto Inferiore (PMI o Interno), la cui distanza dal primo determina la corsa C [m] del pistone.
Si dice cioè che il pistone è al PMS quando esso inverte il moto e il volume a disposizione del fluido è minimo e al PMI quando esso inverte il moto e il volume a disposizione del fluido è massimo.
Il volume del cilindro che corrisponde alla corsa del pistone è la cilindrata V mentre il volume che si trova tra il cielo del cilindro e la testa del pistone, quando questo si trova al PMS, è detto camera di combustione. Questo volume, come già detto, è il minimo volume a disposizione del fluido durante il moto del pistone.
Il diametro D del cilindro è detto alesaggio. Tenendo conto dell'alesaggio, per la cilindrata V possiamo scrivere :
![V\ =\ \frac{\pi }{4}D^{2}C\ [m^{3}]\ .](/mediawiki/images/math/5/7/8/578f8d312b8609e718075e61f81c55c1.png)
Il rapporto seguente :

è denominato rapporto volumetrico di compressione ed è indicato con il simbolo ρ.
Con riferimento alla figura 2 detto V2 il volume della camera di combustione e detto V1 il volume a disposizione del fluido quando il pistone è al PMI che è pari a :

per definizione si ha che :

In ogni tipo di motore alternativo a combustione interna, si ha, nell'ordine che segue la seguente successione di fasi di funzionamento :
- fase di introduzione : una miscela di aria e combustibile o una data quantità di aria a cui si aggiunge in seguito il combustibile viene introdotta nel cilindro per sola depressione provocata dal moto del pistone o impiegando anche un compressore;
- fase di compressione : la miscela o l'aria introdotta viene quindi compressa fino ad un valore della pressione funzione di quello iniziale e del rapporto volumetrico di compressione ρ;
- fase di combustione e di espansione : si ha la combustione più o meno veloce della miscela o del combustibile che viene iniettato e quindi una successiva espansione dei gas combusti;
- fase di scarico : i gas combusti sono espulsi all'esterno per consentire l'ingresso nel cilindro di una carica fresca.
Tra quelle elencate, solamente la fase di combustione - espansione è utile poiché consente di ottenere lavoro dal fluido. Le altre, invece, sono passive.
Precisiamo inoltre che quando il riempimento del cilindro è effettuato per la depressione procurata dal pistone quando avviene il movimento dal PMS al PMI si parla di motore aspirato. Quando invece il fluido motore viene prima compresso e poi introdotto nel cilindro si parla allora di motore sovralimentato.
Classificazione
Le fasi prima citate e brevemente descritte hanno luogo in qualsiasi tipologia di motore alternativo a combustione interna, ma è lecito operare una classificazione di tale tipologia di motori.
Effettuiamo una prima classificazione in base alle modalità con cui si innesca e si sviluppa la combustione.
Si parla quindi di :
- motore alternativo a combustione interna ad accensione comandata, cioè i motori a benzina;
- motore alternativo a combustione interna ad accensione per compressione, cioè i motori diesel o a gasolio.
Va però precisato che questi due appellativi, cioè "a benzina" e "diesel", che comunque useremo nel corso della trattazione per questioni di brevità di scrittura, sono però formalmente errati e possono portare a delle incomprensioni.
Infatti benzina e diesel sono solamente i combustibili adoperati, ma non le caratteristiche dei motori a c.i..
La seguente immagine, tratta da http://www.directindustry.it/prod/hypro-pressure-cleaning/motori-benzina-24464-744555.html, ritrae un esempio di motore a benzina :
La seguente immagine, invece, tratta da http://www.directindustry.it/prod/john-deere-power-systems/motori-diesel-23111-398267.html, ritrae un esempio di motore diesel :
Nei motori ad accensione comandata, durante la fase di aspirazione, mediante la depressione creata nel cilindro per mezzo del movimento del pistone dal PMS al PMI, una miscela di aria e vapori di benzina, che si è formata all'esterno del cilindro, fluisce in quest'ultimo grazie ad una valvola di aspirazione che rimane aperta almeno per tutto la durata della corsa del pistone a cui corrisponde una rotazione dell'albero a manovelle di 180°.
Nella fase di compressione, che viene effettuata a valvole chiuse, si ha la compressione della miscela di aria e vapori di benzina per mezzo del movimento del pistone e, giusto un attimo prima che questo sia arrivato al PMS, si ha lo scoccare di una scintilla elettrica tra gli elettrodi di una candela, che è allocata sulla testata, che provoca, a livello locale, un innalzamento repentino della temperatura che basta a far bruciare la miscela presente nelle zone vicine.
Si sviluppa così un fronte di fiamma che poi si estende a tutta la massa fluida ad una velocità variabile dai 30 metri al secondo ai 50 metri al secondo, dipendentemente dalla turbolenza del fluido stesso.
Quindi, la combustione, nonostante sia velocissima, è caratterizzata da una particolare gradualità per via della velocità finita del fronte di fiamma; sarà graduale anche l'innalzamento di pressione che si verificherà nella massa fluida come conseguenza della combustione.
La combustione, che è cominciata prima che il pistone sia giunto al PMS, ha fine quando il pistone ha già cominciato la corsa seguente di espansione verso il PMI, anch'essa a valvole chiuse, impegnando un numero di gradi di angolo di manovella che varia da 35° a 50° : si dice in genere, quindi, che la combustione avviene a cavallo del PMS.
Quando il pistone giunge al PMI ha fine la fase di espansione a cui segue poi quella di scarico. Durante la fase di scarico il pistone espelle i gas combusti attraverso la valvola di scarico, ora aperta, in modo tale da svuotare il cilindro, affinché possa esservi immessa nella fase successiva di aspirazione una nuova carica fresca di aria e vapori di benzina.
Le differenze principali tra i motori a benzina e diesel si osservano essere per lo più relative alla fase di aspirazione e alla fase di combustione.
Infatti nel cilindro di un motore diesel, diversamente da quanto accade per un motore a benzina, durante la fase di aspirazione si introduce nel cilindro solo aria e non una miscela di aria e combustibile. Il combustibile verrà poi introdotto, finemente polverizzato, verso la fine della fase di compressione, nella camera di combustione, in cui l'aria è stata compressa dal movimento del pistone verso il PMS in modo tale da condurla ad una temperatura maggiore di quella di autoaccensione del combustibile. Quest'ultimo, quando è vaporizzato e una volta che si è mescolato con l'aria, si accende spontaneamente e contemporaneamente (più o meno) in tutte le zone della camera di combustione che sono state raggiunte dalle particelle del combustibile.
Pure in questo caso una buona turbolenza migliora, sempre entro certi limiti, l'andamento della combustione e quindi un più veloce ed uniforme mescolamento del combustibile con l'aria.
In questo caso non si sviluppa un fronte di fiamma e la combustione si svilupperà in modo molto più rapido e violento rispetto a quanto accadeva per un motore a benzina. Gli innalzamenti di pressione saranno quindi più bruschi.
Anche nei motori diesel la combustione avviene a cavallo del PMS impegnando da 35° a 40° di angolo di manovella.
Certamente i motori diesel devono presentare un valore del rapporto volumetrico di compressione ρ maggiore di quello che si ha per i motori a benzina affinché l'aria raggiunga, per via della compressione, un valore della temperatura maggiore di quello della temperatura di autoaccensione del combustibile.
Inoltre sia per il motore a benzina che per quello diesel sono necessari, per compiere un ciclo, due giri dell'albero motore, cioè quattro corse del pistone.
Si parla quindi di motori a quattro tempi.
Vi sono, però, anche i motori a due tempi per i quali le quattro fasi, oramai note, possono avvenire anche con un solo giro dell'albero motore, cioè con due corse solamente del pistone e che possono essere ad accensione comandata o ad accensione per compressione.
Bibliografia e riferimenti
Macchine - Renato Della Volpe.

Elettrotecnica e non solo (admin)
Un gatto tra gli elettroni (IsidoroKZ)
Esperienza e simulazioni (g.schgor)
Moleskine di un idraulico (RenzoDF)
Il Blog di ElectroYou (webmaster)
Idee microcontrollate (TardoFreak)
PICcoli grandi PICMicro (Paolino)
Il blog elettrico di carloc (carloc)
DirtEYblooog (dirtydeeds)
Di tutto... un po' (jordan20)
AK47 (lillo)
Esperienze elettroniche (marco438)
Telecomunicazioni musicali (clavicordo)
Automazione ed Elettronica (gustavo)
Direttive per la sicurezza (ErnestoCappelletti)
EYnfo dall'Alaska (mir)
Apriamo il quadro! (attilio)
H7-25 (asdf)
Passione Elettrica (massimob)
Elettroni a spasso (guidob)
Bloguerra (guerra)



