Cos'è ElectroYou | Login Iscriviti

ElectroYou - la comunità dei professionisti del mondo elettrico

Oscilloscopio cinese

Elettronica lineare e digitale: didattica ed applicazioni

Moderatori: Foto Utentecarloc, Foto Utenteg.schgor, Foto UtenteBrunoValente, Foto UtenteIsidoroKZ

7
voti

[111] Re: Oscilloscopio cinese

Messaggioda Foto UtenteBrunoValente » 11 set 2016, 13:01

Questi passaggi dovrebbero aiutare a capirlo in maniera semplice.

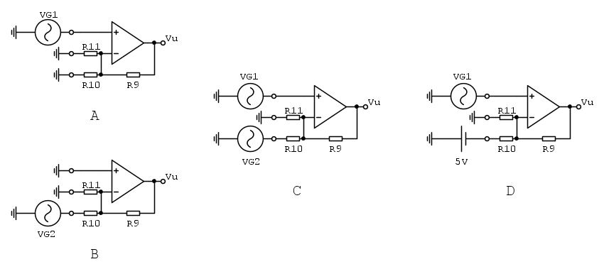
Nel caso (A) non abbiamo dubbi: la tensione di uscita vale
Vu=V_{G1}\left (\frac{R_{9}}{R_{10}\left |  \right |R_{11}}+1  \right )

Nel caso (B) dobbiamo superare una piccola difficoltà: capire che il circuito si comporta come se R11 non ci fosse.

Si capisce facilmente che R11 è ininfluente se si pensa che il potenziale dell'ingresso invertente è pari a 0V, questo perché l'operazionale, se lavora correttamente, muove la tensione di uscita in modo che non vi sia mai differenza di potenziale tra i due ingressi e siccome l'ingresso non invertente è a 0V....

Se nel caso (B) l'ingresso non invertente è sempre a 0V, vuol dire che in R11 non scorre mai corrente, quindi se la togliamo il circuito non se ne accorge (ovviamente l'eliminazione di R11 è lecita solo nel caso (B)).

Di conseguenza nel caso (B)
Vu=-V_{G2}\frac{R_{9}}{R_{10}}

Nel caso (C), dove sono presenti entrambi i generatori, vale la sovrapporizione degli effetti e possiamo calcolare la tensione di uscita come somma dei risultati precedenti
Vu=V_{G1}\left (\frac{R_{9}}{R_{10}\left |  \right |R_{11}}+1  \right )-V_{G2}\frac{R_{9}}{R_{10}}

Il caso (D) corrisponde al nostro circuito dove al posto del generico generatore G2 c'è l'almentatore -5V
Vu=V_{G1}\left (\frac{R_{9}}{R_{10}\left |  \right |R_{11}}+1  \right )+5\frac{R_{9}}{R_{10}}

e inserendo i valori R9=1k, R10=3k, R11=150
Vu=8V_{G1}+1.66

Quindi la tensione di uscita è costituita da una componente continua pari a +1.66V e una componente dipendente dal segnale di ingresso pari a 8VG1.

Il guadagno, cioè la misura della variazione della tensione di uscita quando la tensione di ingresso varia di 1V, è ovviamente pari a 8 e la componente continua non va considerata.
Avatar utente
Foto UtenteBrunoValente
39,6k 7 11 13
G.Master EY
G.Master EY
 
Messaggi: 7796
Iscritto il: 8 mag 2007, 14:48

3
voti

[112] Re: Oscilloscopio cinese

Messaggioda Foto UtentePiercarlo » 11 set 2016, 15:08

Aggiungo un aiutino anch'io. Il punto più importante da capire in questi circuiti quando girano attorno a un operazionale è che TRA INGRESSO INVERTENTE E NON INVERTENTE non vi è IN PRATICA alcuna differenza di tensione: la tensione che c'è su un ingresso DEVE esserci anche sull'altro, pena il comportamento NON lineare dell'operazionale (che significa che l'uscita va in saturazione, incollandosi verso uno o l'altro dei rami di alimentazione)

Se l''operazionale funziona in modo INVERTENTE, con l'ingresso non invertente connesso a massa, l'ingresso invertente, trovandosi a dover avere la stessa tensione dell'ingresso non invertente connesso a massa, si comporterà COME SE FOSSE A MASSA ANCHE LUI e se, attraverso un resistore, gli si applica una tensione, questa tensione farà scorrere nel resistore una CORRENTE che, non potendo andare da nessun'altra parte, verrà assorbita DALL'USCITA - che nel circuito invertente REAGISCE SEMPRE in modo da mantenere a zero volt la tensione sull'ingresso invertente.

Se tra questo ingresso e l'uscita vi è solo un collegamento diretto, l'uscita si limiterà ad assorbire di gusto la corrente che vi immette il resistore di ingresso e... morta lì: l'uscita si comporta anche lei come se fosse una massa e si mangerà la corrente quel tanto che basta a mantenere la tensione dell'ingresso invertente ferma dove si trova. Se invece vi è una resistenza, sull'uscita si genera una tensione di polarità OPPOSTA a quella di ingresso in modo da far sì che sulla resistenza che la collega all'ingresso invertente SCORRA LA STESSA CORRENTE che vi immette il resistore di ingresso.

Da questa uguaglianza di corrente nasce il "guadagno" dell'operazionale usato come amplificatore invertente: se le due resistenze sono UGUALI l'uscita si limita a generare la stessa tensione di ingresso MA CON POLARITA INVERTITA: se la resistenza d'ingresso è MINORE dell'altra resistenza (Rfb, resistenza di feedback) l'uscita per far scorrere la stessa corrente nelle due resistenze, dovrà generare una tensione maggiore di quella di ingresso – e viceversa se la resistenza di ingresso è MAGGIORE di Rfb.
Per l'operazionale non cambia nulla (una volta assorbita la corrente di ingresso lui è contento così!) e comunque la tensione di ingresso sta a quella di uscita come la Rfb sta alla resistenza di ingresso (non è nient'altro che una proporzione!) ma cambia il risultato: nel primo caso avremo sull'uscita,, con polarità invertita, una tensione di uscita MAGGIORE rispetto a quella di ingresso e quindi un circuito che AMPLIFICA; nel secondo caso avremo, sempre con polarità invertita, una tensione di uscita MINORE di quella di ingresso e quindi un circuito che ATTENUA-.

Tutto chiaro? Gli occhi non vi si son mezzi a ruotare impazziti per la stanza? È semplice vero? :mrgreen: ;-)

Ciao
Piercarlo
Avatar utente
Foto UtentePiercarlo
24,0k 6 11 13
G.Master EY
G.Master EY
 
Messaggi: 6722
Iscritto il: 30 mar 2010, 19:23
Località: Milano

0
voti

[113] Re: Oscilloscopio cinese

Messaggioda Foto Utenteclaudiocedrone » 11 set 2016, 17:13

:-|
BrunoValente ha scritto: ...Nel caso (A) non abbiamo dubbi: la tensione di uscita vale
Vu=V_{G1}\left (\frac{R_{9}}{R_{10}\left | \right |R_{11}}+1 \right )...

Voi sicuramente... per me resta la formula di NE senza spiegazione del perché; i virtual short & ground non sono un problema, li accetto anche loro come dogmi ( :mrgreen: ) ... è tutto il resto che ne ricavate il problema ma se per capirlo occorre applicare Thevenin e/o Norton, Kirchhoff, sovrapposizioni degli effetti e compagnia cantante per me è partita persa :lol: (oltre che tempo perso per voi :mrgreen:)
permettetemi però di chiedere un'ultima spiegazione, il comportamento di E ed F ...
"Non farei mai parte di un club che accettasse la mia iscrizione" (G. Marx)
Avatar utente
Foto Utenteclaudiocedrone
21,3k 4 7 9
Master EY
Master EY
 
Messaggi: 15303
Iscritto il: 18 gen 2012, 13:36

0
voti

[114] Re: Oscilloscopio cinese

Messaggioda Foto Utenteclaudiocedrone » 11 set 2016, 19:23

:-) Doveroso fare un passo indietro... descrivo il percorso personale :mrgreen: allora; incuriosito dalla relativa "semplicità" dello schema elettrico dell'oscilloscopio mi ero cimentato a indagarlo per mio conto, le osservazioni dello OP guidato da Foto UtenteBrunoValente mi facevano vedere che tutto appariva funzionare correttamente (display, forma d'onda (bella quadrata), frequenza, regolazioni varie etc.) tranne che veniva visualizzata una ampiezza "ad occhio" un quarto di quella attesa, da cosa poteva dipendere ? Ampiezza non corretta dell'onda quadra di test ? Ma é generata dalla MCU che appunto per il resto pare funzionare correttamente... ADC "sballato" ? "Elettricamente" mi pare (come sopra) improbabile nella mia ignoranza... configurato erroneamente nel firmware ? Sempre personalmente e nella mia ignoranza ritengo poco probabile anche questo :roll: e allora non resta che la parte di ingresso; il difetto quindi dopo i partitori... dunque, un errore frequente che inficia il funzionamento dei circuiti è un componente messo col valore "sbagliato" di un ordine di grandezza e fin dal principio la mia ricerca verteva su tale principio empirico :mrgreen: la mia ricerca si perdeva nel vuoto sbattendo contro quello opamp, configurazione amplificatore non invertente si ma... con l'aggiunta di un offset :cry: ... un resistore e una tensione "in più"... addio formuletta di NE per il guadagno #-o... nel pieno dello sconforto arriva però illuminante il post di Bruno ( ...R10//R11... ) tralascio il dubbio sul perché mai vada considerato quello "strano" parallelo, faccio un po' di conticini finalmente in stile NE e scopro (sostituendo una resistenza per volta con una diversa in valore di un ordine di grandezza e rifacendoi i conti da capo) che la variazione da 1,5 k a 150 Ω di R11 quadruplica il guadagno :-P (e che Bruno si è perso per strada il famigerato +1 :-) ) il bello è che se non si fossero scoperti gli altarini sarebbe morta comunque li, senza aver trovato alcun difetto :lol: ... pensavo p. es. che se uno si trovasse mai con il problema di clonazione opposto (versione hardware con R11 da 150 Ω e firmware che la "vuole" da 1,5 k), provando come l'OP a visualizzare l'onda di calibrazione, questa andrebbe fuori scala, non vedrebbe nulla e penserebbe che non funziona proprio :mrgreen: O_/
"Non farei mai parte di un club che accettasse la mia iscrizione" (G. Marx)
Avatar utente
Foto Utenteclaudiocedrone
21,3k 4 7 9
Master EY
Master EY
 
Messaggi: 15303
Iscritto il: 18 gen 2012, 13:36

2
voti

[115] Re: Oscilloscopio cinese

Messaggioda Foto UtenteBrunoValente » 11 set 2016, 19:48

claudiocedrone ha scritto: ... pensavo p. es. che se uno si trovasse mai con il problema di clonazione opposto (versione hardware con R11 da 150 Ω e firmware che la "vuole" da 1,5 k), provando come l'OP a visualizzare l'onda di calibrazione, questa andrebbe fuori scala, non vedrebbe nulla e penserebbe che non funziona proprio

Be', però provando a cambiare scala poi la vedrebbe.

Sulla falsa riga del precedente discorsetto, se non commetto errori, direi che nel caso (E) abbiamo

Vu=V_{G1}\left (\frac{R_{9}}{R_{10}\left |  \right |R_{11}}+1  \right )+5\frac{R_{9}}{R_{11}}-V_{G2}\frac{R_{9}}{R_{10}}

mentre nel caso (F)

Vu=V_{G1}\left (\frac{R_{9}}{R_{10}\left |  \right |R_{11}}+1  \right )-5\frac{R_{9}}{R_{11}}+5\frac{R_{9}}{R_{10}}
Avatar utente
Foto UtenteBrunoValente
39,6k 7 11 13
G.Master EY
G.Master EY
 
Messaggi: 7796
Iscritto il: 8 mag 2007, 14:48

0
voti

[116] Re: Oscilloscopio cinese

Messaggioda Foto Utenteclaudiocedrone » 11 set 2016, 23:03

\_O_/ ... come temevo... grazie per i vostri sforzi :ok: O_/
"Non farei mai parte di un club che accettasse la mia iscrizione" (G. Marx)
Avatar utente
Foto Utenteclaudiocedrone
21,3k 4 7 9
Master EY
Master EY
 
Messaggi: 15303
Iscritto il: 18 gen 2012, 13:36

1
voti

[117] Re: Oscilloscopio cinese

Messaggioda Foto Utenteclaudiocedrone » 15 set 2016, 0:45

:-) Riprendo un attimo l'invasione di questo thread poiché nonostante mi fossi arreso non ho potuto evitare di rimuginare giorno e notte sulla faccenda... ho provato a semplificare la cosa ragionando solo su virtual short & ground, amplificazione di tensione e tensioni continue e ne ho tratto delle conclusioni (che però non riesco a suffragare o smentire con calcoli dato che non sono capace a farli)... dunque;

amplificatore invertente: l'ingresso non invertente è inchiodato al riferimento tirandosi dietro l'ingresso invertente, applico una tensione all'ingresso invertente tramite una resistenza Rx e riporto la tensione in uscita allo stesso ingresso invertente tramite una resistenza Rf, a questo punto per riposizionare l'ingresso invertente al potenziale di quello non invertente, ovvero al riferimento, dato che Rf e Rx formano una partizione (qui mi si apre un ulteriore "perché"... ma tanto è un gioco di scatole cinesi :( ogni because genera uno e/o più why... ) sulla tensione d'uscita riportata all'ingresso invertente, l'opamp è costretto ad aumentare il potenziale dell'uscita tot volte rispetto al potenziale applicato in ingresso non invertente, dove tot risulta pari al rapporto Rf/Rx, ed ecco spiegato il perché del fatto il guadagno dell'ampli invertente viene stabilito dal rapporto tra i valori della resistenza di feedback e di quella di ingresso (e morta la);
amplificatore non invertente: tutto quasi come sopra ma si entra direttamente nell'ingresso non invertente e mentre prima questi era inchiodato al riferimento ora assume il potenziale applicatogli in ingresso (e l'invertente appresso), quindi per ristabilire l'equibrio ora l'opamp è costretto ad aumentare il potenziale dell'uscita tot volte (rapporto Rf/Rx) più una ulteriore volta ( :idea: ... :? ...) ed ecco il perché del +1 nella formula del guadagno... non vi preoccupate però, come ho scritto eresie sono disposto tranquillamente ad abiurarle :mrgreen: mi appello alla clemenza della corte [-o< (non mi bannate vero ? =D> ... ) O_/
"Non farei mai parte di un club che accettasse la mia iscrizione" (G. Marx)
Avatar utente
Foto Utenteclaudiocedrone
21,3k 4 7 9
Master EY
Master EY
 
Messaggi: 15303
Iscritto il: 18 gen 2012, 13:36

0
voti

[118] Re: Oscilloscopio cinese

Messaggioda Foto UtenteIsidoroKZ » 15 set 2016, 7:46

Mi sembra ragionevolmente giusto. Purtroppo non ho tempo di aggiungere nulla!
Per usare proficuamente un simulatore, bisogna sapere molta più elettronica di lui
Plug it in - it works better!
Il 555 sta all'elettronica come Arduino all'informatica! (entrambi loro malgrado)
Se volete risposte rispondete a tutte le mie domande
Avatar utente
Foto UtenteIsidoroKZ
121,2k 1 3 8
G.Master EY
G.Master EY
 
Messaggi: 21059
Iscritto il: 17 ott 2009, 0:00

0
voti

[119] Re: Oscilloscopio cinese

Messaggioda Foto Utentedadduni » 15 set 2016, 10:39


riprendo il disegno già postato da claudiocedrone e forse aggiungo un po di formule sempre sulla scia del ragionare sul virtual short.
Ipotesi:
-nei morsetti non entra corrente
- guadagno amplificatore infinito
V_{out}=A*V_{differenziale}=A*(V_+-V_-)
da cui V_{diff}=V_{out}/A =0 perché Vout è un valore finito mentre A abbiamo ipotizzato essere infinito. Da qui si spiega l'assunzione che i morsetti sono allo tesso potenziale: la tensione differenziale è nulla.

Se prendiamo l'amplificatore non invertente abbiamo la Resistenza Rx con ai suoi capi Vin e 0V (morsetto meno a massa).
I_x= \frac{V_{in}-V_-}{R_x}
Questa corrente Ix non può entrare nel morsetto - per ipotesi e quindi l'unico ramo con cui è collegato è Rf la caduta di tensione su Rf determina Vout ed è calocalta con la legge di ohm :)

Scusate se ho scritto cose banali per qualcuno e sono stato eccessivamente prolisso, ho pensato che a qualcuno che leggerà questo thread possa essere utile e interessante una spiegazione più matematica del perché di alcune assunzioni che si fanno. Se ritenete opportuno cancellate questo messaggio senza pietà non mi offendo mica :D
Davide
Avatar utente
Foto Utentedadduni
2.073 2 7 12
Expert EY
Expert EY
 
Messaggi: 1370
Iscritto il: 23 mag 2014, 16:26

4
voti

[120] Re: Oscilloscopio cinese

Messaggioda Foto UtenteBrunoValente » 15 set 2016, 15:42

claudiocedrone ha scritto:...ed ecco il perché del +1 nella formula del guadagno...


Anche a me sembra tutto giusto.

In pratica, se ti sai calcolare un partitore resistivo e se hai capito che il fine ultimo dell'operazionale è quello di riuscire ad annullare la tensione tra gli ingressi spostando opportunamente quella di uscita, di conseguenza non puoi non capire il perché di quel +1 nella formula.



Se all'ingresso del partitore in figura applichiamo la tensione Vb, allora in uscita troviamo una tensione Va, ovviamente di valore inferiore a Vb, quindi Vb è una causa e Va un effetto...sarebbe assurdo pensare che possa funzionare anche al contrario, cioè che applicando in uscita una tensione Va si possa generare in ingresso una tensione Vb maggiore di Va.

Un comportamento così assurdo nella realtà si può ottenere se ci si collegasse un operazionale.

Tornando al semplice partitore, per conoscere Va basta calcolare la corrente che scorre nelle due resistenze con la legge di Ohm.

I=\frac{V_{b}}{R_{1}+R_{2}}

ed applicarla di nuovo, al rovescio, alla sola R2

V_{a}=IR_{2}

quindi

V_{a}=V_{b}\frac{R_{2}}{R_{1}+R_{2}}

Se per assurdo il partitore fosse reversibile, cioè se applicando in uscita una tensione Va si potesse ottenere in ingresso una tensione pari a Vb, allora, per calcolare Vb, potremmo sfruttare ancora la stessa formula che abbiamo ricavato ma al contrario

V_{b}= V_{a}\frac{R_{1}+R_{2}}{R_{2}}

che si può anche scrivere

V_{b}=V_{a}\left (\frac{R_{1}}{R_{2}}+\frac{R_{2}}{R_{2}}  \right )

quindi anche

V_{b}=V_{a}\left (\frac{R_{1}}{R_{2}}+1  \right )

Che, guarda caso, è proprio la formula dell'amplificatore non invertente.

Infatti se colleghiamo un operazionale al nostro partitore in questo modo



Succede che l'operazionale, variando la tensione di uscita, fa in modo che che in uscita al partitore, cioè sull'ingresso invertente, vi sia una tensione di valore pari a quella dell'ingresso non invertente che vale Va, quindi che in ingresso al partitore, cioè in uscita dall'operazionale, vi sia una tensione di valore pari a Vb.

Quindi, con l'operazionale collegato, è come se il partitore fosse diventato reversibile: Se applicassimo una tensione Va all'uscita del partitore non avremmo modo di ottenere una tensione Vb maggiore di Va al suo ingresso ma se ad applicarla ci pensa invece l'operazionale allora diventa possibile.

Il tutto è vero solo se, come nel partitore di prima, R1 e R2 sono percorse dalla stessa identica corrente, cioè solo se nessuna corrente scorre nell'ingresso invertente ma in pratica gli operazionali approssimano molto bene questa condizione.

Anch'io sto trattando l'argomento banalmente ma so che questo è il modo migliore per far capire le cose a chi ha poche basi.
Avatar utente
Foto UtenteBrunoValente
39,6k 7 11 13
G.Master EY
G.Master EY
 
Messaggi: 7796
Iscritto il: 8 mag 2007, 14:48

PrecedenteProssimo

Torna a Elettronica generale

Chi c’è in linea

Visitano il forum: Nessuno e 168 ospiti