Timer cavalieri - Info

Elettronica lineare e digitale: didattica ed applicazioni

Moderatori: Foto Utentecarloc, Foto Utenteg.schgor, Foto UtenteBrunoValente, Foto UtenteIsidoroKZ

Avatar utente
Foto Utentemaxiteris
269 1 4 7
Sostenitore
Sostenitore
Messaggi: 702
Iscritto il: 11 apr 2012, 9:32
0
voti

[41] Re: Timer cavalieri - Info

Messaggioda Foto Utentemaxiteris » 11 mar 2017, 9:06

Ciao,
il diodo lo risolviamo subito, mancanza grafica...nei test l'ho gia usato...:

le altre segnalazioni le smarchiamo asap

Avatar utente
Foto Utentemaxiteris
269 1 4 7
Sostenitore
Sostenitore
Messaggi: 702
Iscritto il: 11 apr 2012, 9:32
0
voti

[42] Re: Timer cavalieri - Info

Messaggioda Foto Utentemaxiteris » 28 apr 2017, 14:56

Ciao,
in tanto ringrazio chi ha formattato il fcd, ora è molto piu leggibile.
Ragazzi dobbiamo procedere in quanto le ciliegie tra 20 giorni sono pronte.
A questo punto io dividerei le indicazioni in categorie:

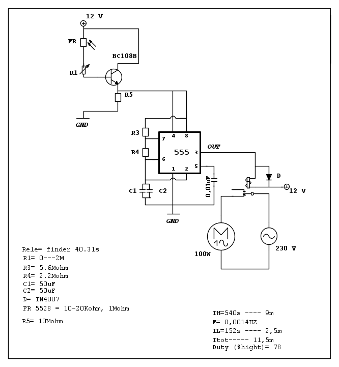
1. Schema circuitale
2. Dimensionamento dei componenti
3. Tipologia dei componenti


1. Schema circuitale

1.a
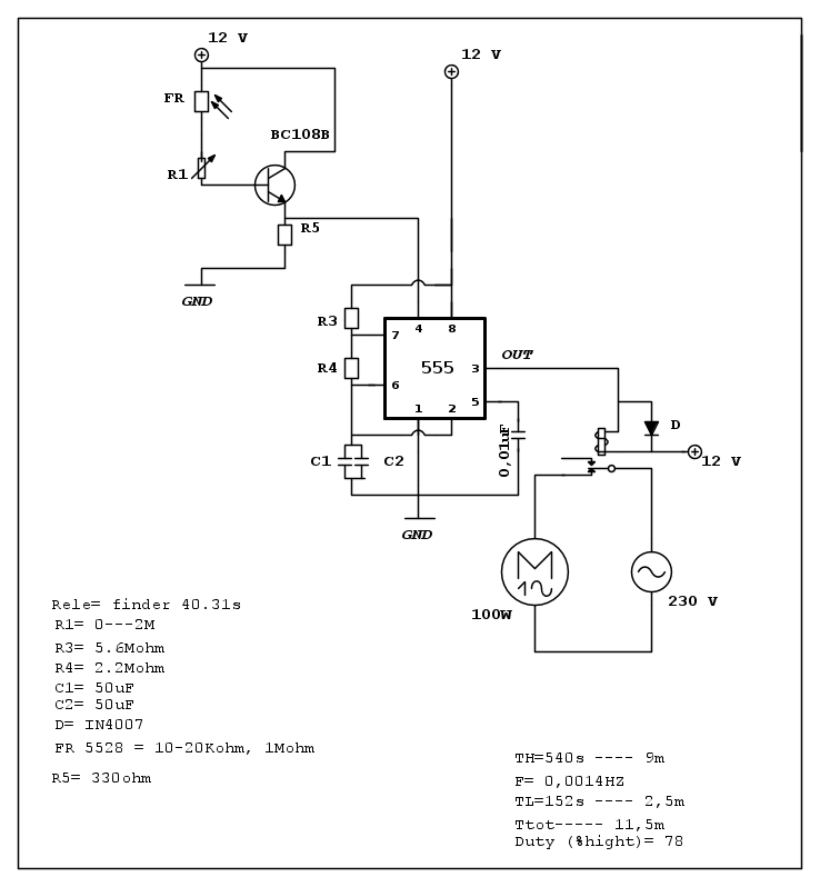
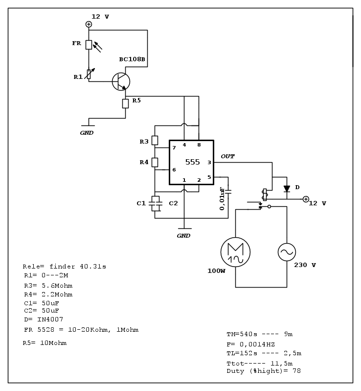
PietroBaima: Hai voglia... ne hai da vendere.
Però il circuito non mi piace per nulla. Il bc108 collegato al GND del 555 è veramente orribile, oltre a rendere il circuito poco affidabile.
Tradizionalmente bisognerebbe usare il pin 4 (Reset) .


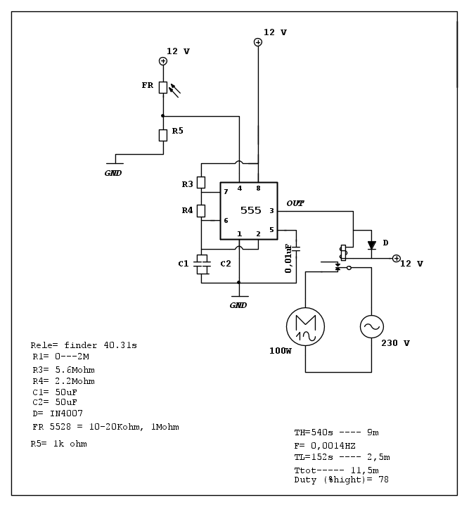
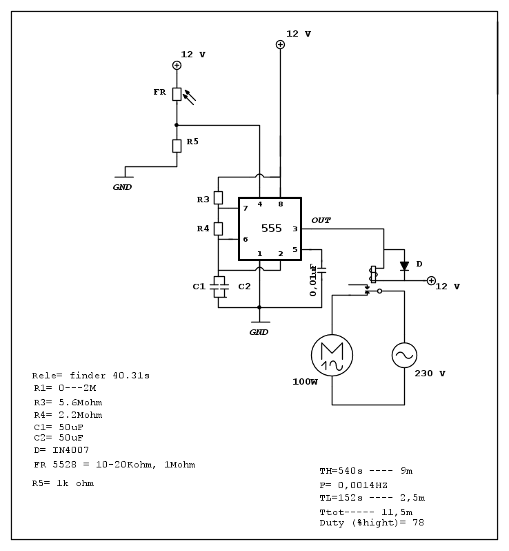
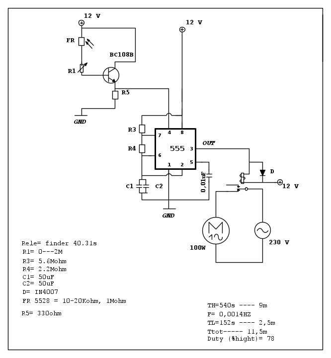
Ok uso il pin 4 come da fcd di seguito




1.b
1) un condensatore da 0,1uF in parallelo alla alimentazione del 555 per evitare eventuali spike che potrebbero resettare il 555 (a maggior ragione se C-mos)


Trattasi di circuto Snubber che io farei con un semplice RC che in continua circuito aperto in caso di spike conduce limitando la corrente sul 555. Non so se è proprio necessario in questo caso comunque la prudenza non basta. Occorre dimensionare tale circuito snubber. A prop di snubber ho notato in fase di test che circa il 30% delle volte solo in fase di rilassamento del rele si presentano dei falsi azionamenti del rele stesso. Credo sia dovuto proprio al carico induttivo. Ho provato qui ma senza esito:
viewtopic.php?f=1&t=29417


1.c
“”””maxiteris ha scritto:3. come dicevo il problema che vedevo era che a riposo il rele è attiva il motore... cosa che pero nei test non è successa...devo rivedere questa parte.
se il circuito è quello succede certamente, se non succede è perché o c'è un errore di montaggio oppure il motore è bruciato.””””


Utilizziamo il Tlow dell’uscita collegandola a Vcc facendo lavorare il pin 3 come sink. - OK

1.d
“””””Inoltre, con un 555 CMOS si potrebbe mettere la fotoresistenza fra il pin 4 e VDD e mettere 100k\Omega fra pin 4 e GND, come giustamente hai osservato.”””””


Non ho un Cmos

1.e
“”””maxiteris ha scritto:
4. poi vediamo l'aggiunta di un buzzer
Prima sarebbe opportuno progettare un circuito più affidabile.””””

Io metterei una campana in AC ma poi vediamo

2. Dimensionamento dei componenti

2.a
“””””Un'altra osservazione, la costante di tempo è troppo "tirata" Mohm con 470 uF.
Quando il condensatore invecchia, o fa caldo - freddo il periodo tende ad avere grandi instabilità fino ad arrivare al blocco del monostabile, e.g. quando la corrente di perdita supera la decina di uA”””””””


NE555 Thompson – Pag 7
Il produttore presenta il seguente grafico per Resistenza, Capacita e ferequenza in modalita astabile

1.JPG
1.JPG (29.38 KiB) Visto 3769 volte


Costruendo quindi il grafico come segue dovremmo avere dei valori che rendono piu stabile il multivibratore. Utilizzando il datasheet dell’ NE555 estendendo il grafico consigliato dal produttore si ricavano i seguenti valori

2.JPG


Quindi abbiamo:

C1= 100uF
R1+R2 ----10Mohm ---- 7Mohm, 3 Mohm --- 5.6 Mohm + 2.2 Mohm
T1= 540s ---- 9m
T2= 152s ---- 2,5m
Ttot= 692s ---- 11,5m
Duty = 78% -
Che dovrebbe garantire una migliore stabilità del circuito.
Ho trovato poi due condensatori al tantalio da 50uF l’uno che dovrebbero essere piu tsabili degli elettrolitici che i ceramici sono piu stabili ed inidcati per oscillatori.

2.b Corrente di fuga

Rimane pero aperta il discorso della Corrente di Fuga. Da alcuni datasheet mi sembra che in condizioni normali sia dell’ordine di qualche unità di uA. Ho trovato po in rete del materiale che questi grafici qualitativi che indicano l’andamento della corrente di fuga..

3.jpg


Infine poi ho trovato questa formula empirica per il calcolo della stessa che però porta a dei valori enormi gia senza considerare la temperatura come si vede.

If = 0,1xCxV+10

If = 0,06xCxV+50-----

If=0,06x100x12+50= If= 122 uA

Domande
• Se la corrente di carica a t0 è 1,2 uA e la corrente di fuga è 122uA come fa a caricarsi il condesantore?
• La formula è sbagliata???
• Quale limite massimo di corrente di fuga?


3. Tipologia dei componenti


3.a
“”””Ottimo punto. Andrebbe utilizzato un NE555-C e un (o due in parallelo) condensatore ceramico, tipo questo, per esempio.”””””””


Per ora trascuro questo gruppo in quanto per la difficolta di procurarmi i componenti a perche mi concentrerei su quelli gia disponbili che dovrebbere essere comunque suffcienti per l'obiettivo del circuito

Che faccio sbroglio qui http://www.electroyou.it/marco438/wiki/ ... -prototipo ????

Avatar utente
Foto UtentePietroBaima
90,7k 7 12 13
G.Master EY
G.Master EY
Messaggi: 12207
Iscritto il: 12 ago 2012, 1:20
Località: Londra
1
voti

[43] Re: Timer cavalieri - Info

Messaggioda Foto UtentePietroBaima » 28 apr 2017, 15:39

Generatore codice per articoli:
nomi
Sul forum:
[pigreco]=π
[ohm]=Ω
[quadrato]=²
[cubo]=³

Avatar utente
Foto Utentegammaci
3.838 2 4 6
Master
Master
Messaggi: 1040
Iscritto il: 27 feb 2014, 11:20
0
voti

[44] Re: Timer cavalieri - Info

Messaggioda Foto Utentegammaci » 28 apr 2017, 15:54

Domande
• Se la corrente di carica a t0 è 1,2 uA e la corrente di fuga è 122uA come fa a caricarsi il condesantore?
• La formula è sbagliata???


Non è sbagliata, il problema è proprio quello. Quando si fanno dei circuiti così tirati (anche quello di Pietro con i 50 + 50) occorre usare i condensatori giusti.
Tipo questo http://www.su-scon.com.tw/it/product/Bassa-corrente-di-perdita-RADIAL-Tipo-condensatore-elettrolitico-per-i-85-C/SA.html
Qui la I di fuga arriva a 0.4 uA
Da soli conosciamo alcune cose.
In molti ne conosceremo molte di più.

Avatar utente
Foto Utentemaxiteris
269 1 4 7
Sostenitore
Sostenitore
Messaggi: 702
Iscritto il: 11 apr 2012, 9:32
0
voti

[45] Re: Timer cavalieri - Info

Messaggioda Foto Utentemaxiteris » 3 mag 2017, 13:11

Non è sbagliata, il problema è proprio quello. Quando si fanno dei circuiti così tirati (anche quello di Pietro con i 50 + 50) occorre usare i condensatori giusti.



vediamo in seguito.


(anche quello di Pietro con i 50 + 50)

In effetti avevo pensato al PIN 4 su un partitore ma poi mi sono perso.
Il circuito di pietrorama funziona correttamente ma purtroppo non fa al caso mio in quanto con un D.C. di criva 80% e attivando il carico in Toff usando il PIN 4 il rele rimane eccitato con l'uscita bassa del 555 e quindi di notte il motore rimane acceso.
Quindi o si lavora sul partitore del 555 per portare il DC circa al 20% e lavorando in Ton oppure io ho pensato al seguente schema con interruttore sull'alimentazione.



Che ne dite?

Avatar utente
Foto Utentemaxiteris
269 1 4 7
Sostenitore
Sostenitore
Messaggi: 702
Iscritto il: 11 apr 2012, 9:32
0
voti

[46] Re: Timer cavalieri - Info

Messaggioda Foto Utentemaxiteris » 4 mag 2017, 14:31

Non è sbagliata, il problema è proprio quello. Quando si fanno dei circuiti così tirati (anche quello di Pietro con i 50 + 50) occorre usare i condensatori giusti.




vediamo in seguito.


Il tema deve essere approfondito e lo faremo in seguito... per ora però dato che viene ribatido in quanto progetto "tirato" :D accolgo la segnalazione.
Il probiema però è che ho difficoltà a reperire i condensatori a bassa perdita. Da me c è GBC ma mi hanno detto che si tratta di prodotti che non trattano.
Avete qualche idea economica e ragionevolmente rapida?

Grazie

Avatar utente
Foto Utentemaxiteris
269 1 4 7
Sostenitore
Sostenitore
Messaggi: 702
Iscritto il: 11 apr 2012, 9:32
0
voti

[47] Re: Timer cavalieri - Info

Messaggioda Foto Utentemaxiteris » 14 mag 2017, 20:23

Ciao Carissimi,
è con immenso piacere che comunico la realizzazione del "Dissuasore Crepuscolare Temporizzato per volatili",
nello specifico cornacchie maledette... anche detto speventapasseri 2.0 ?% :D
Ideato, progettato e realizzato da me medesimo con il prezione aiuto della community di Electroyou (mai piu senza... :cool: :cool: :cool: )
Di seguito lo schema, non saprei direi se il circuito è ortodosso oppura una mezza "porcata" sta di fatto che funziona...il punto ora da capire è quanto durerà:



Di seguito il prototipo:



Seguendo la bibbia
http://www.electroyou.it/marco438/wiki/ ... -prototipo
e perche no
http://www.electroyou.it/tardofreak/wik ... aboratorio
tutto è filato liscio anzi ha funzionato meglio che su breadboard chiaramente e come detto
....Date quindi tensione al circuito che, se avrete seguito tutte le regole, funzionera' "al primo colpo".


Di seguito immagii della realizzaione e installazione:

20170513_170511.jpg
20170513_170511.jpg (67.96 KiB) Visto 3595 volte


20170513_193311.jpg
20170513_193311.jpg (109.53 KiB) Visto 3595 volte


20170513_193325.jpg
20170513_193325.jpg (48.08 KiB) Visto 3595 volte




https://drive.google.com/open?id=0B4XiX ... Wg0OVlSOWs




https://drive.google.com/open?id=0B4XiX ... F83OFFCV28

https://drive.google.com/open?id=0B4XiX ... EZFZm95THc

https://drive.google.com/open?id=0B4XiX ... 1p1RTg4Tzg

https://drive.google.com/open?id=0B4XiX ... 1Q0cVRvOUk



E finalmente Hello World!!! Anzi Goodbye Cornacchie O_/

[youtube]https://youtu.be/nsv0WKX8wSw[/youtube]


Considerazione Finali
Alla fine usato un condesatore normale al tantalio da 50uF ma in effetti funzionava anche con due in parallelo da 50uF e qui si apre il tema della corrente di perdita che non mi torna...



Come detto bisognerà vedere quanto dura con le condizione ambientali differenti come 30-40°C però ho sentito dire che con il 555 si possono fare temporizzazioni fino a qualche ora.

Ringrazio tutti per la prezionsa collaborazione... al prossimo progetto (già in mente :D :D :D )
Ultima modifica di Foto Utentemaxiteris il 14 mag 2017, 21:08, modificato 1 volta in totale.

Avatar utente
Foto Utentemaxiteris
269 1 4 7
Sostenitore
Sostenitore
Messaggi: 702
Iscritto il: 11 apr 2012, 9:32
0
voti

[48] Re: Timer cavalieri - Info

Messaggioda Foto Utentemaxiteris » 15 mag 2017, 16:11

Ragazzi,
ma nessun commento, indicazione, suggerimento.
Tutto è perfettibile oppure ho trovato l'ottimo del rapporto benifici/costi?

Avatar utente
Foto Utenteclaudiocedrone
21,3k 4 7 9
Master EY
Master EY
Messaggi: 15312
Iscritto il: 18 gen 2012, 12:36
0
voti

[49] Re: Timer cavalieri - Info

Messaggioda Foto Utenteclaudiocedrone » 15 mag 2017, 23:51

:-) Ti accontento subito... il prototipo è ok tranne per il fatto che hai sprecato spazio e basetta inutilmente posizionando i componenti a chilometri l'uno dall'altro :mrgreen: potevi tranquilamente compattare il tutto ma sarà per la prossima volta (in generale è sempre bene che i collegamenti risultino il più corti possibile ;-) ); riguardo alle temporizzazioni lunghe col NE555, addirittura di ore*, se lo hai sentito hai sentito una str... amberia :mrgreen: (non ti ho risposto prima perché stavo cercando per linkartelo un vecchio thread in cui avevo chiesto delucidazioni in proposito ma non sono riuscito a ritrovarlo per cui vado a memoria), molto in soldoni per temporizzazioni lunghe occorrono condensatori di elevata capacità nella rete RC, caricare e scaricare condensatori di elevata capacità comporta lo scorrere di correnti di elevata intensità nel circuito interno all'integrato (in particolare nel transistor "preposto a tale scopo") il che lo stresserebbe provocandone più o meno prematuramente la morte. O_/

P.s. *Per temporizzazioni lunghe meglio... un timer a cavalieri :mrgreen:
"Non farei mai parte di un club che accettasse la mia iscrizione" (G. Marx)

Avatar utente
Foto Utentegammaci
3.838 2 4 6
Master
Master
Messaggi: 1040
Iscritto il: 27 feb 2014, 11:20
0
voti

[50] Re: Timer cavalieri - Info

Messaggioda Foto Utentegammaci » 16 mag 2017, 9:06

Forse questo
http://www.electroyou.it/forum/viewtopic.php?f=1&t=64239&start=10

Il problema è il transistor per la scarica del Ct che con quelle capacità tende a f....
Da soli conosciamo alcune cose.
In molti ne conosceremo molte di più.


Torna a “Elettronica generale”