Cos'è ElectroYou | Login Iscriviti

ElectroYou - la comunità dei professionisti del mondo elettrico

Generatore a Precessione Giroscopica

Leggi e teorie della fisica

Moderatori: Foto UtenteIsidoroKZ, Foto UtentePietroBaima, Foto UtenteIanero

1
voti

[161] Re: Generatore a Precessione Giroscopica

Messaggioda Foto UtenteBrunoValente » 30 ago 2017, 11:15

richiurci ha scritto:che si crei una coppia antagonista lo afferma Bruno, ma è vero?


Secondo me i casi sono due: o non leggete affatto quello che scrivo oppure scrivo il contrario di quello che vorrei far capire :(
Mi pare di averlo detto in tutti i modi che secondo me non si genera nessuna coppia antagonista sulla manovella che sia conseguenza del moto rotatorio del volano

Inizialmente credevo si generasse, anche se la cosa mi puzzava e non poco, ma dopo le prove fatte in garage mi sono ampiamente ricreduto
Avatar utente
Foto UtenteBrunoValente
39,6k 7 11 13
G.Master EY
G.Master EY
 
Messaggi: 7797
Iscritto il: 8 mag 2007, 14:48

0
voti

[162] Re: Generatore a Precessione Giroscopica

Messaggioda Foto UtentePietroBaima » 30 ago 2017, 11:17

Che io sia d'accordo con te è poco importante, che lo sia la meccanica classica lo è decisamente di più, quindi complimenti.

Tu proponevi un modello dove contasse solo il giroscopio e io ti dicevo che il bilancio energetico doveva essere all'esterno di quel sistema. Ti trovi?
Generatore codice per articoli:
nomi
Sul forum:
[pigreco]=π
[ohm]=Ω
[quadrato]=²
[cubo]=³
Avatar utente
Foto UtentePietroBaima
90,7k 7 12 13
G.Master EY
G.Master EY
 
Messaggi: 12207
Iscritto il: 12 ago 2012, 1:20
Località: Londra

0
voti

[163] Re: Generatore a Precessione Giroscopica

Messaggioda Foto Utenterichiurci » 30 ago 2017, 11:21

eh ma mi ero perso questa risposta...sto rileggendo con calma il 3d ma ho anche altro da fare...

Evidentemente le reazioni si scaricano sul piatto.

Insomma un altro esempio che il generatore non funziona: non puoi dare energia al sistema, quindi manco estrarne?

Bruno ma tu veramente hai quell'accrocchio in box? :shock: :shock: :ok:
Avatar utente
Foto Utenterichiurci
32,6k 7 11 13
G.Master EY
G.Master EY
 
Messaggi: 8801
Iscritto il: 2 apr 2013, 16:08

0
voti

[164] Re: Generatore a Precessione Giroscopica

Messaggioda Foto UtenteBrunoValente » 30 ago 2017, 11:22

PietroBaima ha scritto:Che io sia d'accordo con te è poco importante, che lo sia la meccanica classica lo è decisamente di più, quindi complimenti.

Scusa Pietro ma io tendo ad identificare te che sei il mio unico riferimento con la meccanica classica.. e non solo classica.
PietroBaima ha scritto:Tu proponevi un modello dove contasse solo il giroscopio e io ti dicevo che il bilancio energetico doveva essere all'esterno di quel sistema. Ti trovi?

Mi sa che mi devi imboccare un po' meglio, ho difficoltà a seguirti
Avatar utente
Foto UtenteBrunoValente
39,6k 7 11 13
G.Master EY
G.Master EY
 
Messaggi: 7797
Iscritto il: 8 mag 2007, 14:48

0
voti

[165] Re: Generatore a Precessione Giroscopica

Messaggioda Foto UtenteBrunoValente » 30 ago 2017, 11:26

richiurci ha scritto:Bruno ma tu veramente hai quell'accrocchio in box?

No ma ho fatto prove significative con la ruota della bicicletta che mi hanno fatto capire...almeno spero.

Ti conviene tornare indietro e leggere con calma dal [130] in avanti.
Avatar utente
Foto UtenteBrunoValente
39,6k 7 11 13
G.Master EY
G.Master EY
 
Messaggi: 7797
Iscritto il: 8 mag 2007, 14:48

0
voti

[166] Re: Generatore a Precessione Giroscopica

Messaggioda Foto UtenteBrunoValente » 30 ago 2017, 11:41

admin ha scritto:Non ci se ne accorge ma, per curvare a destra con la bici, non si gira subito il manubrio a destra, ma impercettibilmente prima lo si gira a sinistra, per cadere appunto verso destra, quindi lo si gira a destra per controbilanciare la caduta.

=D> Santa verità!
Avatar utente
Foto UtenteBrunoValente
39,6k 7 11 13
G.Master EY
G.Master EY
 
Messaggi: 7797
Iscritto il: 8 mag 2007, 14:48

0
voti

[167] Re: Generatore a Precessione Giroscopica

Messaggioda Foto UtentePietroBaima » 30 ago 2017, 12:00

Bruno, semplifichiamo.
Hai quel sistema da te idealmente costruito.

Il sistema non ha masse e non ha attriti. Ad un certo punto giri la manovella. Cedi energia al sistema? Se sì, dove va a finire?

Adesso invece il piano ha massa. Ad un certo punto giri la manovella. Cedi energia al sistema? Se sì, dove va a finire?
Generatore codice per articoli:
nomi
Sul forum:
[pigreco]=π
[ohm]=Ω
[quadrato]=²
[cubo]=³
Avatar utente
Foto UtentePietroBaima
90,7k 7 12 13
G.Master EY
G.Master EY
 
Messaggi: 12207
Iscritto il: 12 ago 2012, 1:20
Località: Londra

0
voti

[168] Re: Generatore a Precessione Giroscopica

Messaggioda Foto UtenteBrunoValente » 30 ago 2017, 12:20

Se non avesse massa (massa nulla anche del volano) credo di non sbagliare se dico che non cederei alcuna energia al sistema perché riuscirei a portarlo in rotazione senza applicare alcuna coppia.

Se invece sia il volano che il piatto avessero massa allora, per portare il tutto in rotazione con una certa velocità angolare, tramite la manovella dovrei applicare una coppia al piatto e compiere un lavoro che, una volta raggiunta una certa velocità, ritroverei sotto forma di energia rotazionale del piatto + volano attorno all'asse del piatto. Alla fine converto il mio lavoro in energia cinetica.

La conclusione a cui sono giunto è che in entrambi i casi, nel primo per ovvi motivi, nel secondo meno ovvi, l'eventuale velocità di rotazione del volano attorno al proprio asse, durante tutta la fase acceleratoria del piatto, dovrebbe rimanere invariata ed essere ininfluente.

Insomma la mia conclusione è che piatto e volano non si parlano.
Avatar utente
Foto UtenteBrunoValente
39,6k 7 11 13
G.Master EY
G.Master EY
 
Messaggi: 7797
Iscritto il: 8 mag 2007, 14:48

3
voti

[169] Re: Generatore a Precessione Giroscopica

Messaggioda Foto Utenterichiurci » 30 ago 2017, 14:25

Eccomi...ho impiegato la pausa mensa per fare qualche disegnino anch'io...

Ovviamente grazie a Fidocad ho potuto copiare le opere altrui e limitarmi a modificarle :mrgreen:

Grazie EY!

Dunque.... spero di non dire castronerie...

Prima i risultati dell'esperimento replicato in box, con la ruota tenuta tra le mani. Devo dire che nel frattempo, leggendo il 3d, se ne potrebbero fare altri, compreso allestire la "pluritrottola di Bruno"...ma le cose si complicano ...

Tornando alla bici, ovviamente ora è chiaro anche a me che l'effetto stabilizzante dovuto al giroscopio è piccolo.
Per dire fino a quale velocità sia effettivamente trascurabile bisognerebbe fare conti dettagliati però.

Io posso solo illustrare in due disegni quando riscontrato sperimentalmente, ovviamente ritengo sia congruente con la teoria e quanto detto da Bruno, ma c'è un caso in più.

Immaginate di tenere la ruota mentre gira con l'asse orizzontale (insomma come sulla bici ma sollevata da terra).
Se non si cambia l'orientamento dell'asse rispetto alle stelle fisse (spostamenti solo traslatori, in verticale o orizzontale), come da teoria non si sentono forze stabilizzanti.

Se invece si simula la rotazione del manubrio a destra (frecce rosse in figura) l'effetto giroscopico genera due forze che tendono a sollevare il lato destro dellaruota (e quindi della bici) e quindi si oppongono all' "entrata in curva" (frecce blu)

Questo sembra un effetto simile alla forza centripeta, e costringerebbe il pilota a uno sforzo leggermente maggiore per "buttar giù" il velocipede


L'altro possibile movimento è il duale del precedente: se inclino la ruota (o la bici) verso destra (frecce rosse) l'effetto giroscopico genera una coppia di forze (blu) che farebbe ruotare leggermente il manubrio nella direzione giusta


questo sembrerebbe aiutare leggermente ad "inseguire" col manubrio l'entrata in curva, e compenserebbe in piccola parte l'effetto stabilizzante della forcella (che di solito ha avancorsa positiva e tende a raddrizzarsi anche da ferma, come spiegato in altri link)

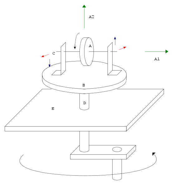
La multritrottola di Bruno se non ho sbagliato l'esperimento sarebbe soggetta, in seguito alla rotazione imposta (frecce rosse) a una coppia di forze, generata dal giroscopio (frecce blu), che verrebbe scaricata integralmente su tavolo e cuscinetto:


essendo perpendicolari al moto non compiono lavoro e non necessitano di sforzo da parte di Bruno.

Ma la messa in rotazione del marchingegno necessita di un lavoro pari all'aumento di energia cinetica rotazionale, non attorno all'asse (verde) del giroscopio A1 ma intorno all'asse di rotazione A2.
Questo anche con masse del marchingegno nulle, perché immagino non vogliamo ipotizzare nulla anche la massa del giroscopio
Avatar utente
Foto Utenterichiurci
32,6k 7 11 13
G.Master EY
G.Master EY
 
Messaggi: 8801
Iscritto il: 2 apr 2013, 16:08

3
voti

[170] Re: Generatore a Precessione Giroscopica

Messaggioda Foto UtenteBrunoValente » 30 ago 2017, 14:54

Hai detto molto bene le stesse cose che sto cercando disperatamente di dire io da un po' e pare non ci stia riuscendo.

Per quanto mi riguarda ti sei ampiamente riscattato dalla disattenzione mostrata prima e hai recuperato alla grande, :mrgreen: 110 e lode!! =D>

Pausa mensa spesa molto bene :mrgreen:
Avatar utente
Foto UtenteBrunoValente
39,6k 7 11 13
G.Master EY
G.Master EY
 
Messaggi: 7797
Iscritto il: 8 mag 2007, 14:48

PrecedenteProssimo

Torna a Fisica generale

Chi c’è in linea

Visitano il forum: Nessuno e 9 ospiti