Prima dicci cos'hai provato a fare ... qui non siamo alla CEPU

... e dunque ? ... nulla ?

dai coraggio che non ti mettiamo il voto

...è scappato ... come al solito ...

BTW ... odio chi scrive R1=R2= R3= ... =R756 ... e poi = R


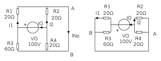
- cepu 1.png (20.88 KiB) Osservato 3089 volte
Intanto che arriva Simone ... risolviamo

...poi quando lo vedo arrivare cancelliamo
a) notiamo che il generatore vede una resistenza pari a 2R/3
b) ai suoi capi, la V1 sarà di conseguenza pari a V1=2IG R/3
c) la VDB sarà la metà VDB=V1/2=IG R/3
d) la VAB=VDB+uV1=2RIG(1/2+u)/3
=============
Per la RAB equivalente, dopo aver spento IG, colleghiamo un generatore J=1 A ai morsetti A e B, con spinta verso l'alto ... in questo modo la VAB che troveremo sarà anche pari alla Req
a) la corrente entrando in A e passando attraverso il generatore controllato, troverà a sinistra una resistenza pari a 2R/3
b)la VDB sarà pari a 1x2R/3=2R/3
c)la V1=VCB sarà la metà V1=R/3
e) la VAB=Req=VCB+uV1=R(2+u)/3