In un impianto elettrico civile,
si interrompe la linea L1 con un interruttore S1 per far spegnere ed accendere un corpo illuminante.
Nello stesso impianto elettrico se desidero comandarlo con il computer, sostituisco l'interruttore
con un relè comandato dal computer.
Domanda
Come fare per comandare lo stesso corpo illuminante sia dall'interruttore S1 che dal computer?
grazie sempre
interruttore e relè comandato dal PC
28 messaggi
• Pagina 1 di 3 • 1, 2, 3
1
voti
Il problema del comando dell'accensione di una lampada
da 2 posizioni diverse si risolve con l'impiego di 2 deviatori
(al posto dell'interruttore)
Nel caso in esame però non basta sostituire
un deviatore con un relè comandato dal PC,
se non informando il computer dello stato
della lampada e comandando il relè in conseguenza.
da 2 posizioni diverse si risolve con l'impiego di 2 deviatori
(al posto dell'interruttore)
Nel caso in esame però non basta sostituire
un deviatore con un relè comandato dal PC,
se non informando il computer dello stato
della lampada e comandando il relè in conseguenza.
0
voti
Sì, seguendo le indicazioni di
g.schgor. Ma osserva anche che:
Ciao.
Paolo.
g,schgor ha scritto:Nel caso in esame però non basta sostituire
un deviatore con un relè comandato dal PC,
se non informando il computer dello stato
della lampada e comandando il relè in conseguenza
Ciao.
Paolo.
"Houston, Tranquillity Base here. The Eagle has landed." - Neil A.Armstrong
-------------------------------------------------------------
PIC Experience - http://www.picexperience.it
-------------------------------------------------------------
PIC Experience - http://www.picexperience.it
-

Paolino
32,6k 8 12 13 - G.Master EY

- Messaggi: 4226
- Iscritto il: 20 gen 2006, 11:42
- Località: Vigevano (PV)
0
voti
possiamo scendere un po' sui dettagli delle connessioni?
desideriamo accendere la lampada sia dall'interruttore classico che dal computer. Il sia è dovuto al fatto che se il computer si guasta resta funzionante l'interruttore classico
desideriamo accendere la lampada sia dall'interruttore classico che dal computer. Il sia è dovuto al fatto che se il computer si guasta resta funzionante l'interruttore classico
0
voti
Ma a quali connessioni ti riferisci: dalla scheda PC al punto luce? Ma la scheda ce l'hai e monta già il relè? Se sì, indicaci di che tipo di scheda si tratta.
Inoltre: se il computer si guasta e la luce era spenta, potrebbe capitare che "guastandosi" il relè cambi di stato e la luce si accenda. Questo lo hai considerato come effetto collaterale?
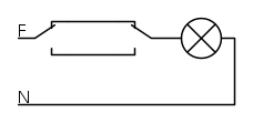
Oltre allo schema del post numero [2] non capisco cosa altro ti serva: il deviatore di destra è, ad esempio, quello previsto a muro (azionato manualmente) mentre quello di sinistra è il contatto di scambio del relè della tua scheda.
Ciao.
Paolo.
Inoltre: se il computer si guasta e la luce era spenta, potrebbe capitare che "guastandosi" il relè cambi di stato e la luce si accenda. Questo lo hai considerato come effetto collaterale?
Oltre allo schema del post numero [2] non capisco cosa altro ti serva: il deviatore di destra è, ad esempio, quello previsto a muro (azionato manualmente) mentre quello di sinistra è il contatto di scambio del relè della tua scheda.
Ciao.
Paolo.
"Houston, Tranquillity Base here. The Eagle has landed." - Neil A.Armstrong
-------------------------------------------------------------
PIC Experience - http://www.picexperience.it
-------------------------------------------------------------
PIC Experience - http://www.picexperience.it
-

Paolino
32,6k 8 12 13 - G.Master EY

- Messaggi: 4226
- Iscritto il: 20 gen 2006, 11:42
- Località: Vigevano (PV)
0
voti
carmen976 ha scritto:dettagli delle connessioni?
Il circuito rappresenta le connessioni fra i 2 deviatori
per accensione /spegnimento della lampada da 2
posizioni distinte.
La mia osservazione è che mentre la commutazione manuale
dei deviatori è ovvia, non così è per il PC, in quanto
la posizione del contatto di scambio non determina
di per sé un preciso stato (acceso/spento) della lampada
stessa: ogni commutazione non fa altro che invertire
lo stato.
0
voti
Ok ora ho capito cosa mi aveva già detto g.schgor già nella prima parte della prima risposta.
mi rimane il dubbio di come informare il PC della lampada accesa, escludendo una fotoresistenza.
mi rimane il dubbio di come informare il PC della lampada accesa, escludendo una fotoresistenza.
28 messaggi
• Pagina 1 di 3 • 1, 2, 3
Chi c’è in linea
Visitano il forum: Nessuno e 4 ospiti

Elettrotecnica e non solo (admin)
Un gatto tra gli elettroni (IsidoroKZ)
Esperienza e simulazioni (g.schgor)
Moleskine di un idraulico (RenzoDF)
Il Blog di ElectroYou (webmaster)
Idee microcontrollate (TardoFreak)
PICcoli grandi PICMicro (Paolino)
Il blog elettrico di carloc (carloc)
DirtEYblooog (dirtydeeds)
Di tutto... un po' (jordan20)
AK47 (lillo)
Esperienze elettroniche (marco438)
Telecomunicazioni musicali (clavicordo)
Automazione ed Elettronica (gustavo)
Direttive per la sicurezza (ErnestoCappelletti)
EYnfo dall'Alaska (mir)
Apriamo il quadro! (attilio)
H7-25 (asdf)
Passione Elettrica (massimob)
Elettroni a spasso (guidob)
Bloguerra (guerra)


