Non voglio complicarmi la vita ma semplicemente capire. Capire il più possibile dato che non ho l'opportunità di frequentare una scuola che mi insegni la materia. Non che voglia diventare un ingegnere, ma solo farmi un certa cultura per quanto base possa essere.
Poi, per tornare sul tester, il fatto è che misura la tensione solo dopo aver aggiunto il filino di rame. Mi chiedo semplicemente se allora senza questa "riparazione" è da considerarsi guasto per quanto concerne le letture di intensità.
Alimentatore non funzionante.
1
voti
Ma prima di aprirlo pasticciando in giro, funzionava? Possibile che un prodotto che è da decenni sul mercato, arrivi proprio a te un esemplare in cui devi aggiungere un filino per le misure di tensione??
Se non ti piace quel tester comprane un altro, e usalo senza aprirlo!
Non è guardando e pasticciando a caso il circuito di un tester che impari qualcosa!
Se non ti piace quel tester comprane un altro, e usalo senza aprirlo!
Non è guardando e pasticciando a caso il circuito di un tester che impari qualcosa!
-

FedericoSibona
5.022 3 5 8 - Master

- Messaggi: 3951
- Iscritto il: 19 mar 2013, 11:43
0
voti
Funzionava finché non l'ho messo alla prova misurando l'intensità di corrente di una sveglia di auto a 12V. Il valore era basso e non penso di aver bruciato volontariamente qualcosa.
1
voti
MMyers560 ha scritto:Funzionava finché non l'ho messo alla prova misurando l'intensità di corrente di una sveglia di auto a 12 V. Il valore era basso e non penso di aver bruciato volontariamente qualcosa.
Dipende dal "come" hai fatto quella misura.
Mettere le mani dove non si deve senza alcuna cognizione ed andare per tentativi senza sapere cosa si sta facendo non e' il modo migliore per imparare.
Invece di perdere tempo a smontare e rompere tester, mettiti a fare qualcosa di costruttivo, con l'aiuto del forum, che ti permetta da cominciare a capire come le cose funzionano; poi, con il tempo, potrai arrivare a comprendere il funzionamento di un tester.
marco
2
voti
Vorrei capire perché:
- facendo una misura si brucia il fusibile che non c'è
- ma poi, facendo questa misura, la corrente, dopo un po', è andata a zero?
- come hai fatto per misurare la corrente della sveglia di auto, puoi riportare i collegamenti da te effettuati? (cos'è una sveglia di auto? sveglia le auto? boh)
- ripristinando un fusibile che non c'è il tester torna a funzionare, mah
- trovando foto su altri siti dell'interno di quel tester si vede che il fusibile c'è, seppur saldato direttamente alla scheda
- ma sul tuo tester manca: se un tester nuovo non funziona lo riporto indietro, non mi metto a far modifiche
mah... sarà che sto invecchiando, ma non ci capisco una mazza di questa storia...
delucidatemi, please
Pietro
- facendo una misura si brucia il fusibile che non c'è
- ma poi, facendo questa misura, la corrente, dopo un po', è andata a zero?
- come hai fatto per misurare la corrente della sveglia di auto, puoi riportare i collegamenti da te effettuati? (cos'è una sveglia di auto? sveglia le auto? boh)
- ripristinando un fusibile che non c'è il tester torna a funzionare, mah
- trovando foto su altri siti dell'interno di quel tester si vede che il fusibile c'è, seppur saldato direttamente alla scheda
- ma sul tuo tester manca: se un tester nuovo non funziona lo riporto indietro, non mi metto a far modifiche
mah... sarà che sto invecchiando, ma non ci capisco una mazza di questa storia...
delucidatemi, please
Pietro
-

PietroBaima
90,7k 7 12 13 - G.Master EY

- Messaggi: 12207
- Iscritto il: 12 ago 2012, 1:20
- Località: Londra
1
voti
PietroBaima ha scritto: ... delucidatemi, please... Pietro

"Non farei mai parte di un club che accettasse la mia iscrizione" (G. Marx)
-

claudiocedrone
21,3k 4 7 9 - Master EY

- Messaggi: 15303
- Iscritto il: 18 gen 2012, 13:36
0
voti
Allora avevi brucitato anche il Pantec allo stesso modo? Misurando la corrente come se fosse tensione? E poi il tester non era dunque difettoso, lo hai bruciato, (fusibile) appena preso in mano!
E quell'ampolla vista in foto ha più l'aria di essere un fusibile cinese. Non avrebbe alcun senso come lampada al neon.
E quell'ampolla vista in foto ha più l'aria di essere un fusibile cinese. Non avrebbe alcun senso come lampada al neon.
-

Candy
32,5k 7 10 13 - CRU - Account cancellato su Richiesta utente
- Messaggi: 10123
- Iscritto il: 14 giu 2010, 22:54
0
voti
1°- So come si misura l'intensità di corrente.
2°- Facendo la misura la corrente è andata a zero solo dopo aver allontanato i puntali.
3°- Per sveglia auto intendevo orologio, scusate.
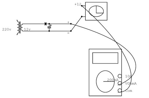
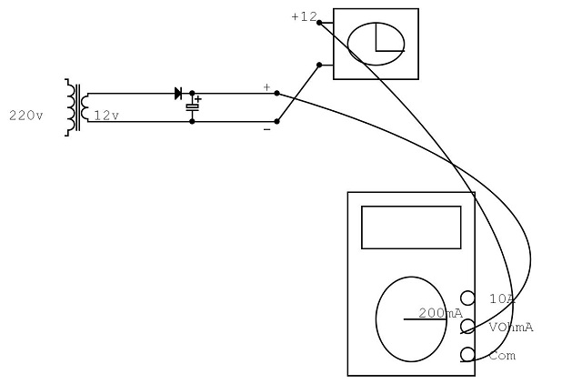
4°- Ecco il collegamento:
2°- Facendo la misura la corrente è andata a zero solo dopo aver allontanato i puntali.
3°- Per sveglia auto intendevo orologio, scusate.
4°- Ecco il collegamento:
Torna a Costruzione, riparazione, riutilizzo
Chi c’è in linea
Visitano il forum: Nessuno e 41 ospiti

Elettrotecnica e non solo (admin)
Un gatto tra gli elettroni (IsidoroKZ)
Esperienza e simulazioni (g.schgor)
Moleskine di un idraulico (RenzoDF)
Il Blog di ElectroYou (webmaster)
Idee microcontrollate (TardoFreak)
PICcoli grandi PICMicro (Paolino)
Il blog elettrico di carloc (carloc)
DirtEYblooog (dirtydeeds)
Di tutto... un po' (jordan20)
AK47 (lillo)
Esperienze elettroniche (marco438)
Telecomunicazioni musicali (clavicordo)
Automazione ed Elettronica (gustavo)
Direttive per la sicurezza (ErnestoCappelletti)
EYnfo dall'Alaska (mir)
Apriamo il quadro! (attilio)
H7-25 (asdf)
Passione Elettrica (massimob)
Elettroni a spasso (guidob)
Bloguerra (guerra)



pigreco]=π