Cos'è ElectroYou | Login Iscriviti

ElectroYou - la comunità dei professionisti del mondo elettrico

Einstein - Teoria relatività

Leggi e teorie della fisica

Moderatori: Foto UtenteIsidoroKZ, Foto UtentePietroBaima, Foto UtenteIanero

1
voti

[41] Re: Einstein - Teoria relatività

Messaggioda Foto UtenteDirtyDeeds » 4 ott 2011, 20:52

:ok:

BrunoValente ha scritto:Però nel diagramma dello spazio-tempo mi sarei aspettato una rotazione degli assi...


Uno può pensare di considerare non lo spazio-tempo x-ct, ma quello x-\text{i}ct, con l'asse temporale immaginario. Poiché x^2-(ct)^2 è invariante si ha

x^2+(\text{i}ct)^2 = (x^\prime)^2+(\text{i}ct^\prime)^2

L'espressione sopra ci dice che è invariante il modulo del "vettore" (x,\text{i}ct): una trasformazione che lascia invariati i moduli dei vettori è una rotazione. Quindi la trasformazione di Lorentz può essere vista come una rotazione nello spazio-tempo x-\text{i}ct.

Questo modo di vedere le cose è stato però ormai abbandonato da anni, perché non porta nessun vantaggio e non ha analogo nella relatività generale.
It's a sin to write sin instead of \sin (Anonimo).
...'cos you know that cos ain't \cos, right?
You won't get a sexy tan if you write tan in lieu of \tan.
Take a log for a fireplace, but don't take log for \logarithm.
Avatar utente
Foto UtenteDirtyDeeds
55,9k 7 11 13
G.Master EY
G.Master EY
 
Messaggi: 7012
Iscritto il: 13 apr 2010, 16:13
Località: Somewhere in nowhere

0
voti

[42] Re: Einstein - Teoria relatività

Messaggioda Foto UtenteBrunoValente » 4 ott 2011, 21:24

Ok capito, ancora grazie :-)
Approfitto ancora per chiedere aiuto per la soluzione del seguente guazzabuglio che va nella direzione dei quesiti posti da Foto UtentePiercarlo.



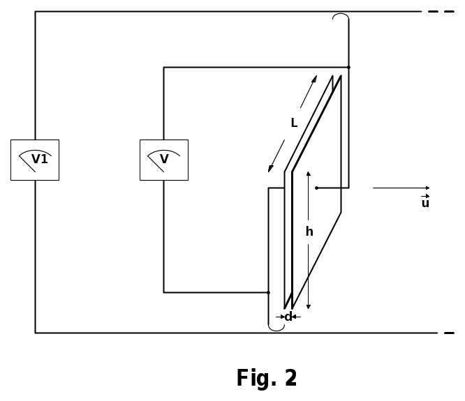
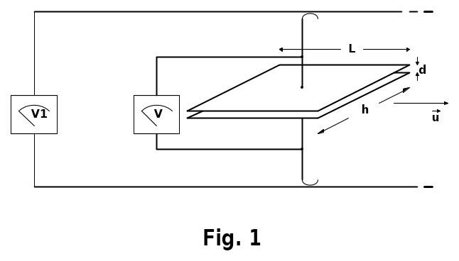
Consideriamo il condensatore di figura 1 carico alla tensione V letta sui voltmetri V e V1.
La disposizione è tale che il condensatore può essere mosso nella direzione parallela al lato L. Il voltmetro V è solidale al condensatore e, durante il movimento si sposta con esso mentre il voltmetro V1 è solidale al laboratorio e quindi rimane fermo ma, anche durante il movimento, è in grado di misurare la tensione del condensatore attraverso due contatti striscianti visibili in figura.
La capacità del condensatore vale

\[C=\frac{\varepsilon _{0}Lh}{d}\]

L’energia elettrica accumulata nel condensatore fermo rispetto al laboratorio vale

\[E=\frac{Q^{2}}{2C}\]

Se ora imprimiamo al condensatore una velocità u , la lunghezza L delle armature, misurata dal sistema del laboratorio, appare contratta e vale

\[L_{1}=L\sqrt{\ 1-\frac{u^{2}}{c^{2}} \ }\]

e quindi la capacità del condensatore in moto vista nel sistema del laboratorio vale

\[C_{1}=C\sqrt{\ 1-\frac{u^{2}}{c^{2}} \ }\]

Se ora sostituiamo il valore di C1 nel calcolo dell’energia otteniamo il valore dell’energia accumulata nel condensatore come appare nel riferimento del laboratorio:

\[E_{1}=\frac{Q^{2}}{2C_{1}}=\frac{E}{\sqrt{1-\frac{u^{2}}{c^{2}}}}\]

Per basse velocità possiamo approssimare a

\[E_{1}=\frac{E}{1-\frac{u^{2}}{2c^{2}}}\]

e possiamo ancora approssimare a

\[E_{1}=E\left ( 1+\frac{u^{2}}{c^{2}} \right )=E+\frac{Eu^{2}}{2c^{2}}\]


Ora, considerando che la massa dell’energia elettrica accumulata nel condensatore a riposo vale

\[m_{e}=\frac{E}{c^{2}}\]

si può scrivere

\[E_{1}=E+\frac{m_{e}u^{2}}{2}\]

e si può vedere chiaramente che il termine \[\frac{m_{e}u^{2}}{2}\] è l’energia meccanica spesa per portare la massa elettrica del condensatore alla velocità u che, rispetto al riferimento del laboratorio, si è convertita in energia elettrica e, sarei portato a dire, che questo risultato conferma la validità dei ragionamenti fatti.
Si può ora calcolare il valore della tensione letta dal voltmetro fermo V1

\[V_{1}=\sqrt{\frac{2E_{1}}{C_{1}}}=\frac{V}{\sqrt{1-\frac{u^{2}}{c^{2}}}}\]

che appare aumentata rispetto alla tensione propria del condensatore letta dal voltmetro V




Le cose però vanno diversamente se si orienta il condensatore con le armature ortogonali alla direzione del movimento come in figura 2: questa volta la quota che si contrae è d e, contrariamente a prima, ne consegue un aumento della capacità e quindi, facendo i conti di prima, si giunge ad un risultato diverso dove addirittura l’energia elettrica accumulata appare diminuita nel riferimento del laboratorio. Come è possibile?
La mia spiegazione, per nulla convincente, è la seguente: nel ragionamento fatto nel primo caso ho considerato implicitamente invariante la carica sulle armature Q e quindi ho eseguito i calcoli usando lo stesso valore nei due sistemi di riferimento. In effetti ora, dopo le difficoltà trovate con la disposizione di figura 2, credo che questo non sia sempre lecito: credo che il nocciolo della questione stia nel fatto che ad essere relativisticamente invariante è la carica totale dell’oggetto in movimento e non necessariamente la distribuzione della carica all’interno dell’oggetto che invece può non essere relativisticamente invariante.
Nel nostro caso la carica totale del condensatore vale zero, infatti l’integrale del campo elettrico all’esterno del condensatore su di una superficie chiusa e ferma rispetto al laboratorio e che contiene interamente il condensatore è nullo e pertanto deve continuare ad essere nullo anche con il condensatore in movimento. Questo, pero, non esclude che la carica sulle armature possa apparire variata a causa del movimento.
Eseguendo i calcoli in questa nuova ottica si ottiene che ad essere invariante, nel secondo caso, è la tensione tra le armature mentre la carica, misurata nel sistema del laboratorio, appare aumentata del fattore \[\frac{1}{\sqrt{1-\frac{u^{2}}{c^{2}}}}\]
A questo punto, visto che la tensione nel primo caso e la carica nel secondo aumentano di un fattore che dipende solo dalla velocità del sistema in movimento e non dalla capacità del condensatore, azzarderei la seguente generalizzazione dei risultati raggiunti:
1) In due sistemi di riferimento in movimento relativo a velocità u la distribuzione del potenziale elettrico in direzione ortogonale al movimento dell’uno appare aumentata del fattore \[\frac{1}{\sqrt{1-\frac{u^{2}}{c^{2}}}}\] se misurata dall’altro e la distribuzione della carica elettrica in direzione ortogonale al movimento appare relativisticamente invariante.
2) In due sistemi di riferimento in movimento relativo a velocità u la distribuzione della carica elettrica in direzione parallela al movimento dell’uno appare aumentata del fattore \[\frac{1}{\sqrt{1-\frac{u^{2}}{c^{2}}}}\] se misurata dall’altro e la distribuzione del potenziale elettrico in direzione parallela al movimento appare relativisticamente invariante.
Quale valore leggiamo sul voltmetro V1 di figura 2 con il condensatore in movimento? Sarei portato a dire che leggiamo lo stesso valore di V ma non sono proprio sicuro: i conduttori che collegano le armature ai contatti striscianti si estendono ortogonalmente alla direzione del moto e per questo motivo ho qualche dubbio/difficoltà.
Sono quasi certo di aver sbagliato tutto. Gradirei una conferma
Avatar utente
Foto UtenteBrunoValente
39,6k 7 11 13
G.Master EY
G.Master EY
 
Messaggi: 7796
Iscritto il: 8 mag 2007, 14:48

1
voti

[43] Re: Einstein - Teoria relatività

Messaggioda Foto UtenteDirtyDeeds » 4 ott 2011, 23:10

Nella figura 1 disegnata da Foto UtenteBrunoValente, nel sistema di riferimento solidale con il condensatore c'è solo un campo elettrico. Nel sistema del laboratorio, invece, ci sono sia un campo elettrico che un campo magnetico che viaggiano con il condensatore. La cosa può essere vista in due modi: o tenendo conto delle trasformazioni dei campi (quasi analoghe a quelle di Lorentz) che nel sistema del laboratorio fanno nascere un campo magnetico, oppure tenendo conto del fatto che nel sistema del laboratorio c'è una corrente dovuta alle cariche in moto sulle armature del condensatore. Con un po' di semplificazioni, probabilmente si riesce a determinare la tensione letta dal voltmetro nel laboratorio, ma una situazione appena più complessa, p.es. con il condensatore che si scarica su una resistenza, non saprei proprio come trattarla.

Come ho detto, non avevo ancora risposto ai quesiti di Piercarlo perché non ero riuscito ad immaginarmi una situazione circuitale abbastanza semplice (ma che riflettesse ancora i quesiti posti) da poter essere veramente analizzata con la teoria della relatività (quella poca che conosco, poi) senza correre il rischio di prendere cantonate super... luminali :-) Adesso come adesso, purtroppo, non vedo la luce in fondo al tunnel :(
It's a sin to write sin instead of \sin (Anonimo).
...'cos you know that cos ain't \cos, right?
You won't get a sexy tan if you write tan in lieu of \tan.
Take a log for a fireplace, but don't take log for \logarithm.
Avatar utente
Foto UtenteDirtyDeeds
55,9k 7 11 13
G.Master EY
G.Master EY
 
Messaggi: 7012
Iscritto il: 13 apr 2010, 16:13
Località: Somewhere in nowhere

0
voti

[44] Re: Einstein - Teoria relatività

Messaggioda Foto UtentePiercarlo » 4 ott 2011, 23:27

DirtyDeeds ha scritto: Come ho detto, non avevo ancora risposto ai quesiti di Piercarlo perché non ero riuscito ad immaginarmi una situazione circuitale abbastanza semplice (ma che riflettesse ancora i quesiti posti) da poter essere veramente analizzata con la teoria della relatività (quella poca che conosco, poi) senza correre il rischio di prendere cantonate super... luminali :-) Adesso come adesso, purtroppo, non vedo la luce in fondo al tunnel :(


Beh, visto che non tutto può essere semplificato fino all'osso potresti magari provare a spiegare le cose semplificandole di meno e lasciando a noi un po' di sforzo di buona volontà. Mi rendo conto che già così non è sicuramente chiedere poco.... Magari si potrebbe anche cogliere l'occasione per spiegare un'affermazione che lessi una volta di Feynman ("gli effetti magnetici sono un effetto relativistico del movimento di cariche elettriche") che, se non l'ho letta male, non riesco a visualizzare cosa intende dire. Io pensavo che il campo magnetico fosse un effetto del movimento tout court delle cariche e amen...

CIao
Piercarlo
Avatar utente
Foto UtentePiercarlo
24,0k 6 11 13
G.Master EY
G.Master EY
 
Messaggi: 6720
Iscritto il: 30 mar 2010, 19:23
Località: Milano

1
voti

[45] Re: Einstein - Teoria relatività

Messaggioda Foto UtenteDirtyDeeds » 4 ott 2011, 23:40

Piercarlo ha scritto:Beh, visto che non tutto può essere semplificato fino all'osso potresti magari provare a spiegare le cose semplificandole di meno


State sovrastimando le mie conoscenze: semplificando di meno, non saprei proprio cosa rispondere :( I problemi reali che si risolvono con la RR sono schematicamente molto semplici e molti sono già un bel casino così. Io, poi, non sono neanche un "relativista": le mie conoscenze in merito sono piuttosto elementari (so la "A" dell'ABC, diciamo :-) ).

Piercarlo ha scritto:Magari si potrebbe anche cogliere l'occasione per spiegare un'affermazione che lessi una volta di Feynman ("gli effetti magnetici sono un effetto relativistico del movimento di cariche elettriche")


Ok, questa è ancora nella "A" :-) poi scrivo qualcosa...
It's a sin to write sin instead of \sin (Anonimo).
...'cos you know that cos ain't \cos, right?
You won't get a sexy tan if you write tan in lieu of \tan.
Take a log for a fireplace, but don't take log for \logarithm.
Avatar utente
Foto UtenteDirtyDeeds
55,9k 7 11 13
G.Master EY
G.Master EY
 
Messaggi: 7012
Iscritto il: 13 apr 2010, 16:13
Località: Somewhere in nowhere

0
voti

[46] Re: Einstein - Teoria relatività

Messaggioda Foto UtentePiercarlo » 4 ott 2011, 23:43

Beh, almeno tu sei alla "A", noi siamo appena alla gambetta della "A" ;-)

Ciao
Piercarlo
Avatar utente
Foto UtentePiercarlo
24,0k 6 11 13
G.Master EY
G.Master EY
 
Messaggi: 6720
Iscritto il: 30 mar 2010, 19:23
Località: Milano

0
voti

[47] Re: Einstein - Teoria relatività

Messaggioda Foto UtenteBrunoValente » 5 ott 2011, 12:19

Due parole per spiegare il senso del "guazzabuglio".
Uno dei traguardi della relatività è l'aver dimostrato il dualismo massa energia \[E=mc^{2}\]. Cosa significa in ultima analisi? Dovrebbe significare che l'energia, sotto qualsiasi forma, manifesta una inerzia al moto e un peso gravitazionale allo stesso modo di una massa meccanica in relazione ad essa secondo quella formula.
Insomma un condensatore carico dovrebbe manifestare una massa maggiore dello stesso condensatore scarico e la quota di massa "speciale" dovuta all'energia elettrica accumulata deve manifestare effetti inerziali e ponderali identici ad una massa "normale". Questo, correggetemi se sbaglio, è attinente all'autoinduzione che è una conseguenza dell'inerzia delle cariche.
L'inerzia delle cariche era già nota prima dell'avvento della relatività e se ne attribuiva la causa al campo magnetico: si dimostra infatti che per accelerare una carica si deve spendere dell'energia meccanica che nel processo si converte completamente in energia del campo magnetico associato alla carica in movimento. Quando la carica viene arrestata essa manifesta una inerzia, cioè manifesta una forza che si oppone al rallentamento della velocità e il lavoro negativo a cui è sottoposto il dispositivo di frenatura altro non è che il recupero dell'energia del campo magnetico che tende a ridursi man mano che la carica rallenta fino ad estinguersi a carica ferma. Questo "effetto inerzia" è quindi identico a quello delle normali masse in meccanica.
Ci si dovrebbe chiedere a questo punto perché mai questa "inerzia artificiale" dovrebbe anche essere soggetta agli effetti gravitazionali, cioè manifestare un peso.
Vi è da notare che l'intensità del campo magnetico dipende dal sistema di riferimento: in un riferimento solidale con la carica in moto (a velocità costante) non c'è alcun campo magnetico.
Mi pare fu proprio questa “non attinenza ai fenomeni” che spinse Einstein a cercare una spiegazione diversa, che non fosse dipendente dal riferimento scelto.
Da quello che ho capito della questione, la relatività ha reinterpretato il fenomeno non attribuendo più gli effetti dipendenti dalla velocità di una carica alla presenza di un campo magnetico: grazie alla introduzione delle deformazioni dello spazio-tempo laddove è presente il campo elettrico in movimento, è stato possibile dare ragione di tutti gli effetti associati alla velocità, senza che vi fosse più la necessità di dover ricorrere al campo magnetico per spiegarli.
Insomma, con la relatività il ruolo del campo magnetico viene sminuito da “realtà fisica” ad “artifizio contabile”.
I fisici del passato furono costretti ad introdurlo per giustificare quegli effetti della corrente elettrica che in fin dei conti sono l’unico effetto relativistico osservabile normalmente in laboratorio.
Con la relatività, quindi, gli effetti magnetici non sono dovuti alla presenza di un campo magnetico ma si tratterebbe ancora di effetti del campo elettrico:li produce il campo elettrico in movimento che, per chi sta fermo, si estende in uno spazio-tempo non euclideo modificato secondo le trasformazioni di Lorenz.
In questa nuova ottica l’inerzia al moto delle cariche si spiegherebbe tenendo conto del fatto che il campo elettrico in condizione di totale simmetria (carica ferma) è nelle condizioni di minima energia. Alla perdita di simmetria dello spaziotempo che si ha a causa della velocità, l’energia associata al campo elettrico aumenta ed è quindi in questo incremento dell’energia del campo elettrico e non in quella del campo magnetico che si converte l’energia meccanica fornita nei processi dove l’inerzia si manifesta.

Tutto questo è ben messo in evidenza nel Berkeley, il libro di fisica dove ho tentato di approfondire questi argomenti.
In quel libro c’è un intero capitolo dove fa vedere come si deformano i campi elettrici a causa della velocità delle cariche e come gli effetti di queste deformazioni siano identici a quelli prima attribuiti al campo magnetico.
Quello che non ho capito è perché in quel testo non si dice mai esplicitamente che il campo magnetico, con l'avvento della relatività, è andato in pensione, pur apparendo questa la naturale conseguenza di quello che c’è scritto. Poi, stranamente, nel capitolo successivo il campo magnetico ricompare in tutta la sua realtà e addirittura applica le trasformazioni di Lorenz anche ad esso. Sarei molto grato a Foto UtenteDirtyDeeds o a chiunque volesse chiarirmi.
Tornando al mio “guazzabuglio”, esso vuole essere un tentativo per mettere in evidenza che la quota di massa dovuta all’energia elettrica di un condensatore carico subisce le stesse vicende di una massa meccanica. Come ho fatto vedere, quando il condensatore è disposto con le facce parallele al vettore velocità i conti tornano perfettamente, invece con le facce disposte ortogonalmente no.


DirtyDeeds ha scritto:Nella figura 1 disegnata da Foto UtenteBrunoValente, nel sistema di riferimento solidale con il condensatore c'è solo un campo elettrico. Nel sistema del laboratorio, invece, ci sono sia un campo elettrico che un campo magnetico che viaggiano con il condensatore. La cosa può essere vista in due modi: o tenendo conto delle trasformazioni dei campi (quasi analoghe a quelle di Lorentz) che nel sistema del laboratorio fanno nascere un campo magnetico, oppure tenendo conto del fatto che nel sistema del laboratorio c'è una corrente dovuta alle cariche in moto sulle armature del condensatore.(



Per quanto ho detto sopra, non ho considerato il campo magnetico del primo caso. Secondo me, lo avrei dovuto considerare solo se avessi voluto trattare il problema classicamente (senza relatività). Così i conti tornano, se invece avessi anche tenuto conto del campo magnetico e dell’energia ad esso associata, avrei ottenuto un eccesso di massa, quindi un risultato sbagliato.
Nel secondo caso i conti non tornano: appare addirittura un decremento di massa con l’aumento della velocità!?!. Anche volendo trattare il problema classicamente comunque non vi sarebbe un campo magnetico e quindi non comparirebbe un incremento di massa all'aumentare della velocità.
So che è stato da tempo abolito il concetto di massa variante ed è stato introdotto il concetto di massa invariante, quindi so di essermi espresso male ma spero sia comunque chiaro il senso del ragionamento.

Sarò grato a chiunque vorrà aiutarmi a capire o vorrà smentirmi o semplicemente vorrà dire la sua.
Avatar utente
Foto UtenteBrunoValente
39,6k 7 11 13
G.Master EY
G.Master EY
 
Messaggi: 7796
Iscritto il: 8 mag 2007, 14:48

1
voti

[48] Re: Einstein - Teoria relatività

Messaggioda Foto UtenteDirtyDeeds » 6 ott 2011, 10:40

Risponderò un po' per volta perché non è un discorso semplice.

BrunoValente ha scritto:Dovrebbe significare che l'energia, sotto qualsiasi forma, manifesta una inerzia al moto e un peso gravitazionale allo stesso modo di una massa meccanica in relazione ad essa secondo quella formula.


In realtà no, non significa quello. L'energia E = mc^2 è l'energia a riposo di una particella di massa m. Il fatto che in un sistema di particelle interagenti (come per esempio un condensatore carico) l'energia interna partecipi al moto del centro di massa del sistema (e quindi si manifesti come un'inerzia al moto) non discende da E = mc^2, ma da teoremi non banali di dinamica relativistica.

Per ciò che riguarda il peso, è meglio lasciare fuori qualunque discorso relativo ai fenomeni gravitazionali: la legge della gravitazione di Newton non fa parte della relatività ristretta e la RR non tratta fenomeni gravitazionali. L'unica forza classica trattabile nell'ambito della RR è la forza di Lorentz.

BrunoValente ha scritto:Questo, correggetemi se sbaglio, è attinente all'autoinduzione che è una conseguenza dell'inerzia delle cariche.


Qui non ho capito cosa intendi per autoinduzione.
It's a sin to write sin instead of \sin (Anonimo).
...'cos you know that cos ain't \cos, right?
You won't get a sexy tan if you write tan in lieu of \tan.
Take a log for a fireplace, but don't take log for \logarithm.
Avatar utente
Foto UtenteDirtyDeeds
55,9k 7 11 13
G.Master EY
G.Master EY
 
Messaggi: 7012
Iscritto il: 13 apr 2010, 16:13
Località: Somewhere in nowhere

0
voti

[49] Re: Einstein - Teoria relatività

Messaggioda Foto UtenteBrunoValente » 6 ott 2011, 16:14

DirtyDeeds ha scritto:Risponderò un po' per volta perché non è un discorso semplice.

BrunoValente ha scritto:Dovrebbe significare che l'energia, sotto qualsiasi forma, manifesta una inerzia al moto e un peso gravitazionale allo stesso modo di una massa meccanica in relazione ad essa secondo quella formula.


In realtà no, non significa quello. L'energia E = mc^2 è l'energia a riposo di una particella di massa m. Il fatto che in un sistema di particelle interagenti (come per esempio un condensatore carico) l'energia interna partecipi al moto del centro di massa del sistema (e quindi si manifesti come un'inerzia al moto) non discende da E = mc^2, ma da teoremi non banali di dinamica relativistica.

Ne prendo atto, però, dimmi se sbaglio, se all'interno di un contenitore ho della massa e dell'energia, tipico caso è il recipiente pieno di gas ad una certa temperatura, se misuro la massa del contenitore, accelerandolo oppure pesandolo, dovrei ottenere un valore comunque dato dalla somma della massa a riposo delle molecole del gas più la massa dell'energia dovuta alla loro velocità che indipendentemente da tutto dovrà valere m= E/c^2.
Insomma voglio dire che quel calcolo non dovrebbe dare un risultato diverso: una massa è una massa e basta, se ad una certa quantità di energia corrisponde una certa quantità di massa credo non si possa prescindere dal fatto che quella quantità di energia abbia una inerzia e un peso identici a quelli che avrebbe la quantità di massa a cui equivale.
Con il condensatore e l'energia elettrica le cose dovrebbero andare nello stesso modo: se il condensatore è carico di una certa quantità di energia, la sua massa (inerzia e/o peso) dovrebbe aumentare obbedendo a quella formula. Ti prego non smontarmi questa convinzione altrimenti ci rimango male :cry:

DirtyDeeds ha scritto:Per ciò che riguarda il peso, è meglio lasciare fuori qualunque discorso relativo ai fenomeni gravitazionali: la legge della gravitazione di Newton non fa parte della relatività ristretta e la RR non tratta fenomeni gravitazionali. L'unica forza classica trattabile nell'ambito della RR è la forza di Lorentz.

Anche qui, non credo si possa prescindere dal fatto che se un qualsiasi oggetto, sia esso costituito da massa, da energia o da entrambi, presenta una inerzia compatibile con la sua massa totale, allora per forza deve anche avere un peso compatibile con la sua massa totale: altrimenti si trasgredirebbe il principio di equivalenza.
Non voglio trattare fenomeni gravitazionali servendomi della RR senza ricorrere alla RG, voglio solo mettere in evidenza che non ho bisogno di farlo proprio perché sono sicuro che se con la RR trovo una quantità di massa posso stare tranquillo che avrà anche un peso corrispondente.

DirtyDeeds ha scritto:
BrunoValente ha scritto:Questo, correggetemi se sbaglio, è attinente all'autoinduzione che è una conseguenza dell'inerzia delle cariche.


Qui non ho capito cosa intendi per autoinduzione.

Ho voluto solo accennare al fatto che nel fenomeno dell'autoinduzione dove appare una inerzia della corrente che scorre nell'induttanza, se si cercano le ragioni intime che generano quell'effetto si arriva all'inerzia delle cariche e alla relatività.
Avatar utente
Foto UtenteBrunoValente
39,6k 7 11 13
G.Master EY
G.Master EY
 
Messaggi: 7796
Iscritto il: 8 mag 2007, 14:48

1
voti

[50] Re: Einstein - Teoria relatività

Messaggioda Foto UtenteDirtyDeeds » 6 ott 2011, 22:23

BrunoValente ha scritto:Ti prego non smontarmi questa convinzione altrimenti ci rimango male :cry:


Non ti smonto quella convinzione, ciò che ho voluto dire è che la sua motivazione, per un sistema di particelle interagenti, non è così immediata come l'equazione E = mc^2 potrebbe fare sembrare. Nei testi elementari la derivazione di quell'equazione è fatta per una particella libera. Nel caso più generale di sistemi di particelle interagenti a distanza, il fatto che E sia proprio l'energia totale del sistema, comprendente anche l'energia di interazione, non è ovvio (sicuramente non lo è per me), ma va dimostrato: credo che la dimostrazione di questo fatto (che non sto negando, eh!) vada pescata nella teoria relativistica dei campi. Siccome non sono competente in quel campo, appena riesco, cercherò di chiedere a chi ne sa più di me :-)

BrunoValente ha scritto:Ho voluto solo accennare al fatto che nel fenomeno dell'autoinduzione dove appare una inerzia della corrente che scorre nell'induttanza, se si cercano le ragioni intime che generano quell'effetto si arriva all'inerzia delle cariche e alla relatività.


Che io sappia, no: dove hai trovato questo collegamento?
It's a sin to write sin instead of \sin (Anonimo).
...'cos you know that cos ain't \cos, right?
You won't get a sexy tan if you write tan in lieu of \tan.
Take a log for a fireplace, but don't take log for \logarithm.
Avatar utente
Foto UtenteDirtyDeeds
55,9k 7 11 13
G.Master EY
G.Master EY
 
Messaggi: 7012
Iscritto il: 13 apr 2010, 16:13
Località: Somewhere in nowhere

PrecedenteProssimo

Torna a Fisica generale

Chi c’è in linea

Visitano il forum: Nessuno e 17 ospiti