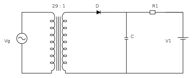
I cui dati sono :
, 
:
, 
,
, 
e mi viene chiesto di calcolare la corrente massima nel diodo. Tale
la avrò nell'istante in cui il condensatore ricomincia a caricarsi ossia a
dove
è il tempo di carica del condensatore. Ora la formula che mi riporta il sedra per la
è :
(Tale formula è calcolata per un circuito in cui al catodo del diodo ci sono una resistenza e un condensatore in parallelo tra
)Per usare la formula dovrei conoscere la
del condensatore, che calcolo attraverso la
. Tale delta la ricavo imponendo che tensione di scarica del condensatore e l'ingesso che vede ai suoi capi siano uguali nell'istante T- delta T, cioè :
La delta T che mi risulta è
che mi da un ripple sul condensatore di
.Focalizzando sulla corrente del condensatore si ottiene una
dalla formula di prima.Provando invece a fare i conti a mano per la corrente nel condensatore, ossia valutando :
![C\frac{d}{dt}[V_p \cos(\omega t)-Von]_{T-\Delta T} C\frac{d}{dt}[V_p \cos(\omega t)-Von]_{T-\Delta T}](/forum/latexrender/pictures/79a3201e27b13c2d14a33da568b6ed4c.png)
ottengo :
(*)che è una differenza di circa il 50%. Ora andando avanti con la (*) mi ritrovo (letteralmente parlando) la stessa formula del sedra. Non capisco da dove nasca questa differenza di valori ! (problema n°1)
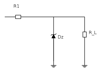
In seguito ai capi del condensatore si scollega il primo carico e si collega il seguente :
I dati dello zener sono
e 
Di tale circuito mi viene chiesto di calcolare la minima
tale che lo zener regoli in tensione. Ora per rispondere al quesito è giusto valutare il circuito nel momento in cui la corrente è MINIMA ? ossia imporre il diodo in zener con corrente nulla, tensione sul condensatore minima (quella calcolata nel punto precedente dal momento che la tensione di zener è la stessa di V1), calcolare la corrente in
e imporre che la
mi dia una caduta di 4 volt ?Grazie a chi avrà la pazienza di rispondere

Elettrotecnica e non solo (admin)
Un gatto tra gli elettroni (IsidoroKZ)
Esperienza e simulazioni (g.schgor)
Moleskine di un idraulico (RenzoDF)
Il Blog di ElectroYou (webmaster)
Idee microcontrollate (TardoFreak)
PICcoli grandi PICMicro (Paolino)
Il blog elettrico di carloc (carloc)
DirtEYblooog (dirtydeeds)
Di tutto... un po' (jordan20)
AK47 (lillo)
Esperienze elettroniche (marco438)
Telecomunicazioni musicali (clavicordo)
Automazione ed Elettronica (gustavo)
Direttive per la sicurezza (ErnestoCappelletti)
EYnfo dall'Alaska (mir)
Apriamo il quadro! (attilio)
H7-25 (asdf)
Passione Elettrica (massimob)
Elettroni a spasso (guidob)
Bloguerra (guerra)





?
e rispetto alla R1 la costante di tempo del circuito non vari di molto.
(*)
(**)
(***)
![C\frac{d}{dt}[V_p \cos(\omega t)]_{T-\Delta T} C\frac{d}{dt}[V_p \cos(\omega t)]_{T-\Delta T}](/forum/latexrender/pictures/a4c313bb474db8b9372cfae291a9f61a.png)
. Quindi è corretto questo procedimento ! Mi chiedo cosa non vada nell'altro;![C\frac{d}{dt}[V_p \cos(\omega t)-V_{on}]_{T-\Delta T} C\frac{d}{dt}[V_p \cos(\omega t)-V_{on}]_{T-\Delta T}](/forum/latexrender/pictures/f9e3909172b10d1caa2d98fcc925f306.png)
! Questo dovrebbe essere il conto preciso. Grazie ancora