Già che ci siamo mi risolvo questo dubbio una volta per tutte.. se fosse stato un gruppo 2 il potenziale di terra viene elevato o no? Mettendo il negativo nel nodo collettore ed il positivo sul lavandino senza collegamenti di terra aggiuntivi..
Grazie ancora!
Collegamenti equipotenziali nei locali ad uso medico
Moderatori:
sebago,
MASSIMO-G,
lillo,
Mike
32 messaggi
• Pagina 3 di 4 • 1, 2, 3, 4
0
voti
Mattesan ha scritto:Buongiorno a tutti! Sono nuovo di questo forum.
Avrei bisogno se possibile di alcuni chiarimenti!
Nel collegamento equipotenziale supplementare di un'ambulatorio medico va collegato anche il punto luce, sotto i 2,5 m di altezza?
Mike ha scritto:Non è obbligatorio.
perché dici che non è obbligatorio? Al nodo vanno collegate anche le masse entranti nella zona paziente, ovvio se la plafoniera è in Classe II....
1
voti
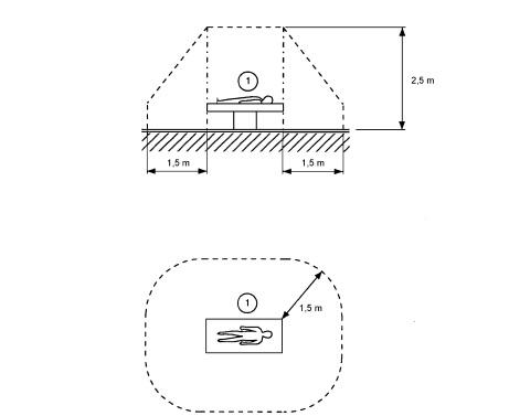
Definizione della zona paziente;
naturalmente vale solo se è fissa.
naturalmente vale solo se è fissa.
- Allegati
-
- Immagine.jpg (20.43 KiB) Osservato 5111 volte
La saggezza non può essere trasmessa. La saggezza che un saggio tenta di trasmettere suona sempre simile alla follia.
Hermann Hesse - Siddharta
Hermann Hesse - Siddharta
0
voti
Buonasera. Riprendo questo post. Il direttore dei lavori, per delle sale di terapia intensiva, quindi gruppo2, dice che la struttura del cartongesso va collegata a terra perché hanno fatto la misura ed è inferiore a 0'5mohm , io ho provato a spiegare che non è una massa estranea ma non ci sono riuscito ed inoltre sulla guida dei locali medici di abb, indicano come masse estranee la struttura delle pareti in cartongesso. Secondo voi ha ragione ABB?
-

arabino1983
568 3 4 8 - Sostenitore

- Messaggi: 2000
- Iscritto il: 30 ott 2009, 18:28
0
voti
Allego la pagina della guida abb
-

arabino1983
568 3 4 8 - Sostenitore

- Messaggi: 2000
- Iscritto il: 30 ott 2009, 18:28
0
voti
Visto che siamo tornati in argomento aggiungerei se possibile (o apro un thread nuovo se no) un quesito circa i 200ohm ed i 1000ohm di limite per essere considerata massa estranea.
A me sembrano un controsenso i 200ohm posto che per i gruppo 2 è 500kohm e per gli ordinari 1kohm.
Mi sarei atteso 20kohm, 200kohm...
pareri?
A me sembrano un controsenso i 200ohm posto che per i gruppo 2 è 500kohm e per gli ordinari 1kohm.
Mi sarei atteso 20kohm, 200kohm...
pareri?
0
voti
arabino1983 ha scritto: Secondo voi ha ragione ABB?
Fuori discussione che su interruttori automatici ecc. siano autorevoli, ma a meno che non sia un ambiente per zombi e/o per scimmie che camminano sui muri, mi sembra da escludersi sia massa estranea.
Ti hanno mostrato come si fa a toccarla? E soprattutto come introduca dall'esterno un potenziale (di terra)?
E perché poi quel che sembra un termosifone non dovrebbe essere massa estranea? Che forse più della struttura del cartongesso può introdurre dall'esterno potenziali in particolare quello di terra?
32 messaggi
• Pagina 3 di 4 • 1, 2, 3, 4
Torna a Impianti, sicurezza e quadristica
Chi c’è in linea
Visitano il forum: Google Adsense [Bot] e 31 ospiti

Elettrotecnica e non solo (admin)
Un gatto tra gli elettroni (IsidoroKZ)
Esperienza e simulazioni (g.schgor)
Moleskine di un idraulico (RenzoDF)
Il Blog di ElectroYou (webmaster)
Idee microcontrollate (TardoFreak)
PICcoli grandi PICMicro (Paolino)
Il blog elettrico di carloc (carloc)
DirtEYblooog (dirtydeeds)
Di tutto... un po' (jordan20)
AK47 (lillo)
Esperienze elettroniche (marco438)
Telecomunicazioni musicali (clavicordo)
Automazione ed Elettronica (gustavo)
Direttive per la sicurezza (ErnestoCappelletti)
EYnfo dall'Alaska (mir)
Apriamo il quadro! (attilio)
H7-25 (asdf)
Passione Elettrica (massimob)
Elettroni a spasso (guidob)
Bloguerra (guerra)





