So che esistono delle centrali che gestiscono tutto come dico io, ma non mi sono d'aiuto perché sono poco economici.
Automazione con relè e wifi
5 messaggi
• Pagina 1 di 1
0
voti
Salve a tutti ragazzi e grazie anticipatamente per le risposte che mi darete
.. Allora sto progettando un sistema di automazione con dei relè.. Ho trovato questa scheda molto economica sul web. Tramite il wifi riesco a comandare da remoto gli apparecchi. Il problema sta nel riuscire ad interfacciare il controllo remoto a quello manuale. Mi spiego meglio: Vorrei controllare gli apparecchi anche attraverso dei semplicissimi pulsanti da muro e per farlo avevo pensato di connettere la bobina del relè ad un interruttore. Bene. La luce fisicamente si accenderebbe, ma il controllo remoto non lo rileva, e se provassi ad azionare le bobine esternamente è come se non rispondessero, perché giustamente hanno un input dal comando manuale. Avevo pensato a delle porte logiche, ma il problema su indicato non si risolve ugualmente. Come posso risolvere?
So che esistono delle centrali che gestiscono tutto come dico io, ma non mi sono d'aiuto perché sono poco economici.
So che esistono delle centrali che gestiscono tutto come dico io, ma non mi sono d'aiuto perché sono poco economici.
-

futuredj95
11 1 5 - New entry

- Messaggi: 96
- Iscritto il: 29 dic 2010, 22:04
1
voti
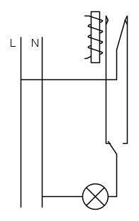
Se col WiFi comandi relè con contatti di scambio e al posto
degli interruttori manuali metti deviatori, puoi realizzare
il comando di un'utenza con lo schema di comando da
2 punti
Il problema però è che in tal modo inverti la situazione esistente
(se è spenta l'accendi e viceversa).
Per un comando di sicura accensione o sicuro spegnimento,
(locale o remoto) occorre stabilire una priorità fra i comandi.
Per esempio dare la possibilità di comando WiFi solo
se in manuale è spenta:
degli interruttori manuali metti deviatori, puoi realizzare
il comando di un'utenza con lo schema di comando da
2 punti
Il problema però è che in tal modo inverti la situazione esistente
(se è spenta l'accendi e viceversa).
Per un comando di sicura accensione o sicuro spegnimento,
(locale o remoto) occorre stabilire una priorità fra i comandi.
Per esempio dare la possibilità di comando WiFi solo
se in manuale è spenta:
1
voti
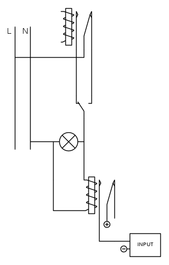
Grazie come sempre Sig. Schgor.. immagino che lei intenda qualcosa del genere:
La priorità non credo vada bene, perché se lasciassi una luce aperta e volessi spegnerla da remoto, non potrei.
Ho notato che nella scheda vi sono degli input, che rilevano il passaggio di corrente se inseriti in parallelo con il circuito. Avevo pensato di sfruttarli come conferma di accensione/spegnimento. Ma gli input sono a bassa tensione (Max 12v).. Devo per forza aggiungere altri relè?
La priorità non credo vada bene, perché se lasciassi una luce aperta e volessi spegnerla da remoto, non potrei.
Ho notato che nella scheda vi sono degli input, che rilevano il passaggio di corrente se inseriti in parallelo con il circuito. Avevo pensato di sfruttarli come conferma di accensione/spegnimento. Ma gli input sono a bassa tensione (Max 12v).. Devo per forza aggiungere altri relè?
-

futuredj95
11 1 5 - New entry

- Messaggi: 96
- Iscritto il: 29 dic 2010, 22:04
0
voti
futuredj95 ha scritto:Devo per forza aggiungere altri relè?
Si, ma questo risolve il problema delle priorità (infatti in remoto
si conosce la situazione dell'utenza)
0
voti
Appena costruirò il progetto lo posterò sul blog per renderlo fruibile a tutti. Grazie ancora dell'aiuto 
-

futuredj95
11 1 5 - New entry

- Messaggi: 96
- Iscritto il: 29 dic 2010, 22:04
5 messaggi
• Pagina 1 di 1
Chi c’è in linea
Visitano il forum: Nessuno e 5 ospiti

Elettrotecnica e non solo (admin)
Un gatto tra gli elettroni (IsidoroKZ)
Esperienza e simulazioni (g.schgor)
Moleskine di un idraulico (RenzoDF)
Il Blog di ElectroYou (webmaster)
Idee microcontrollate (TardoFreak)
PICcoli grandi PICMicro (Paolino)
Il blog elettrico di carloc (carloc)
DirtEYblooog (dirtydeeds)
Di tutto... un po' (jordan20)
AK47 (lillo)
Esperienze elettroniche (marco438)
Telecomunicazioni musicali (clavicordo)
Automazione ed Elettronica (gustavo)
Direttive per la sicurezza (ErnestoCappelletti)
EYnfo dall'Alaska (mir)
Apriamo il quadro! (attilio)
H7-25 (asdf)
Passione Elettrica (massimob)
Elettroni a spasso (guidob)
Bloguerra (guerra)



